Запчасти Volvo 4300B 4300B 2277 Equipment

Схема запчастей Volvo 4300B 4300B - 2277 Equipment
FIT
1:1
100%

Артикул

Название

Примечание

Количество

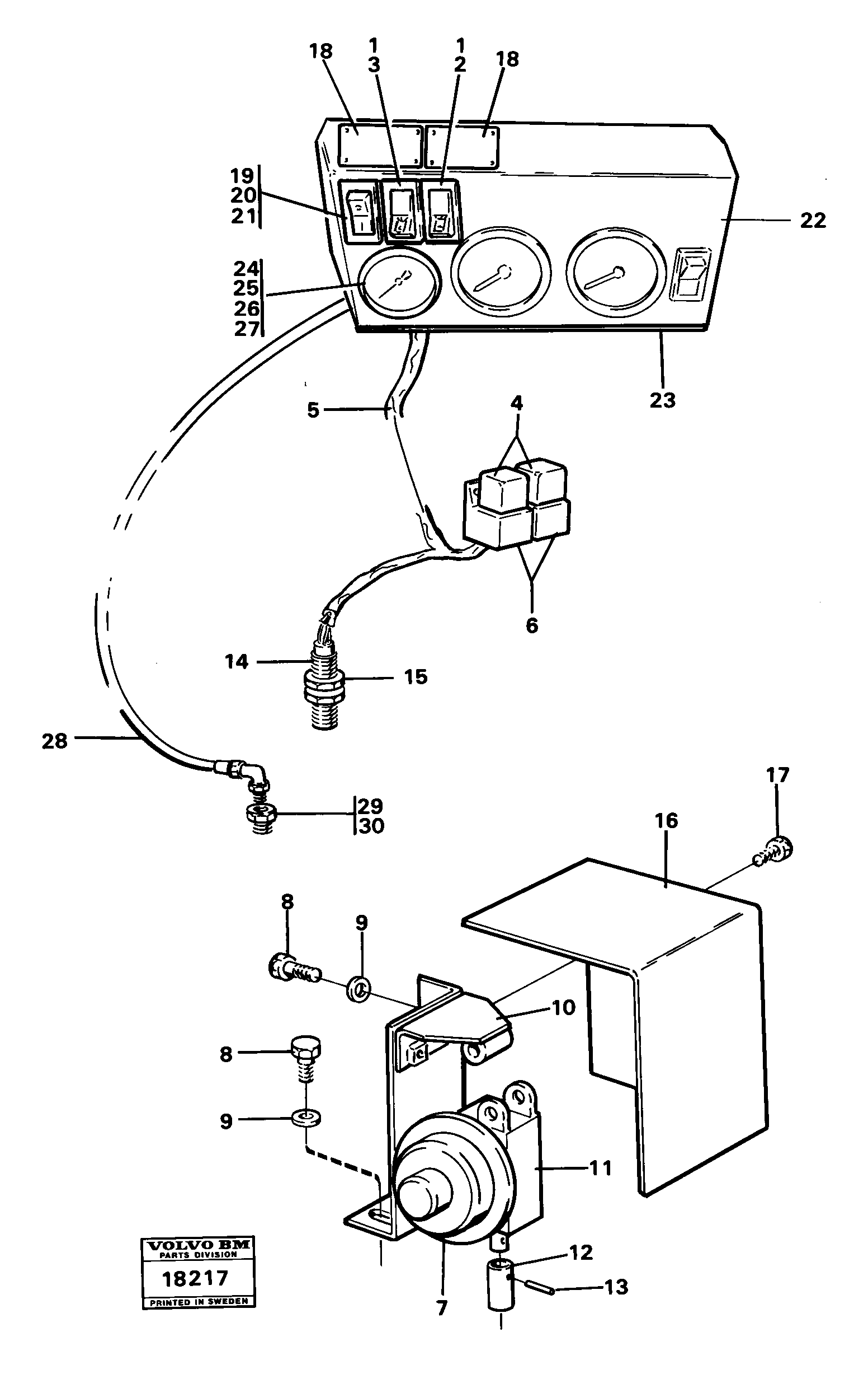
1

VOE 4803530

4803530

1шт.

11

VOE 4803640

Двигатель в сборе

1шт.

13

VOE 951947

Spring pin

1шт.

13

VOE 951947

Spring pin

1шт.

14

VOE 4803635

Sensor

1шт.

15

VOE 4881617

Гайка

1шт.

17

VOE 955269

Винт шестигранник

1шт.

17

VOE 955269

Винт шестигранник

1шт.

19

VOE 4803455

Переключатель

1шт.

2

VOE 4803706

Lens

1шт.

23

VOE 4785436

Protecting moulding

L=200

1шт.

23

VOE 4785436

Protecting moulding

L=200

1шт.

25

VOE 13963371

Nipple

1шт.

25

VOE 13963371

Nipple

1шт.

26

VOE 4880781

Press Gauge Cl

1шт.

28

VOE 932314

Hose assembly

1шт.

28

VOE 932314

Hose assembly

1шт.

3

VOE 4803707

Lens

1шт.

30

VOE 958229

Кольцо уплотнительное (О-кольцо)

1шт.

30

VOE 958229

Кольцо уплотнительное (О-кольцо)

1шт.

4

VOE 4786690

Реле

RE 76, RE 77

1шт.

4

VOE 4786690

Реле

RE 76, RE 77

1шт.

6

VOE 13946556

Relay socket

1шт.

6

VOE 13946556

Relay socket

1шт.

8

VOE 13955295

Болт

1шт.

8

VOE 13955295

Болт

1шт.

9

VOE 13955894

Шайба

1шт.

9

VOE 13955894

Шайба

1шт.

Выбрано товаров: 28