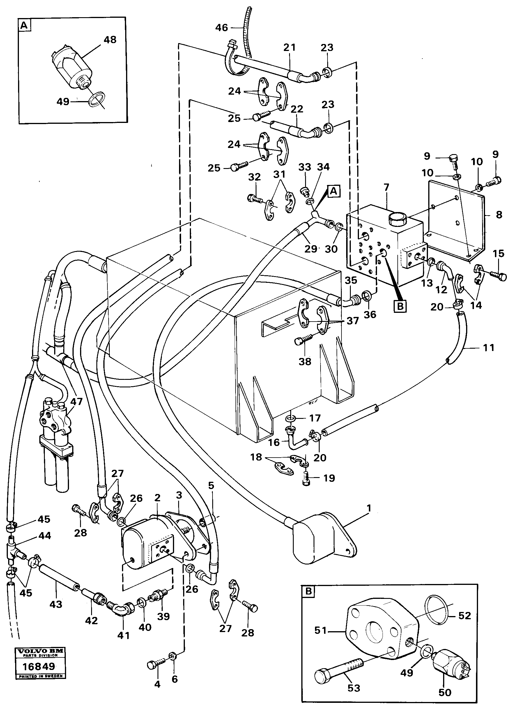
Запчасти Volvo 4400 4400 81402 Emergency steering equipment, 98642, 98562 Tillv Nr -4525

Схема запчастей Volvo 4400 4400 - 81402 Emergency steering equipment, 98642, 98562 Tillv Nr -4525
FIT
1:1
100%

Артикул

Название

Примечание

Количество

10

VOE 940280

Шайба пружинная

1шт.

10

VOE 940280

Шайба пружинная

1шт.

11

VOE 927661

Rubber hose

L=450

1шт.

12

VOE 4850679

Соединитель

1шт.

13

VOE 13949238

Кольцо уплотнительное (О-кольцо)

1шт.

13

VOE 13949238

Кольцо уплотнительное (О-кольцо)

1шт.

14

VOE 926732

Flange half

1шт.

14

VOE 926732

Flange half

1шт.

15

VOE 13940134

Болт

1шт.

15

VOE 13940134

Болт

1шт.

16

VOE 4850476

Соединитель

1шт.

17

VOE 13949238

Кольцо уплотнительное (О-кольцо)

1шт.

17

VOE 13949238

Кольцо уплотнительное (О-кольцо)

1шт.

18

VOE 926732

Flange half

1шт.

18

VOE 926732

Flange half

1шт.

19

VOE 13970947

Винт шестигранник

1шт.

19

VOE 13970947

Винт шестигранник

1шт.

20

VOE 943475

Hose clamp

1шт.

20

VOE 943475

Hose clamp

1шт.

21

VOE 931547

Hose assembly

1шт.

22

VOE 931548

Шланг

1шт.

23

VOE 13948700

Кольцо уплотнительное (О-кольцо)

1шт.

23

VOE 13948700

Кольцо уплотнительное (О-кольцо)

1шт.

24

VOE 927947

Flange half

1шт.

24

VOE 927947

Flange half

1шт.

25

VOE 955535

Винт шестигранник

1шт.

25

VOE 955535

Винт шестигранник

1шт.

26

VOE 13948699

Кольцо уплотнительное (О-кольцо)

1шт.

26

VOE 13948699

Кольцо уплотнительное (О-кольцо)

1шт.

27

VOE 926356

Flange half

1шт.

27

VOE 926356

Flange half

1шт.

28

VOE 955535

Винт шестигранник

1шт.

28

VOE 955535

Винт шестигранник

1шт.

29

VOE 4850813

Hose assembly

1шт.

3

VOE 4850727

Прокладка

1шт.

3

VOE 4850727

Прокладка

1шт.

30

VOE 13948700

Кольцо уплотнительное (О-кольцо)

1шт.

30

VOE 13948700

Кольцо уплотнительное (О-кольцо)

1шт.

31

VOE 927947

Flange half

1шт.

31

VOE 927947

Flange half

1шт.

32

VOE 955535

Винт шестигранник

1шт.

32

VOE 955535

Винт шестигранник

1шт.

33

VOE 926370

Пробка (заглушка)

1шт.

33

VOE 926370

Пробка (заглушка)

1шт.

34

VOE 958225

Кольцо уплотнительное (О-кольцо)

SER NO -3833

1шт.

34

VOE 958225

Кольцо уплотнительное (О-кольцо)

SER NO -3833

1шт.

35

VOE 4850814

Hose assembly

1шт.

36

VOE 13949238

Кольцо уплотнительное (О-кольцо)

1шт.

36

VOE 13949238

Кольцо уплотнительное (О-кольцо)

1шт.

37

VOE 926732

Flange half

1шт.

37

VOE 926732

Flange half

1шт.

38

VOE 13940134

Болт

L=32

1шт.

38

VOE 13940134

Болт

L=32

1шт.

39

VOE 13963977

Nipple

1шт.

39

VOE 13963977

Nipple

1шт.

4

VOE 13970970

Винт шестигранник

1шт.

4

VOE 13970970

Винт шестигранник

1шт.

40

VOE 964113

Кольцо уплотнительное (О-кольцо)

1шт.

40

VOE 964113

Кольцо уплотнительное (О-кольцо)

1шт.

41

VOE 13945357

Elbow nipple

1шт.

41

VOE 13945357

Elbow nipple

1шт.

42

VOE 4850479

Трубка

1шт.

43

VOE 961190

Шланг

L=200

1шт.

44

VOE 4850644

Nipple

1шт.

45

VOE 943471

Hose clamp

1шт.

46

VOE 4881440

Cable tie

1шт.

46

VOE 4881440

Cable tie

1шт.

48

VOE 4803590

Pressure monitor

1шт.

48

VOE 4803590

Pressure monitor

1шт.

49

VOE 14013067

Sealing washer

1шт.

49

VOE 14013067

Sealing washer

1шт.

5

VOE 4719775

Socket

1шт.

50

VOE 4803589

Pressure monitor

1шт.

50

VOE 4803589

Pressure monitor

1шт.

51

VOE 4851684

Non-return valve

1шт.

52

VOE 13960179

Кольцо уплотнительное (О-кольцо)

1шт.

52

VOE 13960179

Кольцо уплотнительное (О-кольцо)

1шт.

53

VOE 955552

Болт

L=64

1шт.

53

VOE 955552

Винт шестигранник

L=64

1шт.

6

VOE 940280

Шайба пружинная

1шт.

6

VOE 940280

Шайба пружинная

1шт.

7

VOE 4850563

Клапан

1шт.

8

VOE 4850680

Anchorage

1шт.

9

VOE 955560

Винт шестигранник

1шт.

9

VOE 955560

Винт шестигранник

1шт.

Выбрано товаров: 85