Запчасти Volvo 4400 4400 20655 Safety parts details signal for parking brake 98632 Tillv.nr 3474-

Схема запчастей Volvo 4400 4400 - 20655 Safety parts details signal for parking brake 98632 Tillv.nr 3474-
FIT
1:1
100%

Артикул

Название

Примечание

Количество

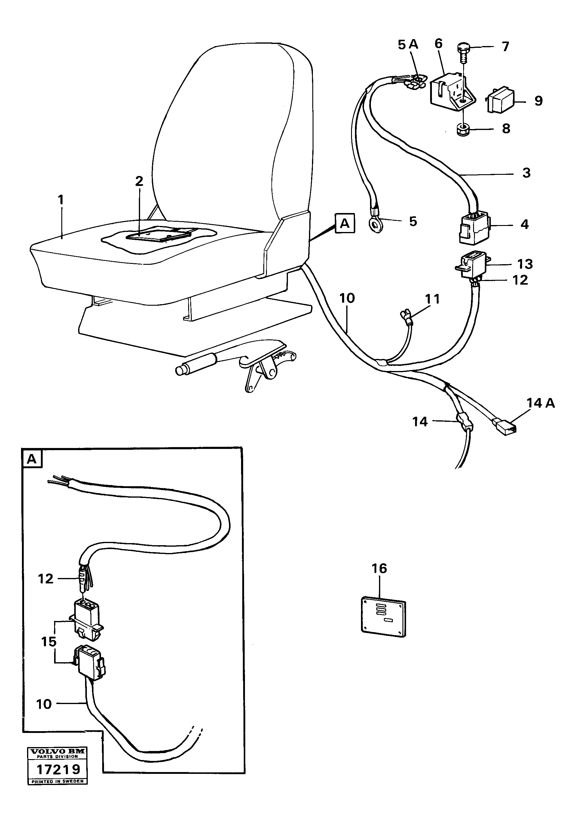
1

VOE 6627884

Seat Cover

1шт.

10

VOE 4939081

Cable harness

1шт.

11

VOE 13949606

Cable terminal

1шт.

11

VOE 13949606

Cable terminal

1шт.

12

VOE 965824

Cable terminal

1шт.

12

VOE 965824

Cable terminal

1шт.

13

VOE 948295

Pin Housing

1шт.

13

VOE 948295

Изолятор

1шт.

14

VOE 191910

Соединитель

1шт.

14

VOE 191910

Соединитель

1шт.

14A

VOE 949583

Pin Housing

1шт.

14A

VOE 949583

Картер (корпус)

1шт.

15

VOE 13948996

Изолятор

1шт.

15

VOE 13948996

Изолятор

1шт.

2

VOE 4803336

Contact

1шт.

3

VOE 4939082

Cable harness

1шт.

4

VOE 948294

Изолятор

1шт.

4

VOE 948294

Изолятор

1шт.

5

VOE 956929

Cable terminal

1шт.

5

VOE 956929

Cable terminal

1шт.

5A

VOE 949400

Cable terminal

1шт.

5A

VOE 949400

Cable terminal

1шт.

6

VOE 4803320

Relay Socket

1шт.

6

VOE 4803320

Relay Socket

1шт.

7

VOE 956076

X Rec Screw

1шт.

7

VOE 956076

X Rec Screw

1шт.

8

VOE 955780

Hexagon Nut

1шт.

8

VOE 955780

Hexagon Nut

1шт.

9

VOE 4803319

Delay Relay

1шт.

9

VOE 4803319

Delay Relay

1шт.

Выбрано товаров: 30