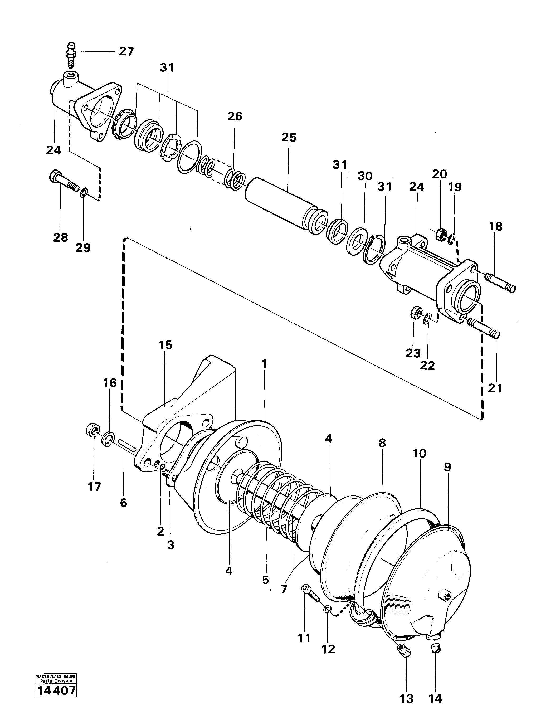
Запчасти Volvo 4500 4500 1138 Brake unit tillv.nr -1721

Схема запчастей Volvo 4500 4500 - 1138 Brake unit tillv.nr -1721
FIT
1:1
100%

Артикул

Название

Примечание

Количество

VOE 11996225

Ремкомплект

1шт.

VOE 11996225

Ремкомплект

1шт.

VOE 6638248

Гайка

1шт.

VOE 6638248

Гайка

1шт.

VOE 6630946

Главный цилиндр

1шт.

VOE 6630946

Главный цилиндр

1шт.

VOE 4850301

Unit

BAKRE/REAR

1шт.

VOE 4850301

Unit

BAKRE/REAR

1шт.

VOE 6210874

Diaphragm

1шт.

VOE 6210874

Diaphragm

1шт.

VOE 325865

Пробка (заглушка)

1шт.

VOE 325865

Пробка (заглушка)

1шт.

VOE 6210675

Толкатель штанги

1шт.

VOE 6210675

Толкатель штанги

1шт.

VOE 1518779

Поршень

1шт.

VOE 6638247

Болт

1шт.

VOE 6638247

Болт

1шт.

VOE 6210677

Пружина

1шт.

VOE 6210677

Пружина

1шт.

10

VOE 6642957

Tensioning Band

1шт.

10

VOE 6642957

Tensioning Band

1шт.

11

VOE 6637637

Болт

1шт.

11

VOE 6637637

Болт

1шт.

12

VOE 6637638

Шайба

1шт.

12

VOE 6637638

Шайба

1шт.

13

VOE 6637639

Гайка

1шт.

13

VOE 6637639

Гайка

1шт.

14

VOE 6612950

Пробка (заглушка)

1шт.

16

VOE 941912

Шайба пружинная

1шт.

16

VOE 941912

Шайба пружинная

1шт.

17

VOE 955852

Nut

1шт.

17

VOE 955852

Гайка

1шт.

18

VOE 6637661

Шпилька

1шт.

19

VOE 13941909

Шайба

1шт.

19

VOE 13941909

Шайба

1шт.

2

VOE 6637666

Кольцо уплотнительное (О-кольцо)

1шт.

2

VOE 6637666

Кольцо уплотнительное (О-кольцо)

1шт.

21

VOE 202115

Шпилька

1шт.

22

VOE 13942336

Шайба пружинная

1шт.

22

VOE 13942336

Шайба пружинная

1шт.

23

VOE 13955848

Гайка

1шт.

23

VOE 13955848

Гайка

1шт.

27

VOE 338983

Болт

1шт.

27

VOE 338983

Болт

1шт.

3

VOE 6637671

Прокладка

THICK=0,30

1шт.

31

VOE 6642313

Ремкомплект

1шт.

31

VOE 6642313

Ремкомплект

1шт.

4

VOE 6637669

Spring Retainer

1шт.

5

VOE 6637668

Пружина

1шт.

5

VOE 6637668

Пружина

1шт.

6

VOE 6210927

Bar

1шт.

7

VOE 6637670

Шток поршня

1шт.

7

VOE 6637670

Шток поршня

1шт.

8

VOE 952109

Diaphragm

1шт.

9

VOE 6637665

Пластина

1шт.

9

VOE 6637665

Пластина

1шт.

Выбрано товаров: 56