Запчасти Volvo 4500 4500 11405 Air compressor

Схема запчастей Volvo 4500 4500 - 11405 Air compressor
FIT
1:1
100%

Артикул

Название

Примечание

Количество

VOE 3090444

Комплект поршневых колец

0,010"OD

1шт.

VOE 3090445

Комплект поршневых колец

0,020"OD

1шт.

VOE 272626

Piston ring

0,030"OD

1шт.

VOE 324117

Прокладка

1шт.

VOE 324117

Прокладка

1шт.

VOE 3090441

Поршень

0,010"OD

1шт.

VOE 3090442

Поршень

0,020"OD

1шт.

VOE 272630

Поршень

0,030"OD

1шт.

VOE 1508996

Compressor

1шт.

VOE 1508996

Compressor

1шт.

VOE 11000150

Втулка

0,010"UD

1шт.

VOE 11000151

Втулка

0,020"UD

1шт.

VOE 1517544

Втулка

0,030"UD

1шт.

VOE 272632

Подшипник

0,010"UD

1шт.

VOE 272633

Подшипник

0,020"UD

1шт.

VOE 7276543

Ремкомплект

1шт.

324042

Прокладка

1шт.

VOE 324343

Valve seat

1шт.

VOE 272634

Подшипник

0,030"UD

1шт.

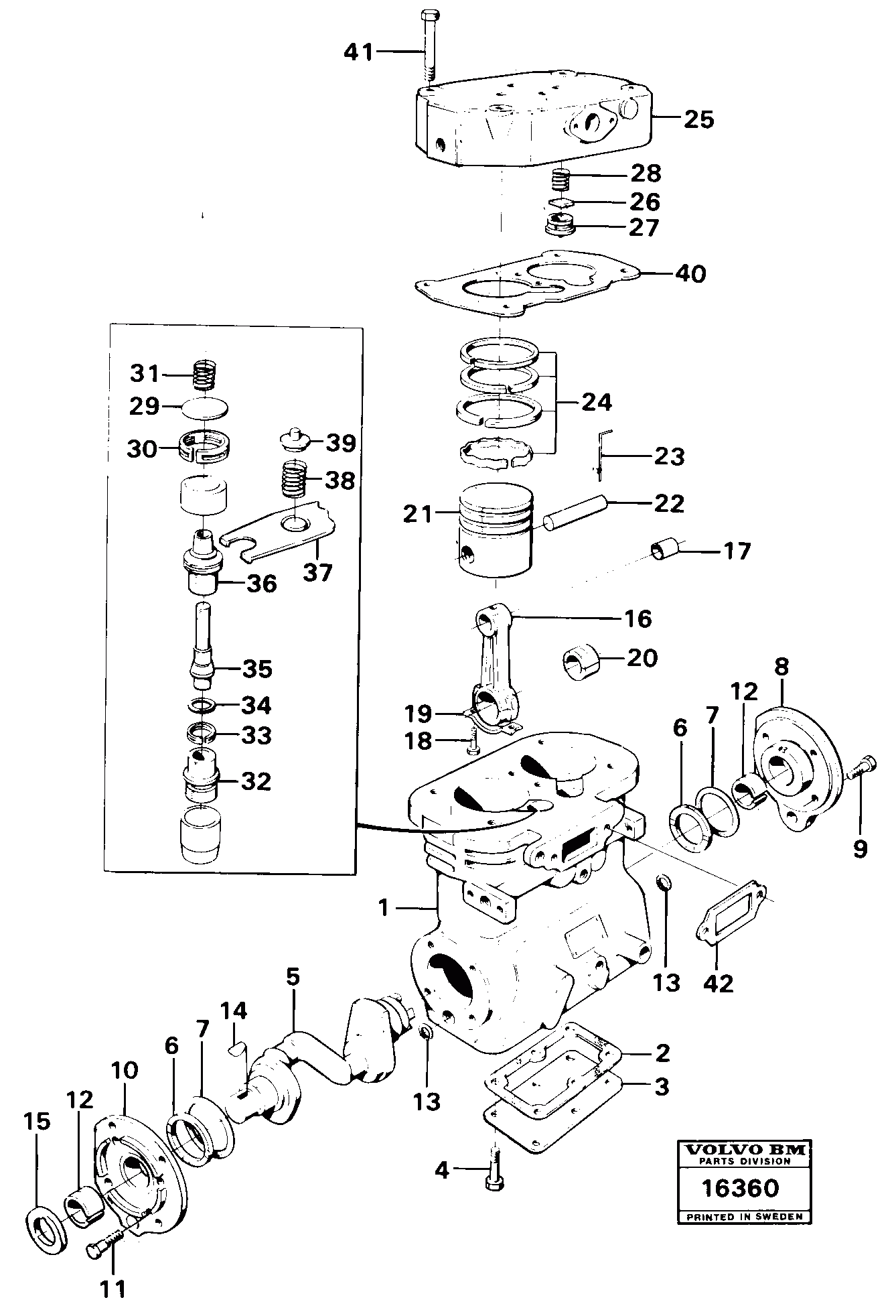
1

VOE 1508996

Compressor

1шт.

1

VOE 1508996

Compressor

1шт.

10

VOE 1517540

Фланец

1шт.

12

VOE 11000149

Втулка

STD

1шт.

13

VOE 1695552

Кольцо уплотнительное (О-кольцо)

1шт.

14

VOE 1517545

Key

1шт.

15

VOE 346918

Lock nut

1шт.

16

VOE 1517551

Connecting Rod

1шт.

18

VOE 1518201

Болт

1шт.

19

VOE 1518104

Стопорная шайба (кольцо)

1шт.

2

VOE 1699126

Прокладка

1шт.

20

VOE 272631

Подшипник

STD

1шт.

21

VOE 3090440

Поршень

STD

1шт.

23

VOE 7324338

Locking Wire

1шт.

24

VOE 3090443

Комплект поршневых колец

STD

1шт.

25

VOE 1517550

Головка блока цилиндров

1шт.

26

VOE 272813

Ремкомплект

1шт.

27

VOE 11996263

Valve seat

1шт.

28

VOE 1518775

Пружина

1шт.

29

VOE 272813

Ремкомплект

1шт.

3

VOE 1517548

Cap

1шт.

30

VOE 7328756

Valve Guide

1шт.

31

VOE 7324346

Пружина

1шт.

32

VOE 7331876

Поршень

1шт.

33

VOE 7276543

Ремкомплект

1шт.

34

VOE 7276543

Ремкомплект

1шт.

35

VOE 7276543

Ремкомплект

1шт.

36

VOE 7331878

Socket

1шт.

37

VOE 7344231

Шайба упорная

1шт.

38

VOE 7324355

Пружина

1шт.

39

VOE 7326839

Spring Seat

1шт.

40

VOE 1699127

Прокладка

1шт.

42

VOE 324117

Прокладка

1шт.

42

VOE 324117

Прокладка

1шт.

5

VOE 1517536

Коленчатый вал (коленвал)

1шт.

6

VOE 1517537

Шайба упорная

1шт.

7

VOE 1517538

Кольцо уплотнительное (О-кольцо)

1шт.

8

VOE 1517539

Cap

1шт.

Выбрано товаров: 57