Запчасти Volvo 4500 4500 23550 Brake unit tillv nr 3233 -

Схема запчастей Volvo 4500 4500 - 23550 Brake unit tillv nr 3233 -
FIT
1:1
100%

Артикул

Название

Примечание

Количество

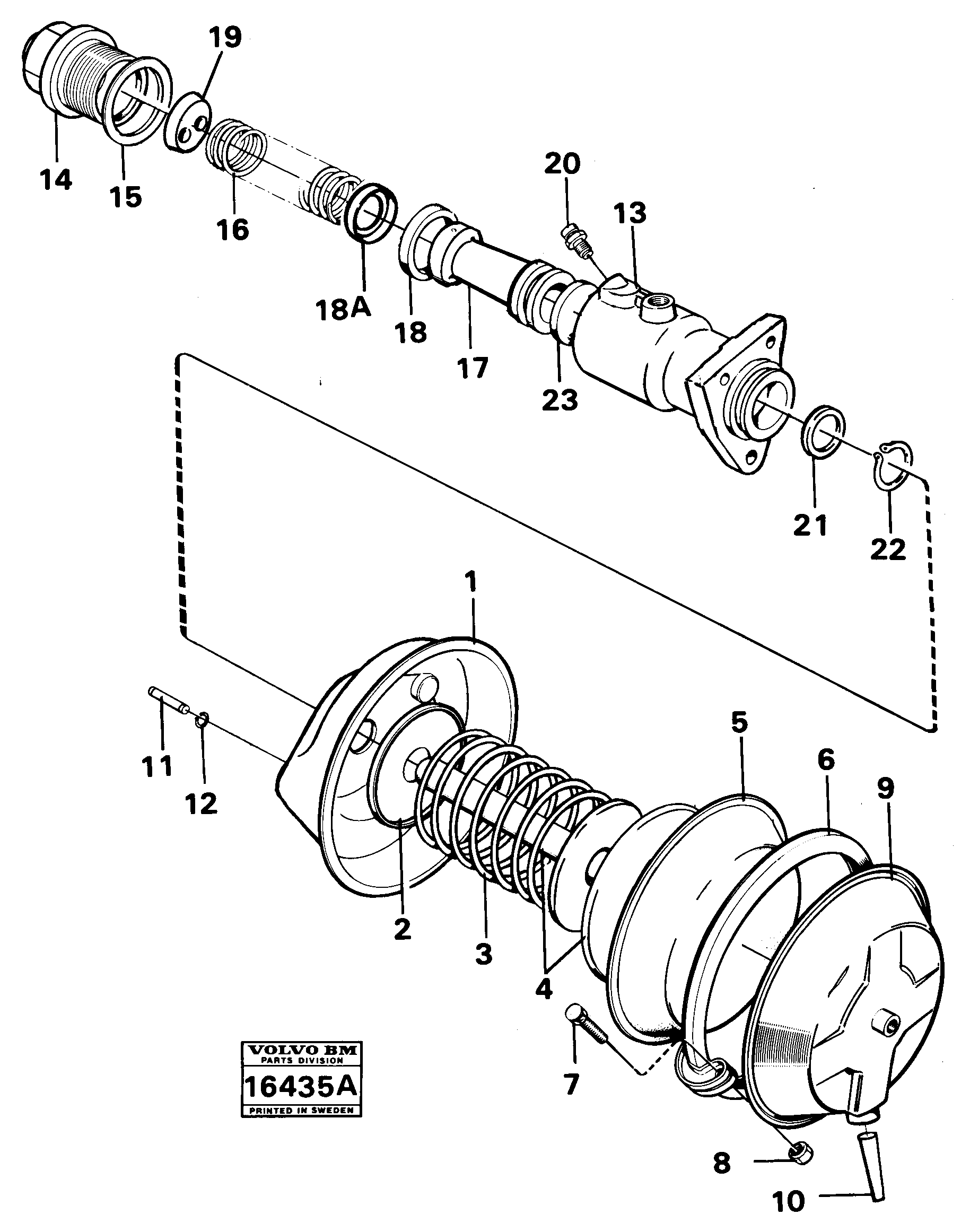
VOE 11998372

Ремкомплект

1шт.

VOE 11998372

Ремкомплект

1шт.

VOE 11994561

Spring Disc

1шт.

VOE 4880206

Главный цилиндр

SER NO - 3699

1шт.

VOE 4880206

Главный цилиндр

SER NO - 3699

1шт.

VOE 4881429

Главный цилиндр

SER NO 3700 -

1шт.

VOE 11702271

Пружина

1шт.

VOE 6210807

Прокладка

1шт.

VOE 6213443

Прокладка

1шт.

VOE 4720593

Diaph Cylinder

1шт.

VOE 4720593

Diaph Cylinder

1шт.

10

VOE 6211359

Шланг

1шт.

14

VOE 6210800

Cap

1шт.

15

VOE 6210804

Прокладка

1шт.

16

VOE 6210806

Пружина

1шт.

17

VOE 11991532

Поршень

1шт.

18A

VOE 6213309

Back-up ring

1шт.

19

VOE 6210805

Шайба

1шт.

2

VOE 6211357

Guide

1шт.

20

VOE 6852537

Air Venting Scr

1шт.

21

VOE 6210809

Шайба

1шт.

22

VOE 6210810

Кольцо стопорное

1шт.

23

VOE 6210808

Кольцо уплотнительное

1шт.

3

VOE 11994545

Пружина

1шт.

4

VOE 11994599

Поршень

1шт.

5

VOE 6211358

Diaphragm

1шт.

6

VOE 11996068

Зажим

1шт.

7

VOE 955299

Винт шестигранник

1шт.

7

VOE 955299

Винт шестигранник

1шт.

8

VOE 955782

Hexagon Nut

1шт.

8

VOE 955782

Hexagon Nut

1шт.

Выбрано товаров: 31