Запчасти Volvo 4500 4500 33614 Pneumatic system,front components Tillv.nr 1722-

Схема запчастей Volvo 4500 4500 - 33614 Pneumatic system,front components Tillv.nr 1722-
FIT
1:1
100%

Артикул

Название

Примечание

Количество

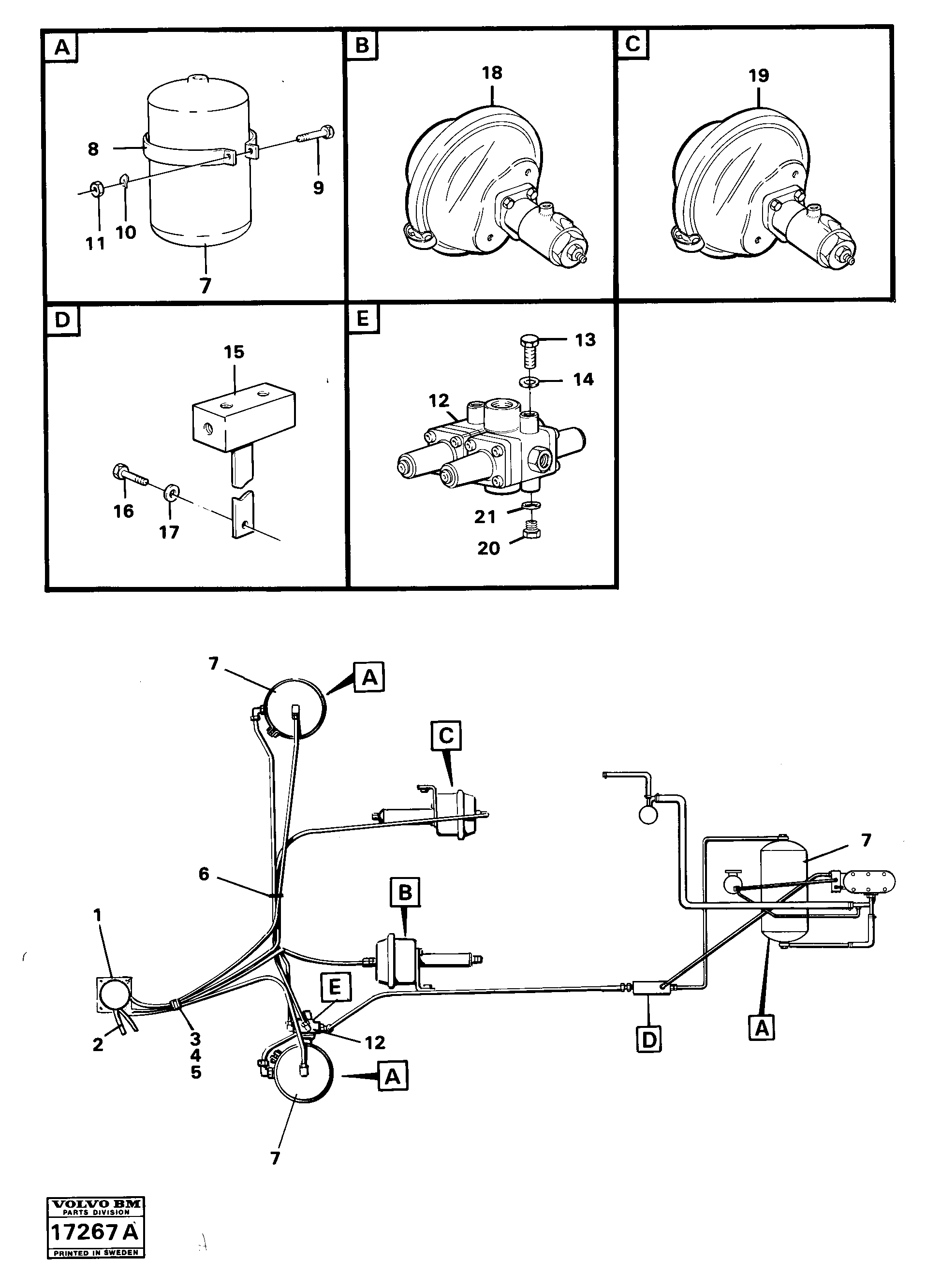
VOE 11023848

Cprs Air Tank

1шт.

VOE 272701

Ремкомплект

1шт.

VOE 272701

Ремкомплект

1шт.

10

VOE 13941907

Шайба пружинная

1шт.

10

VOE 13941907

Шайба

1шт.

11

VOE 955782

Hexagon nut

1шт.

11

VOE 955782

Hexagon nut

1шт.

12

VOE 4871098

Protecting valve

1шт.

12

VOE 4871098

Protecting valve

1шт.

13

VOE 13955295

Болт

1шт.

13

VOE 13955295

Болт

1шт.

14

VOE 13941907

Шайба пружинная

1шт.

14

VOE 13941907

Шайба

1шт.

15

VOE 4851863

Distribution housing

1шт.

16

VOE 970945

Винт шестигранник

1шт.

16

VOE 970945

Винт шестигранник

1шт.

17

VOE 941908

Шайба пружинная

1шт.

17

VOE 941908

Шайба пружинная

1шт.

20

VOE 960631

Пробка (заглушка)

1шт.

21

VOE 13947622

Plane gasket

1шт.

21

VOE 13947622

Plane gasket

1шт.

3

VOE 952638

Зажим

1шт.

3

VOE 952638

Зажим

1шт.

4

VOE 940199

Винт шестигранник

1шт.

4

VOE 940199

Винт шестигранник

1шт.

5

VOE 912413

Spacer ring

1шт.

6

VOE 4881440

Cable tie

1шт.

6

VOE 4881440

Cable tie

1шт.

7

VOE 11023848

Cprs Air Tank

1шт.

8

VOE 748171

Tensioning band

1шт.

8

VOE 748171

Tensioning band

1шт.

9

VOE 13955298

Болт

1шт.

9

VOE 13955298

Болт

1шт.

Выбрано товаров: 33