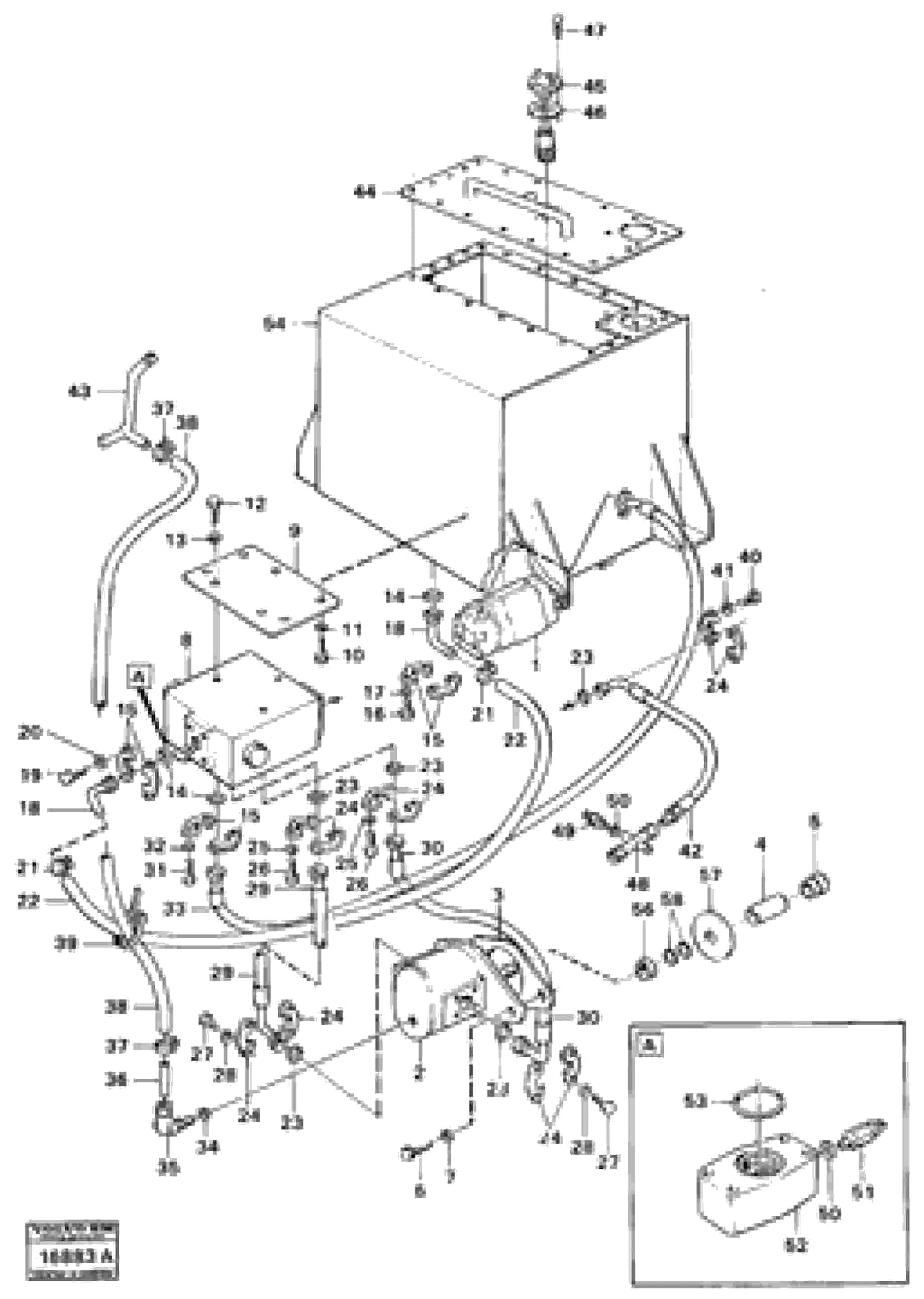
Запчасти Volvo 4500 4500 85848 Emergency steering equipment 99167,99066

Схема запчастей Volvo 4500 4500 - 85848 Emergency steering equipment 99167,99066
FIT
1:1
100%

Артикул

Название

Примечание

Количество

VOE 932076

Hose assembly

SER NO 2276-

1шт.

VOE 4856471

Гидронасос (основной насос)

SER NO 2276-

1шт.

VOE 4851827

Гидронасос (основной насос)

SER NO 1324-2275

1шт.

VOE 4856490

Трубка

SER NO 2276-

1шт.

VOE 6211860

Gasket kit

FOR/FOR 4851827

1шт.

VOE 6212318

Gasket kit

FOR/FOR 4851650

1шт.

10

VOE 970945

Винт шестигранник

1шт.

10

VOE 970945

Винт шестигранник

1шт.

11

VOE 941908

Шайба пружинная

1шт.

11

VOE 941908

Шайба пружинная

1шт.

12

VOE 955560

Винт шестигранник

1шт.

12

VOE 955560

Винт шестигранник

1шт.

13

VOE 940280

Шайба пружинная

1шт.

13

VOE 940280

Шайба пружинная

1шт.

14

VOE 13949238

Кольцо уплотнительное (О-кольцо)

1шт.

14

VOE 13949238

Кольцо уплотнительное (О-кольцо)

1шт.

15

VOE 926732

Flange half

1шт.

15

VOE 926732

Flange half

1шт.

16

VOE 13970947

Винт шестигранник

1шт.

16

VOE 13970947

Винт шестигранник

1шт.

17

VOE 941908

Шайба пружинная

1шт.

17

VOE 941908

Шайба пружинная

1шт.

18

VOE 4850679

Соединитель

1шт.

19

VOE 955551

Винт шестигранник

1шт.

2

VOE 4851650

Гидронасос (основной насос)

SER NO - 1323

1шт.

20

VOE 13941909

Шайба

1шт.

20

VOE 13941909

Шайба

1шт.

21

VOE 943476

Hose clamp

1шт.

22

VOE 927661

Rubber hose

L=900

1шт.

23

VOE 13948700

Кольцо уплотнительное (О-кольцо)

1шт.

23

VOE 13948700

Кольцо уплотнительное (О-кольцо)

1шт.

24

VOE 927947

Flange half

1шт.

24

VOE 927947

Flange half

1шт.

25

VOE 13942336

Шайба пружинная

1шт.

25

VOE 13942336

Шайба пружинная

1шт.

26

VOE 955535

Винт шестигранник

1шт.

26

VOE 955535

Винт шестигранник

1шт.

27

VOE 940142

Винт шестигранник

1шт.

27

VOE 940142

Винт шестигранник

1шт.

28

VOE 13941907

Шайба пружинная

1шт.

28

VOE 13941907

Шайба

1шт.

29

VOE 931749

Шланг

1шт.

3

VOE 4850727

Прокладка

1шт.

3

VOE 4850727

Прокладка

1шт.

30

VOE 931750

Hose assembly

1шт.

31

VOE 13940134

Болт

1шт.

31

VOE 13940134

Болт

1шт.

32

VOE 13941909

Шайба

1шт.

32

VOE 13941909

Шайба

1шт.

33

VOE 931871

Hose assembly

1шт.

34

VOE 947623

Прокладка

1шт.

34

VOE 947623

Прокладка

1шт.

35

VOE 968029

Banjo fitting

1шт.

35

VOE 968029

Banjo fitting

1шт.

36

VOE 4851681

Трубка

SER NO -2275

1шт.

37

VOE 943470

Hose clamp

SER NO -2275

1шт.

37

VOE 943470

Hose clamp

SER NO -2275

1шт.

38

VOE 961190

Шланг

L=850 SER NO -2275

1шт.

39

VOE 4881440

Cable tie

1шт.

39

VOE 4881440

Cable tie

1шт.

4

VOE 4719775

Socket

1шт.

40

VOE 13940162

Болт

1шт.

40

VOE 13940162

Болт

1шт.

41

VOE 13942336

Шайба пружинная

1шт.

41

VOE 13942336

Шайба пружинная

1шт.

42

VOE 931751

Hose assembly

1шт.

43

VOE 4851553

Трубка

SER NO -2275

1шт.

45

VOE 4823488

Level sensor

1шт.

45

VOE 4823488

Level sensor

1шт.

46

VOE 4823812

Прокладка

1шт.

46

VOE 4823812

Прокладка

1шт.

47

VOE 956164

Cross recessed sunk screw

1шт.

47

VOE 956164

Cross recessed sunk screw

1шт.

48

VOE 4851576

Трубка

1шт.

49

VOE 4803590

Pressure monitor

1шт.

49

VOE 4803590

Pressure monitor

1шт.

5

VOE 930220

Spacer ring

1шт.

5

VOE 930220

Spacer ring

1шт.

50

VOE 14013067

Sealing washer

1шт.

50

VOE 14013067

Sealing washer

1шт.

51

VOE 4803589

Pressure monitor

1шт.

51

VOE 4803589

Pressure monitor

1шт.

52

VOE 4851684

Non-return valve

1шт.

53

VOE 955552

Болт

1шт.

53

VOE 955552

Винт шестигранник

1шт.

54

VOE 13960179

Кольцо уплотнительное (О-кольцо)

1шт.

54

VOE 13960179

Кольцо уплотнительное (О-кольцо)

1шт.

56

VOE 4856446

Вставка

SER NO 2276-

1шт.

57

VOE 4856447

Шайба

SER NO 2276-

1шт.

58

VOE 948698

Кольцо уплотнительное (О-кольцо)

SER NO 2276-

1шт.

6

VOE 13970970

Винт шестигранник

1шт.

6

VOE 13970970

Винт шестигранник

1шт.

7

VOE 940280

Шайба пружинная

1шт.

7

VOE 940280

Шайба пружинная

1шт.

8

VOE 4850563

Клапан

1шт.

9

VOE 4851552

Anchorage

1шт.

Выбрано товаров: 96