Запчасти Volvo 4500 4500 12124 Safety parts details signal for parking brake 98632,99715

Схема запчастей Volvo 4500 4500 - 12124 Safety parts details signal for parking brake 98632,99715
FIT
1:1
100%

Артикул

Название

Примечание

Количество

VOE 13948996

Изолятор

1шт.

VOE 13948996

Изолятор

1шт.

VOE 4939081

Cable harness

1шт.

VOE 4939082

Cable harness

1шт.

VOE 4803320

Relay Socket

1шт.

VOE 4803320

Relay Socket

1шт.

VOE 4803319

Delay Relay

1шт.

VOE 4803319

Delay Relay

1шт.

VOE 243002

Bellows

1шт.

VOE 243002

Bellows

1шт.

VOE 13948995

Pin Housing

1шт.

VOE 13948995

Pin Housing

1шт.

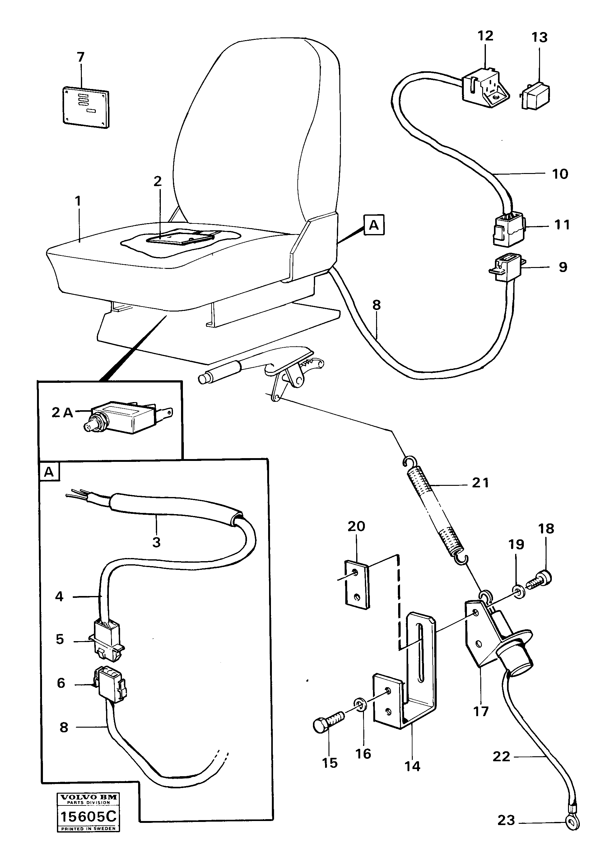
1

VOE 6627884

Seat Cover

1шт.

10

VOE 4929320

Cable harness

1шт.

11

VOE 948294

Изолятор

1шт.

11

VOE 948294

Изолятор

1шт.

12

VOE 13946556

Relay Socket

1шт.

12

VOE 13946556

Relay Socket

1шт.

13

VOE 4786690

Реле

1шт.

13

VOE 4786690

Реле

1шт.

14

VOE 4929049

Тарелка клапана

1шт.

15

VOE 13955271

Болт

1шт.

15

VOE 13955271

Болт

1шт.

16

VOE 13941906

Шайба

1шт.

16

VOE 13941906

Шайба

1шт.

17

VOE 6203320

Переключатель

1шт.

18

VOE 13980220

Болт

1шт.

18

VOE 13980220

Винт шестигранник (торцевой ключ)

1шт.

19

VOE 13941904

Шайба

1шт.

19

VOE 13941904

Шайба

1шт.

2

VOE 6630829

Conversion kit

1шт.

20

VOE 4929051

Гайка

1шт.

21

VOE 767269

Пружина

1шт.

21

VOE 767269

Пружина

1шт.

22

VOE 970624

El Cable

L=200

1шт.

23

VOE 958220

Cable terminal

1шт.

23

VOE 958220

Cable terminal

1шт.

2A

VOE 4787427

Microswitch

1шт.

2A

VOE 4787427

Microswitch

1шт.

3

VOE 948972

Шланг

1шт.

4

VOE 4854793

Cable harness

1шт.

5

VOE 13948297

Pin Housing

1шт.

5

VOE 13948297

Pin Housing

1шт.

6

VOE 948296

Картер (корпус)

1шт.

6

VOE 948296

Изолятор

1шт.

8

VOE 4929047

Cable harness

1шт.

9

VOE 948285

948285

1шт.

Выбрано товаров: 47