Запчасти Volvo 4500 4500 22002 Valve section

Схема запчастей Volvo 4500 4500 - 22002 Valve section
FIT
1:1
100%

Артикул

Название

Примечание

Количество

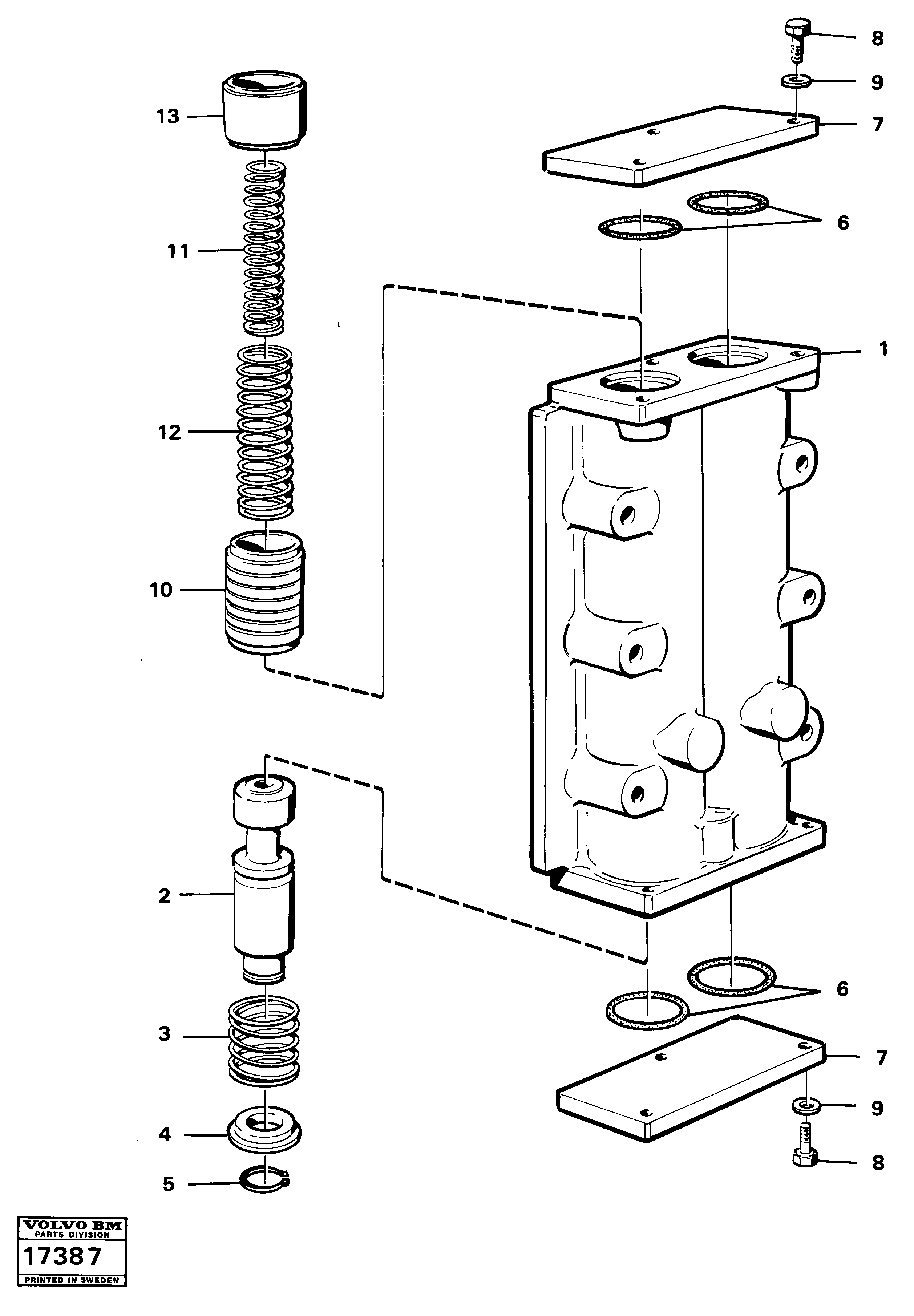
VOE 4720785

Клапан

1шт.

10

VOE 4871606

Поршень

1шт.

10

VOE 4871606

Поршень

1шт.

11

VOE 4720783

Пружина

1шт.

11

VOE 4720783

Пружина

1шт.

12

VOE 4720784

Пружина

1шт.

12

VOE 4720784

Пружина

1шт.

2

VOE 4720788

Slide

1шт.

3

VOE 4720786

Пружина

1шт.

3

VOE 4720786

Пружина

1шт.

4

VOE 4720789

Spring Guide

1шт.

5

VOE 914446

Snap Ring

1шт.

5

VOE 914446

Кольцо стопорное

1шт.

6

VOE 925063

Кольцо уплотнительное (О-кольцо)

1шт.

6

VOE 925063

Кольцо уплотнительное (О-кольцо)

1шт.

8

VOE 13955272

Болт

1шт.

8

VOE 13955272

Болт

1шт.

9

VOE 13949607

Шайба

1шт.

9

VOE 13949607

Шайба

1шт.

Выбрано товаров: 19