Запчасти Volvo 4600 4600 16449 Swivel

Схема запчастей Volvo 4600 4600 - 16449 Swivel
FIT
1:1
100%

Артикул

Название

Примечание

Количество

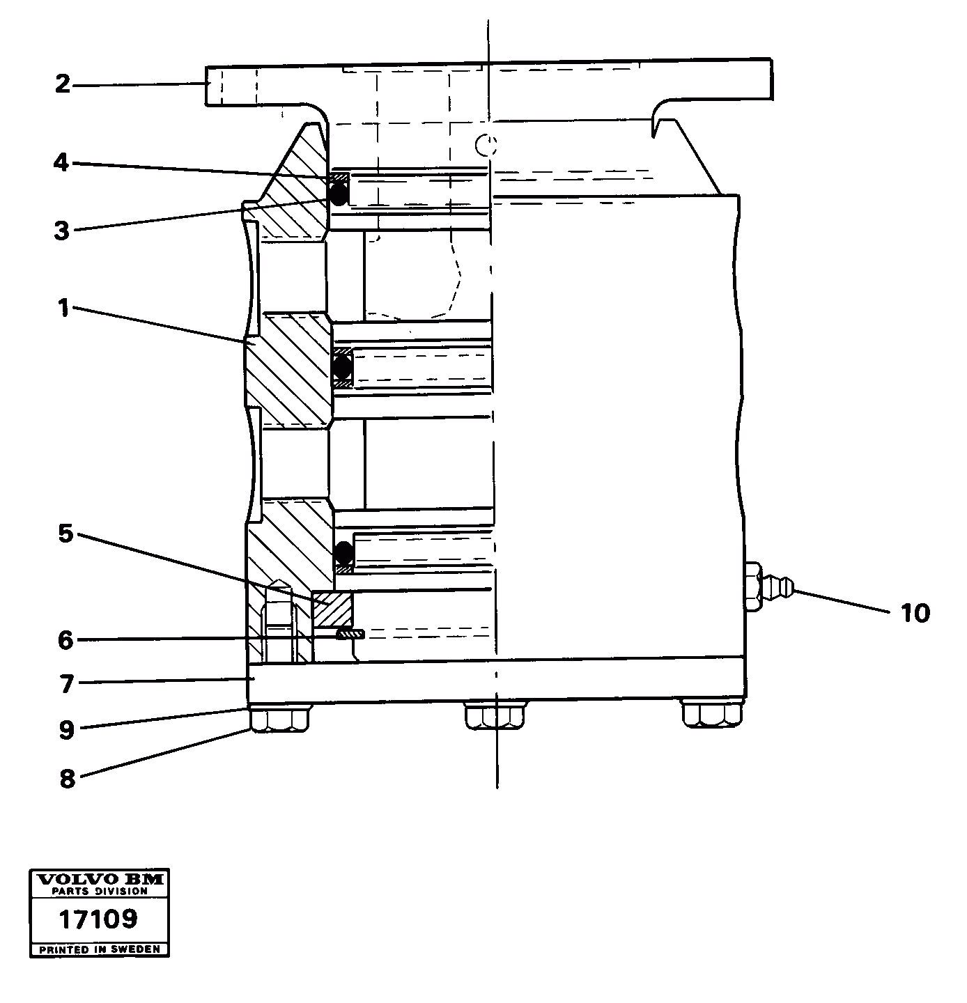
VOE 4807056

Swivel

1шт.

10

VOE 914167

Nipple

1шт.

10

VOE 914167

Nipple

1шт.

3

VOE 960185

Кольцо уплотнительное (О-кольцо)

1шт.

3

VOE 960185

Кольцо уплотнительное (О-кольцо)

1шт.

4

VOE 4880596

Back-up ring

1шт.

5

VOE 4807055

Втулка

1шт.

5

VOE 4807055

Втулка

1шт.

6

VOE 914480

Кольцо стопорное

1шт.

6

VOE 914480

Snap Ring

1шт.

8

VOE 13955295

Болт

1шт.

8

VOE 13955295

Болт

1шт.

9

VOE 13941907

Шайба пружинная

1шт.

9

VOE 13941907

Шайба

1шт.

Выбрано товаров: 14