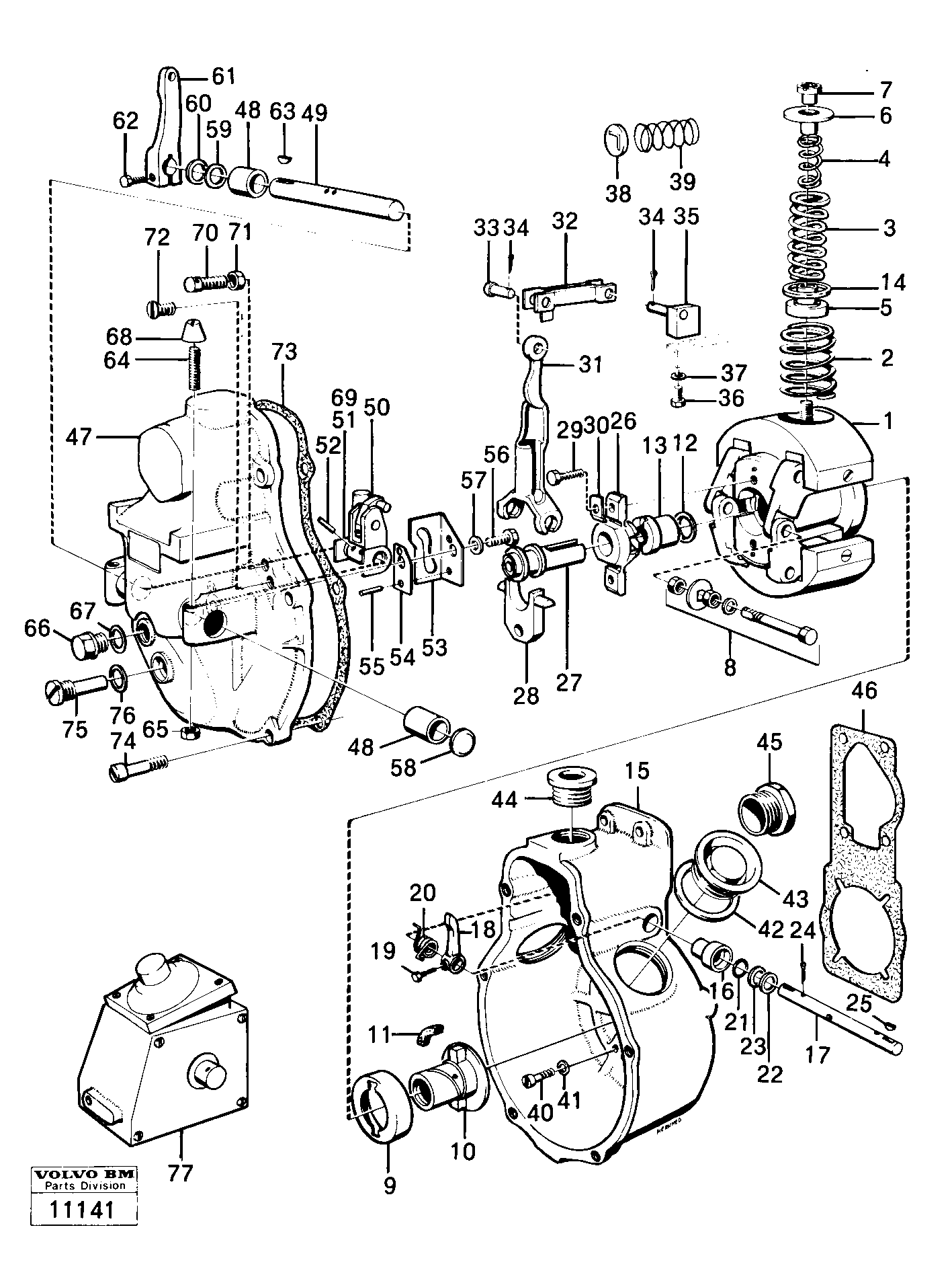
Запчасти Volvo 4600 4600 70442 Centrifugal governor

Схема запчастей Volvo 4600 4600 - 70442 Centrifugal governor
FIT
1:1
100%

Артикул

Название

Примечание

Количество

VOE 233427

Прокладка

THICK=0,8

1шт.

VOE 244768

Прокладка

THICK=2,05

1шт.

VOE 244761

Прокладка

THICK=1,85

1шт.

VOE 244758

Прокладка

THICK=1,75

1шт.

VOE 244765

Прокладка

THICK=1,95

1шт.

VOE 243839

Крышка

1шт.

VOE 7077582

Key

1шт.

VOE 7077582

Key

1шт.

VOE 13955271

Болт

1шт.

VOE 13955271

Болт

1шт.

VOE 11998349

Spring disc

1шт.

VOE 243829

Regulator

1шт.

VOE 244623

Round nut

1шт.

VOE 241765

Картер (корпус)

1шт.

VOE 956097

Cross recessed screw

1шт.

VOE 956097

Cross recessed screw

1шт.

VOE 233072

233072

THICK=0,3

1шт.

VOE 244990

Болт

1шт.

VOE 956076

Cross recessed screw

1шт.

VOE 956076

Cross recessed screw

1шт.

VOE 956095

Cross recessed screw

1шт.

VOE 956095

Cross recessed screw

1шт.

VOE 244766

Прокладка

THICK=2,0

1шт.

VOE 244397

Тяга поворотная

1шт.

VOE 244755

Прокладка

THICK=1,65

1шт.

VOE 240065

Шайба

THICK=2,5

1шт.

VOE 244770

Прокладка

THICK=2,1

1шт.

VOE 6212702

Centrifugal governor

1шт.

VOE 244719

Пружина

1шт.

VOE 7240568

Shim

THICK=0,5

1шт.

VOE 7240568

Прокладка

THICK=0,5

1шт.

VOE 7240568

Shim

THICK=0,5

1шт.

VOE 7233090

Прокладка

THICK=1,7

1шт.

VOE 239299

Guide

THICK=3,75

1шт.

VOE 239298

Guide

THICK=3,60

1шт.

VOE 244763

Прокладка

THICK=1,9

1шт.

VOE 955273

Винт шестигранник

1шт.

VOE 955273

Винт шестигранник

1шт.

VOE 244760

Прокладка

THICK=1,8

1шт.

1

VOE 6212208

Weight

1шт.

1

VOE 6212208

Weight

1шт.

10

VOE 6213639

Companion flange

1шт.

11

VOE 864744

Rubber cushion

1шт.

12

VOE 244753

Прокладка

THICK=1,6

1шт.

13

VOE 11993514

Гайка

1шт.

14

VOE 7239300

Шайба

1шт.

16

VOE 240059

Втулка

1шт.

17

VOE 11703340

Вал

1шт.

18

VOE 7240060

Lever

1шт.

18

VOE 7240060

Рукоять

1шт.

19

VOE 241102

Болт

1шт.

19

VOE 241102

Болт

1шт.

2

VOE 243084

Пружина

1шт.

20

VOE 240061

Пружина

1шт.

21

VOE 7239908

Прокладка

1шт.

22

VOE 13955894

Шайба

1шт.

22

VOE 13955894

Шайба

1шт.

23

VOE 233372

Шайба

1шт.

24

VOE 907825

Cotter Pin

1шт.

26

VOE 11993084

Guide sleeve

1шт.

27

VOE 7241801

Setting bolt

1шт.

28

VOE 240682

Тяга поворотная

1шт.

29

VOE 955270

Винт шестигранник

1шт.

29

VOE 955270

Винт шестигранник

1шт.

3

VOE 233417

Пружина

1шт.

30

VOE 240565

Striker plate

1шт.

31

VOE 243838

Regulator arm

1шт.

32

VOE 7241766

Тяга поворотная

1шт.

33

VOE 6211945

Pivot pin

1шт.

34

VOE 907814

Split Pin

1шт.

35

VOE 244986

Guide lug

1шт.

36

VOE 956075

Cross recessed screw

1шт.

36

VOE 956075

Cross recessed screw

1шт.

37

VOE 941905

Шайба пружинная

1шт.

37

VOE 941905

Шайба пружинная

1шт.

38

VOE 11998349

Spring disc

1шт.

39

VOE 7240054

Пружина

1шт.

4

VOE 243085

Пружина

1шт.

40

VOE 956096

Cross recessed screw

1шт.

40

VOE 956096

Cross recessed screw

1шт.

41

VOE 13941906

Шайба

1шт.

41

VOE 13941906

Шайба

1шт.

42

VOE 1699836

Шайба

1шт.

43

VOE 240688

240688

1шт.

44

VOE 240919

Пробка (заглушка)

1шт.

45

VOE 240120

Втулка

1шт.

46

VOE 1698168

Прокладка

1шт.

48

VOE 7238131

Bearing sleeve

1шт.

49

VOE 243848

Вал

1шт.

5

VOE 239297

Guide

THICK=3,45

1шт.

50

VOE 244658

Рукоять

1шт.

51

VOE 7238128

Шайба

1шт.

52

VOE 233103

233103

1шт.

53

VOE 243842

Guide plate

1шт.

54

VOE 233071

233071

THICK=0,2

1шт.

55

VOE 7233104

Pin

1шт.

55

VOE 7233104

Pin

1шт.

55

VOE 7233104

Палец

1шт.

56

VOE 13955272

Болт

1шт.

56

VOE 13955272

Болт

1шт.

57

VOE 13941906

Шайба

1шт.

57

VOE 13941906

Шайба

1шт.

58

VOE 7233091

Шайба

1шт.

59

VOE 240063

Прокладка

1шт.

59

VOE 240063

Прокладка

1шт.

6

VOE 243086

Guide

1шт.

60

VOE 238132

Шайба

THICK=1,0

1шт.

60

VOE 238132

Шайба

THICK=1,0

1шт.

61

VOE 239316

239316

1шт.

62

VOE 13955272

Болт

1шт.

62

VOE 13955272

Болт

1шт.

63

VOE 910112

Woodruff key

1шт.

63

VOE 910112

Woodruff key

1шт.

64

VOE 243843

Болт

1шт.

65

VOE 13955781

Гайка

1шт.

65

VOE 13955781

Гайка

1шт.

66

VOE 240570

Пробка (заглушка)

1шт.

67

VOE 13947281

Прокладка

1шт.

67

VOE 13947281

Прокладка

1шт.

68

VOE 244042

Гайка

1шт.

69

VOE 842457

842457

1шт.

7

VOE 244623

Round nut

1шт.

70

VOE 7240070

Болт

1шт.

71

VOE 243844

Гайка

1шт.

72

VOE 7240436

Болт

1шт.

72

VOE 7240436

Болт

1шт.

73

VOE 1698167

Прокладка

1шт.

74

VOE 956096

Cross recessed screw

1шт.

74

VOE 956096

Cross recessed screw

1шт.

75

VOE 7239927

Болт

1шт.

76

VOE 13947281

Прокладка

1шт.

76

VOE 13947281

Прокладка

1шт.

8

VOE 3094403

Small parts kit

1шт.

9

VOE 241123

Cap

1шт.

Выбрано товаров: 134