Запчасти Volvo 4600 4600 22580 Головка блока цилиндров

Схема запчастей Volvo 4600 4600 - 22580 Головка блока цилиндров
FIT
1:1
100%

Артикул

Название

Примечание

Количество

VOE 1545199

Головка блока цилиндров

TD 100 G

1шт.

VOE 422956

Головка блока цилиндров

1шт.

VOE 467590

Valve seat

0,20 OD

1шт.

VOE 467590

Valve seat

0,20 OD

1шт.

VOE 467591

Valve seat

0,20 OD

1шт.

VOE 1545023

Socket

1шт.

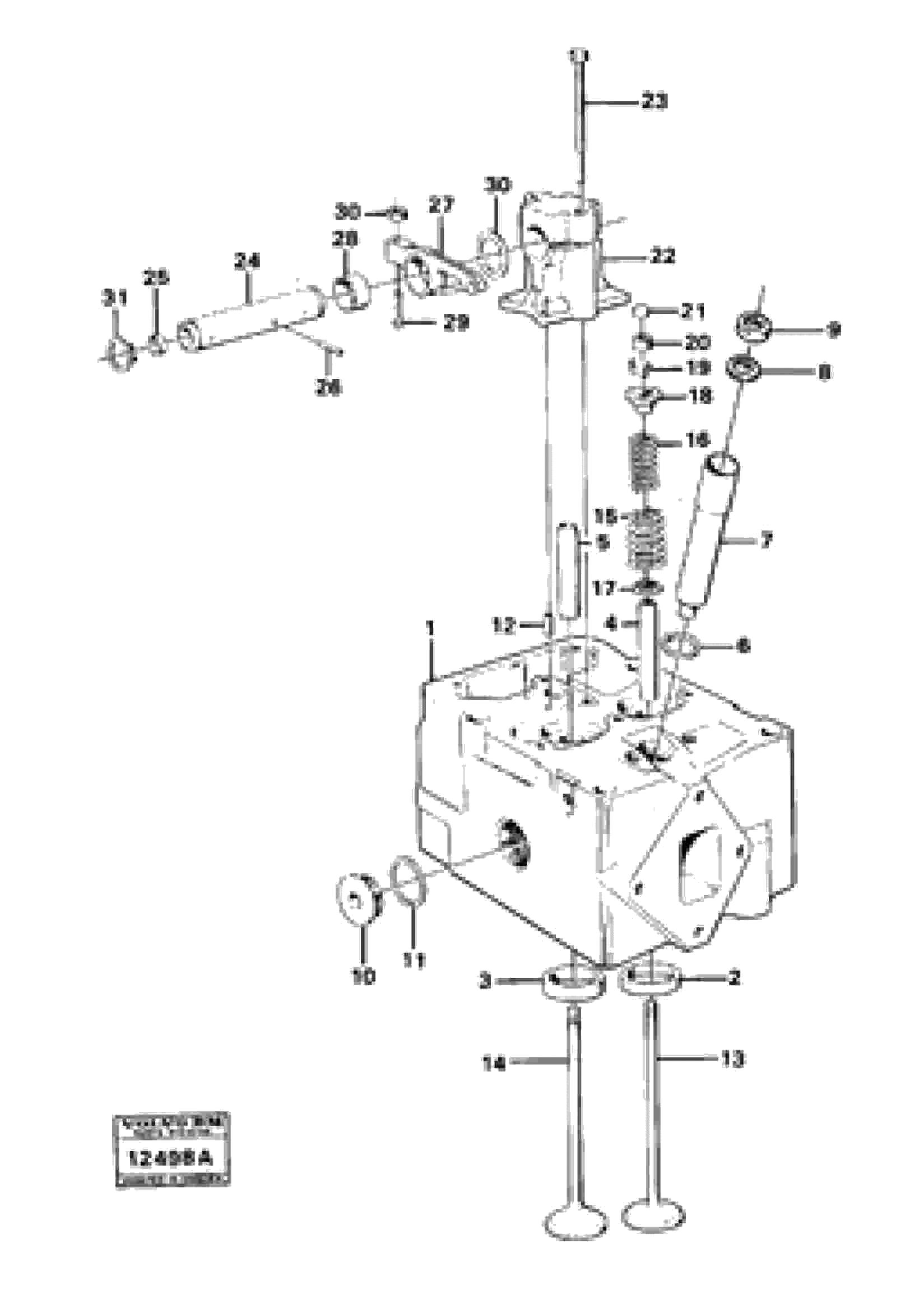
1

VOE 467870

Головка блока цилиндров

TD 100 A

1шт.

10

VOE 467365

Пробка (заглушка)

1шт.

10

VOE 467365

Пробка (заглушка)

1шт.

11

VOE 469327

Прокладка

1шт.

11

VOE 469327

Прокладка

1шт.

12

VOE 14025455

цилиндр контактный

1шт.

13

VOE 479204

Клапан впускной

1шт.

13

VOE 479204

Клапан впускной

1шт.

14

VOE 467855

Клапан выпускной

1шт.

14

VOE 467855

Клапан выпускной

1шт.

15

VOE 467334

Пружина клапана

1шт.

15

VOE 467334

Пружина клапана

1шт.

16

VOE 467335

Пружина клапана

1шт.

16

VOE 467335

Пружина клапана

1шт.

17

VOE 467337

Шайба

1шт.

18

VOE 467506

Шайба

1шт.

18

VOE 467506

Шайба

1шт.

19

VOE 468305

Valve Collet

1шт.

2

VOE 467474

Valve seat

STD D

1шт.

2

VOE 467474

Valve seat

STD D

1шт.

20

VOE 417135

Protecting Ring

1шт.

20

VOE 417135

Protecting Ring

1шт.

21

VOE 478074

Valve Cap

1шт.

21

VOE 478074

Valve Cap

1шт.

22

VOE 422018

Bearing Bracket

1шт.

23

VOE 7422428

Болт

1шт.

23

VOE 7422428

Болт

1шт.

24

VOE 422019

Ось (вал) коромысла

1шт.

24

VOE 422019

Ось (вал) коромысла

1шт.

25

VOE 946778

Cap Plug

1шт.

25

VOE 946778

Cap Plug

1шт.

26

VOE 950499

Палец

1шт.

27

VOE 422063

Коромысло клапанов

1шт.

27

VOE 422063

Коромысло клапанов

1шт.

28

VOE 422066

Втулка

1шт.

28

VOE 422066

Втулка

1шт.

29

VOE 422993

Болт

1шт.

3

VOE 467475

Valve seat

STD D

1шт.

30

VOE 940175

Гайка

1шт.

30

VOE 940175

Гайка

1шт.

31

VOE 941488

Шайба

1шт.

31

VOE 941488

Шайба

1шт.

32

VOE 914459

Snap Ring

1шт.

32

VOE 914459

Кольцо стопорное

1шт.

4

VOE 422320

Valve Guide

1шт.

4

VOE 422320

Valve Guide

1шт.

5

VOE 1545135

Valve Guide

1шт.

5

VOE 1545135

Valve Guide

1шт.

6

VOE 469205

Кольцо уплотнительное

1шт.

7

VOE 467417

Socket

1шт.

8

VOE 466420

Кольцо

1шт.

8

VOE 466420

Кольцо

1шт.

9

VOE 466405

Кольцо уплотнительное

1шт.

9

VOE 466405

Кольцо уплотнительное

1шт.

Выбрано товаров: 60