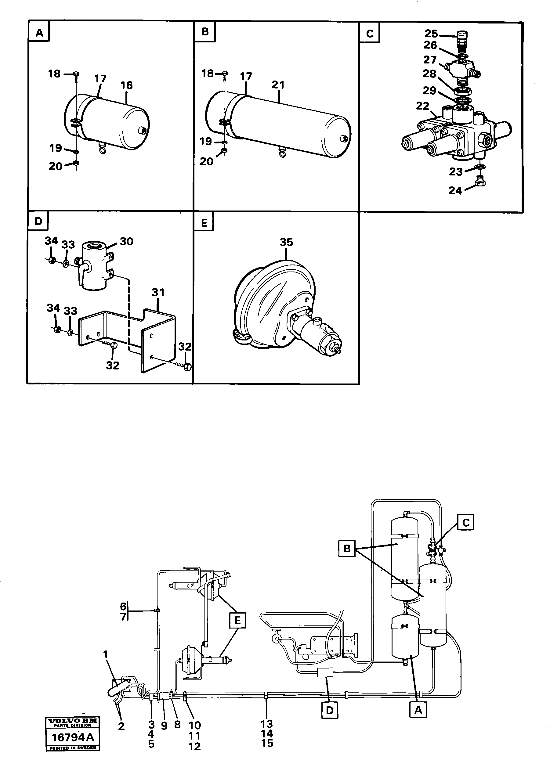
Запчасти Volvo 4600B 4600B 2150 Pneumatic system with componets

Схема запчастей Volvo 4600B 4600B - 2150 Pneumatic system with componets
FIT
1:1
100%

Артикул

Название

Примечание

Количество

VOE 13955298

Болт

L=40

1шт.

VOE 13955298

Болт

L=40

1шт.

VOE 11061767

Бак

1шт.

VOE 11023848

Cprs Air Tank

1шт.

VOE 272701

Ремкомплект

1шт.

VOE 272701

Ремкомплект

1шт.

10

VOE 4931813

Anchorage

SER NO - 2212

1шт.

11

VOE 13955295

Болт

SER NO - 2212

1шт.

11

VOE 13955295

Болт

SER NO - 2212

1шт.

12

VOE 976944

Шайба

SER NO - 2212

1шт.

12

VOE 976944

Шайба

SER NO - 2212

1шт.

13

VOE 4880573

Зажим

1шт.

13

VOE 4880573

Зажим

1шт.

14

VOE 940142

Винт шестигранник

L=30

1шт.

14

VOE 940142

Винт шестигранник

L=30

1шт.

16

VOE 11023848

Cprs Air Tank

1шт.

17

VOE 748171

Tensioning band

1шт.

17

VOE 748171

Tensioning band

1шт.

18

VOE 955299

Винт шестигранник

1шт.

18

VOE 955299

Винт шестигранник

1шт.

19

VOE 13941907

Шайба пружинная

1шт.

19

VOE 13941907

Шайба

1шт.

20

VOE 955782

Hexagon nut

1шт.

20

VOE 955782

Hexagon nut

1шт.

21

VOE 11061767

Бак

1шт.

22

VOE 4871098

Protecting valve

1шт.

22

VOE 4871098

Protecting valve

1шт.

23

VOE 13947622

Plane gasket

1шт.

23

VOE 13947622

Plane gasket

1шт.

24

VOE 960631

Пробка (заглушка)

1шт.

25

VOE 1588148

Клапан

1шт.

26

VOE 13947622

Plane gasket

1шт.

26

VOE 13947622

Plane gasket

1шт.

27

VOE 13948807

Nipple

1шт.

28

VOE 945895

Hexagon nut

1шт.

28

VOE 945895

Hexagon nut

1шт.

29

VOE 13949657

Кольцо уплотнительное (О-кольцо)

1шт.

29

VOE 13949657

Кольцо уплотнительное (О-кольцо)

1шт.

3

VOE 981904

Зажим

1шт.

3

VOE 981904

Зажим

1шт.

30

VOE 7326980

Клапан

1шт.

32

VOE 13955272

Болт

1шт.

32

VOE 13955272

Болт

1шт.

33

VOE 955892

Шайба

1шт.

33

VOE 955892

Шайба

1шт.

34

VOE 13955781

Гайка

1шт.

34

VOE 13955781

Гайка

1шт.

4

VOE 13955295

Болт

1шт.

4

VOE 13955295

Болт

1шт.

5

VOE 955782

Hexagon nut

1шт.

5

VOE 955782

Hexagon nut

1шт.

6

VOE 13949747

Зажим

1шт.

6

VOE 13949747

Зажим

1шт.

7

VOE 940199

Винт шестигранник

1шт.

7

VOE 940199

Винт шестигранник

1шт.

8

VOE 4881440

Cable tie

1шт.

8

VOE 4881440

Cable tie

1шт.

9

VOE 7079878

Шланг

L = 250 MM

1шт.

Выбрано товаров: 58