Запчасти Volvo 4600B 4600B 5181 Гидроцилиндр

Схема запчастей Volvo 4600B 4600B - 5181 Гидроцилиндр
FIT
1:1
100%

Артикул

Название

Примечание

Количество

VOE 4784247

Гидроцилиндр

1шт.

VOE 4784247

Гидроцилиндр

1шт.

VOE 6630749

Gasket kit

1шт.

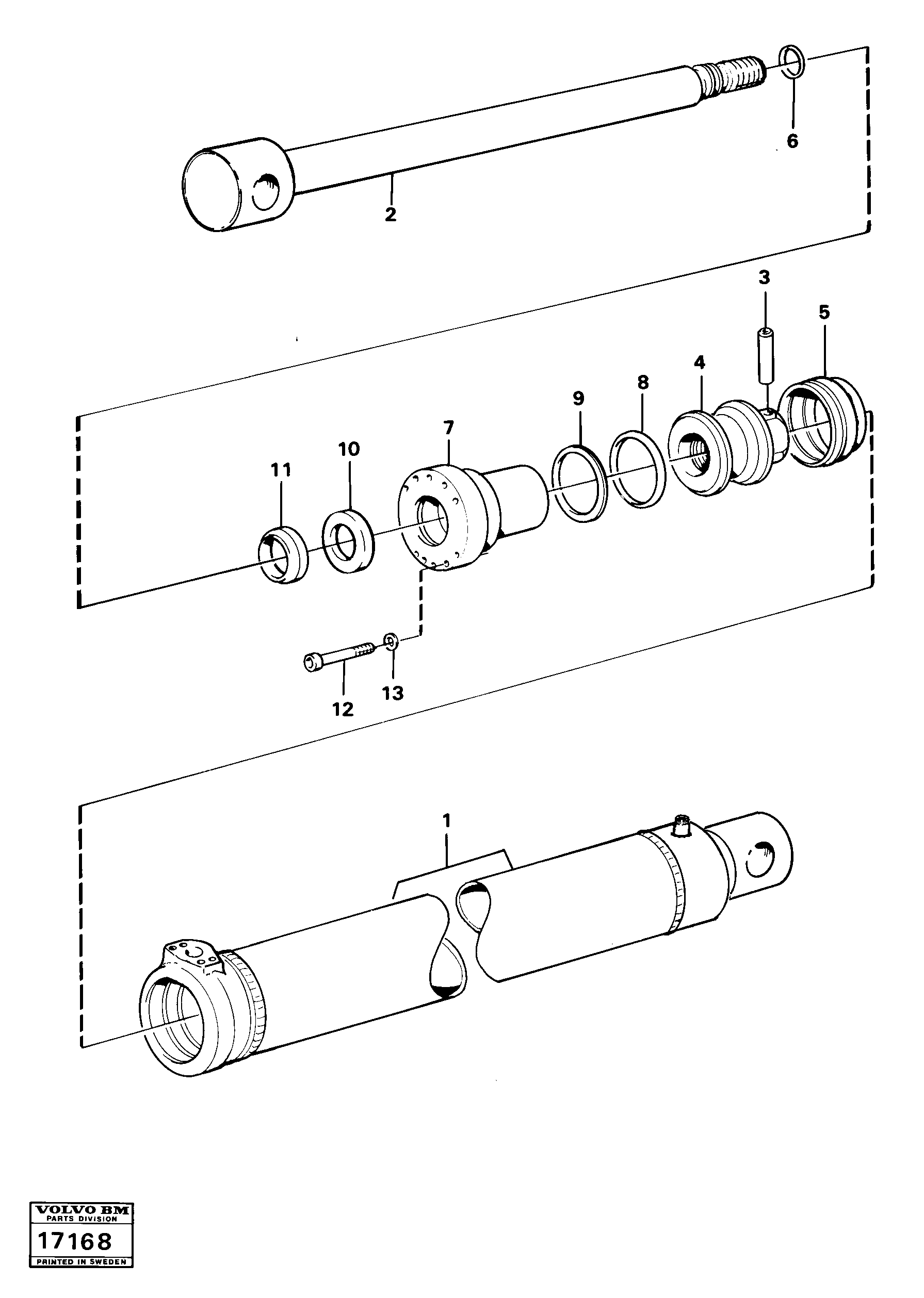
1

VOE 4784244

Cylinder tube

1шт.

10

VOE 4784041

Уплотнение штока поршня

1шт.

11

VOE 4784066

4784066

1шт.

12

VOE 4755947

Болт

1шт.

13

VOE 941908

Шайба пружинная

1шт.

13

VOE 941908

Шайба пружинная

1шт.

2

VOE 4784222

Шток поршня

1шт.

3

VOE 4782717

Палец

1шт.

4

VOE 4782116

Поршень

1шт.

5

VOE 4833021

Сальник

1шт.

6

VOE 13960167

Кольцо уплотнительное (О-кольцо)

1шт.

7

VOE 4784219

Стакан штока поршня (направляющая)

1шт.

8

VOE 927288

Кольцо уплотнительное (О-кольцо)

1шт.

9

VOE 4787061

Back-up ring

1шт.

Выбрано товаров: 17