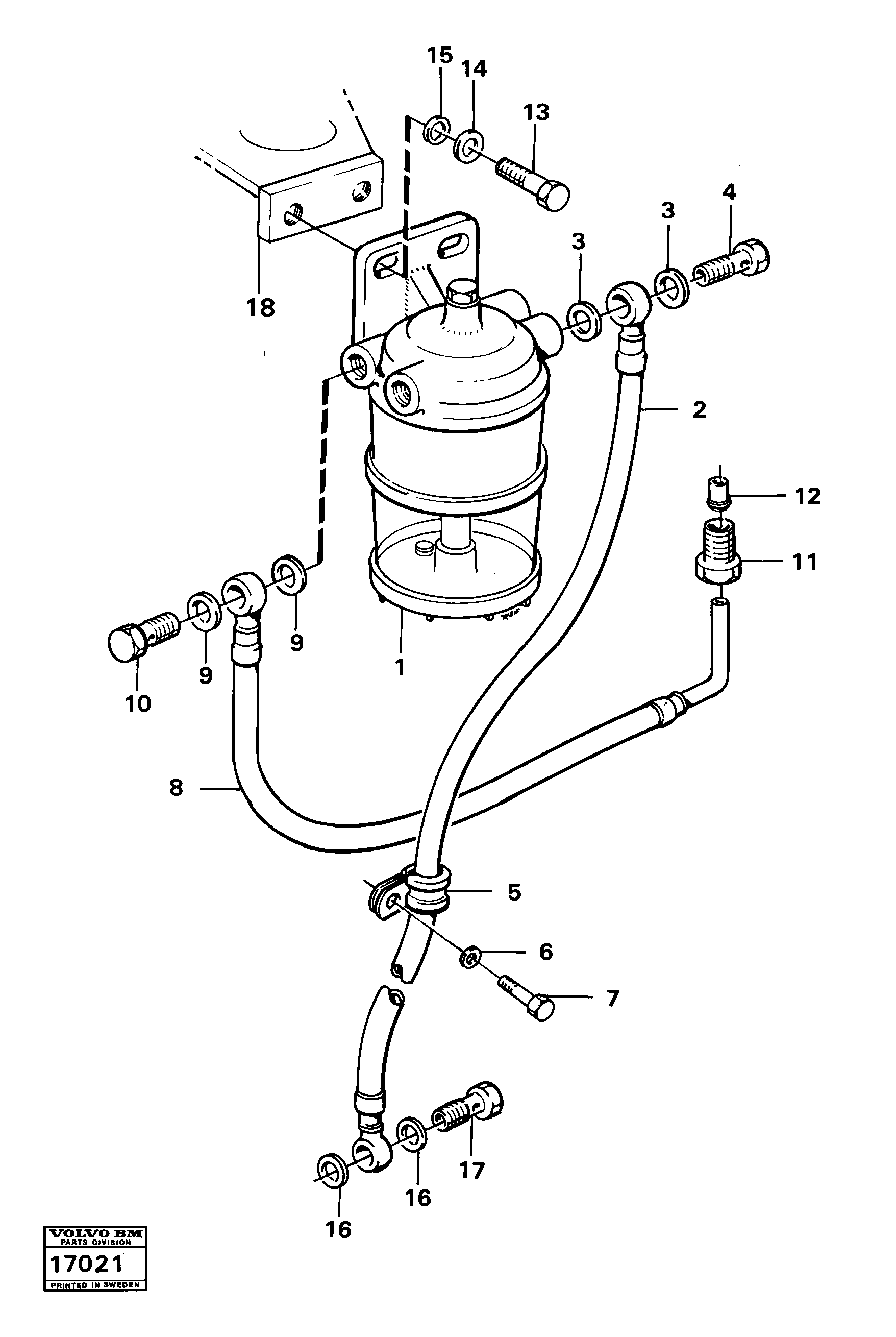
Запчасти Volvo 616B/646 616B,646 D45, TD45 19342 Slurry separator with fitting parts

Схема запчастей Volvo 616B/646 616B,646 D45, TD45 - 19342 Slurry separator with fitting parts
FIT
1:1
100%

Артикул

Название

Примечание

Количество

VOE 4774632

Шланг топливный

MO 59800-

1шт.

VOE 4774632

Шланг топливный

MO 59800-

1шт.

VOE 4804697

Шланг топливный

MO 59800-

1шт.

VOE 4804697

Fuel pipe

MO 59800-

1шт.

1

VOE 4880463

Сепаратор влагоотделителя

1шт.

1

VOE 4880463

Сепаратор влагоотделителя

1шт.

10

VOE 7025167

Hollow Screw

1шт.

10

VOE 7025167

Hollow Screw

1шт.

11

VOE 4780356

Nipple

1шт.

12

VOE 954365

Double Ferrule

1шт.

12

VOE 954365

Double Ferrule

1шт.

13

VOE 955534

Винт шестигранник

1шт.

13

VOE 955534

Винт шестигранник

1шт.

14

VOE 13942336

Шайба пружинная

1шт.

14

VOE 13942336

Шайба пружинная

1шт.

15

VOE 94097

94097

1шт.

16

VOE 13947621

Plane Gasket

1шт.

16

VOE 13947621

Plane Gasket

1шт.

17

VOE 7025167

Hollow Screw

1шт.

17

VOE 7025167

Hollow Screw

1шт.

18

VOE 4804549

Кронштейн

1шт.

2

VOE 4774615

Шланг топливный

MO -59799

1шт.

3

VOE 13947621

Plane Gasket

1шт.

3

VOE 13947621

Plane Gasket

1шт.

4

VOE 7025167

Hollow Screw

1шт.

4

VOE 7025167

Hollow Screw

1шт.

5

VOE 941565

Зажим

1шт.

6

VOE 13941909

Шайба

1шт.

6

VOE 13941909

Шайба

1шт.

7

VOE 13955547

Болт

1шт.

7

VOE 13955547

Болт

1шт.

8

VOE 4804555

Шланг топливный

MO -59799

1шт.

9

VOE 13947621

Plane Gasket

1шт.

9

VOE 13947621

Plane Gasket

1шт.

Выбрано товаров: 0