Запчасти Volvo 616B/646 616B,646 D45, TD45 45259 Гидроцилиндр

Схема запчастей Volvo 616B/646 616B,646 D45, TD45 - 45259 Гидроцилиндр
FIT
1:1
100%

Артикул

Название

Примечание

Количество

VOE 4892462

цилиндр

1шт.

VOE 4892462

цилиндр

1шт.

VOE 6630824

Gasket kit

1шт.

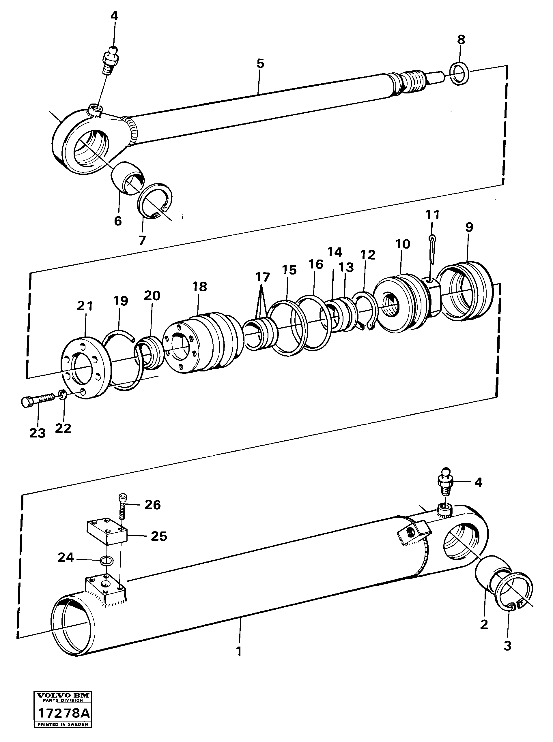
1

VOE 4892448

Cylinder tube

1шт.

10

VOE 4810143

Поршень

1шт.

11

VOE 964967

Cotter Pin

1шт.

12

VOE 914548

Retaining ring

1шт.

12

VOE 914548

Кольцо стопорное

1шт.

13

VOE 4892864

Spacer Ring

1шт.

14

VOE 4784049

Уплотнение штока поршня

1шт.

15

VOE 962586

Back-up ring

1шт.

16

VOE 925030

Кольцо уплотнительное (О-кольцо)

1шт.

16

VOE 925030

Кольцо уплотнительное (О-кольцо)

1шт.

17

VOE 4819421

Guide ring

1шт.

18

VOE 4892863

Головка блока цилиндров

1шт.

19

VOE 4819372

Lock Ring

1шт.

2

VOE 356313

Link bearing

1шт.

2

VOE 356313

Link bearing

1шт.

20

VOE 11005059

Scraper

1шт.

21

VOE 4892461

Cap

1шт.

22

VOE 13955894

Шайба

1шт.

22

VOE 13955894

Шайба

1шт.

23

VOE 940142

Винт шестигранник

1шт.

23

VOE 940142

Винт шестигранник

1шт.

24

VOE 990742

Кольцо уплотнительное (О-кольцо)

1шт.

24

VOE 990742

Кольцо уплотнительное (О-кольцо)

1шт.

25

VOE 4895546

Flange connection

1шт.

26

VOE 959241

Винт шестигранник (торцевой ключ)

1шт.

3

VOE 914544

Кольцо стопорное

1шт.

3

VOE 914544

Retaining ring

1шт.

4

VOE 914160

Lubricating nipple

1шт.

4

VOE 914160

Lubricating nipple

1шт.

5

VOE 4892458

Шток поршня

1шт.

6

VOE 356313

Link bearing

1шт.

6

VOE 356313

Link bearing

1шт.

7

VOE 914544

Кольцо стопорное

1шт.

7

VOE 914544

Retaining ring

1шт.

8

VOE 925091

Кольцо уплотнительное (О-кольцо)

1шт.

8

VOE 925091

Кольцо уплотнительное (О-кольцо)

1шт.

9

VOE 4833038

Piston seal

1шт.

9

VOE 4833038

Piston seal

1шт.

Выбрано товаров: 41