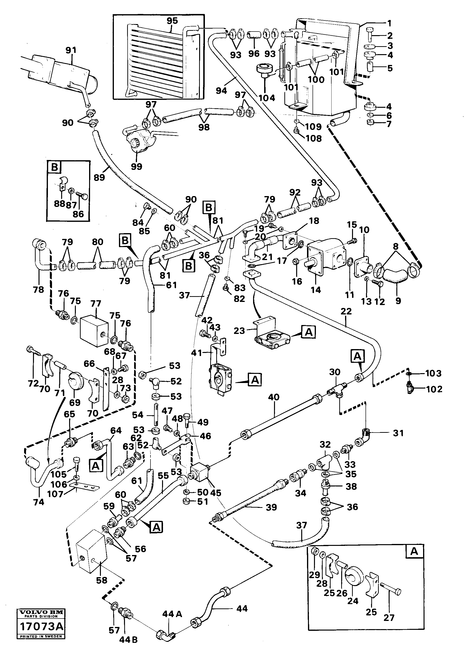
Запчасти Volvo 616B/646 616B,646 D45, TD45 92690 Гидравлическая система

Схема запчастей Volvo 616B/646 616B,646 D45, TD45 - 92690 Гидравлическая система
FIT
1:1
100%

Артикул

Название

Примечание

Количество

VOE 4895619

Клапан

1шт.

VOE 955950

Toothed washer

1шт.

VOE 955950

Toothed washer

1шт.

VOE 4895771

Suction connection

ALT. FOR TANK 4895702/

1шт.

VOE 4722719

Anchorage

646

1шт.

VOE 4895773

Distributor

1шт.

VOE 13949574

Кольцо уплотнительное (О-кольцо)

1шт.

VOE 13949574

Кольцо уплотнительное (О-кольцо)

1шт.

VOE 958228

Кольцо уплотнительное (О-кольцо)

1шт.

VOE 958228

Кольцо уплотнительное (О-кольцо)

1шт.

1

VOE 4724784

Масляный бак

1шт.

10

VOE 4724317

Suction pipe

1шт.

100

VOE 943368

Шланг

L=1100

1шт.

100

VOE 943368

Шланг

L=1100

1шт.

101

VOE 13943472

Hose clamp

1шт.

102

VOE 930032

Testing nipple

1шт.

102

VOE 930032

Testing nipple

1шт.

103

VOE 958225

Кольцо уплотнительное (О-кольцо)

1шт.

103

VOE 958225

Кольцо уплотнительное (О-кольцо)

1шт.

105

VOE 955558

Болт

1шт.

105

VOE 955558

Винт шестигранник

1шт.

106

VOE 955898

Шайба

1шт.

106

VOE 955898

Шайба

1шт.

108

VOE 914390

Пробка (заглушка)

1шт.

108

VOE 914390

Пробка (заглушка)

1шт.

109

VOE 14013067

Sealing washer

1шт.

109

VOE 14013067

Sealing washer

1шт.

11

VOE 6619025

Кольцо уплотнительное (О-кольцо)

1шт.

12

VOE 955561

Винт шестигранник

1шт.

12

VOE 955561

Винт шестигранник

1шт.

13

VOE 955951

Toothed washer

1шт.

13

VOE 955951

Toothed washer

1шт.

14

VOE 11704531

Гидронасос (основной насос)

1шт.

14

VOE 11704531

Гидронасос (основной насос)

1шт.

15

VOE 13970972

Винт шестигранник

1шт.

15

VOE 13970972

Винт шестигранник

1шт.

16

VOE 13971090

Lock nut

1шт.

16

VOE 13971090

Lock nut

1шт.

17

VOE 958230

Кольцо уплотнительное (О-кольцо)

1шт.

18

VOE 926732

Flange half

1шт.

18

VOE 926732

Flange half

1шт.

19

VOE 13940134

Болт

1шт.

19

VOE 13940134

Болт

1шт.

2

VOE 955372

Винт шестигранник

1шт.

2

VOE 955372

Винт шестигранник

1шт.

20

VOE 13940143

Стопорная шайба (кольцо)

1шт.

20

VOE 13940143

Стопорная шайба (кольцо)

1шт.

21

VOE 929648

Hose assembly

1шт.

22

VOE 4866911

Pressure connection

1шт.

24

VOE 4722090

Rubber bushing

1шт.

25

VOE 4722088

Зажим

1шт.

27

VOE 13970959

Винт шестигранник

1шт.

27

VOE 13970959

Винт шестигранник

1шт.

28

VOE 955896

Шайба

1шт.

28

VOE 955896

Шайба

1шт.

29

VOE 955873

Castle nut

1шт.

3

VOE 739351

Spacer sleeve

1шт.

3

VOE 739351

Spacer sleeve

1шт.

30

VOE 13964054

Nipple

1шт.

31

VOE 13964025

Nipple

1шт.

32

VOE 4895773

Distributor

ERS AV 4895773

1шт.

33

VOE 4866091

Фиттинг

1шт.

34

VOE 4723166

Restricting washer

1шт.

34

VOE 4723166

Restricting washer

1шт.

35

VOE 949658

Кольцо уплотнительное (О-кольцо)

1шт.

35

VOE 949658

Кольцо уплотнительное (О-кольцо)

1шт.

36

VOE 943479

Hose clamp

1шт.

37

VOE 13961194

Hydraulic hose

L=1300

1шт.

37

VOE 13961194

Hydraulic hose

L=1300

1шт.

38

VOE 4724630

Nipple

1шт.

39

VOE 927919

Hose assembly

1шт.

39

VOE 927919

Hose assembly

1шт.

4

VOE 11014731

Проставка резиновая (между колес)

1шт.

4

VOE 11014731

Проставка резиновая (между колес)

1шт.

40

VOE 4866913

Oil Pipe

1шт.

41

VOE 4866916

Anchorage

1шт.

42

VOE 13970947

Винт шестигранник

1шт.

42

VOE 13970947

Винт шестигранник

1шт.

43

VOE 955896

Шайба

1шт.

43

VOE 955896

Шайба

1шт.

44

VOE 4866166

Oil Pipe

1шт.

44A

VOE 13964023

Nipple

1шт.

44A

VOE 13964023

Nipple

1шт.

44B

VOE 957059

Nipple

1шт.

44B

VOE 957059

Nipple

1шт.

45

VOE 4722466

Ball cock

1шт.

46

VOE 4722058

Crane beam

1шт.

47

VOE 955269

Винт шестигранник

1шт.

47

VOE 955269

Винт шестигранник

1шт.

48

VOE 976944

Шайба

1шт.

48

VOE 976944

Шайба

1шт.

49

VOE 13970950

Винт шестигранник

1шт.

49

VOE 13970950

Винт шестигранник

1шт.

5

VOE 4740239

Spacer tube

1шт.

5

VOE 4740239

Spacer tube

1шт.

50

VOE 13940109

Lock washer

1шт.

50

VOE 13940109

Стопорная шайба (кольцо)

1шт.

51

VOE 955873

Castle nut

1шт.

52

VOE 959081

Angle ball joint

1шт.

52

VOE 959081

Angle ball joint

1шт.

53

VOE 955873

Castle nut

1шт.

54

VOE 4722094

Pull rod

1шт.

55

VOE 4722869

Delivery pipe

1шт.

56

VOE 4724327

Фиттинг

1шт.

57

VOE 958228

Кольцо уплотнительное (О-кольцо)

1шт.

57

VOE 958228

Кольцо уплотнительное (О-кольцо)

1шт.

58

VOE 4866939

Клапан

1шт.

58

VOE 4866939

Клапан

1шт.

59

VOE 4724630

Nipple

1шт.

6

VOE 13955900

Шайба

1шт.

6

VOE 13955900

Шайба

1шт.

60

VOE 943477

Hose clamp

1шт.

61

VOE 13961194

Hydraulic hose

L=640

1шт.

61

VOE 13961194

Hydraulic hose

L=640

1шт.

62

VOE 958228

Кольцо уплотнительное (О-кольцо)

1шт.

62

VOE 958228

Кольцо уплотнительное (О-кольцо)

1шт.

63

VOE 4724327

Фиттинг

1шт.

64

VOE 4866945

Oil Pipe

1шт.

65

VOE 957063

Nipple

1шт.

67

VOE 955293

Винт шестигранник

1шт.

67

VOE 955293

Винт шестигранник

1шт.

68

VOE 955949

Toothed washer

1шт.

68

VOE 955949

Toothed washer

1шт.

69

VOE 4722089

Rubber bushing

1шт.

7

VOE 963110

Гайка

1шт.

7

VOE 963110

Lock nut

1шт.

70

VOE 4722087

Зажим

1шт.

72

VOE 955303

Винт шестигранник

1шт.

72

VOE 955303

Винт шестигранник

1шт.

73

VOE 13955572

Болт

1шт.

73

VOE 13955572

Болт

1шт.

74

VOE 4722074

Delivery pipe

1шт.

75

VOE 958228

Кольцо уплотнительное (О-кольцо)

1шт.

75

VOE 958228

Кольцо уплотнительное (О-кольцо)

1шт.

76

VOE 4724327

Фиттинг

1шт.

77

VOE 4866940

Клапан

1шт.

78

VOE 4895569

Delivery pipe

1шт.

79

VOE 943478

Hose clamp

1шт.

79

VOE 943478

Hose clamp

1шт.

8

VOE 943478

Hose clamp

1шт.

8

VOE 943478

Hose clamp

1шт.

80

VOE 961198

Hose

L=875

1шт.

80

VOE 961198

Шланг

L=875

1шт.

81

VOE 4722066

Return pipe

1шт.

82

VOE 914390

Пробка (заглушка)

1шт.

82

VOE 914390

Пробка (заглушка)

1шт.

83

VOE 14013067

Sealing washer

1шт.

83

VOE 14013067

Sealing washer

1шт.

84

VOE 914391

Пробка (заглушка)

1шт.

84

VOE 914391

Пробка (заглушка)

1шт.

85

VOE 13947622

Plane gasket

1шт.

85

VOE 13947622

Plane gasket

1шт.

86

VOE 955297

Винт шестигранник

1шт.

86

VOE 955297

Винт шестигранник

1шт.

87

VOE 955949

Toothed washer

1шт.

87

VOE 955949

Toothed washer

1шт.

88

VOE 4724329

Зажим

1шт.

89

VOE 13961192

Hydraulic hose

L=400

1шт.

9

VOE 4724318

Rubber hose

1шт.

90

VOE 13943474

Hose clamp

1шт.

92

VOE 961198

Hose

L=800

1шт.

92

VOE 961198

Шланг

L=800

1шт.

93

VOE 943478

Hose clamp

1шт.

93

VOE 943478

Hose clamp

1шт.

94

VOE 4722073

Oil pipe

1шт.

95

VOE 4748874

Масляный радиатор

1шт.

96

VOE 961198

Hose

L=175

1шт.

96

VOE 961198

Шланг

L=175

1шт.

97

VOE 13943474

Hose clamp

1шт.

98

VOE 190993

Шланг

1шт.

98

VOE 190993

Шланг

1шт.

Выбрано товаров: 171