Запчасти Volvo 616B/646 616B,646 D45, TD45 4140 Fuel system mo 59800-

Схема запчастей Volvo 616B/646 616B,646 D45, TD45 - 4140 Fuel system mo 59800-
FIT
1:1
100%

Артикул

Название

Примечание

Количество

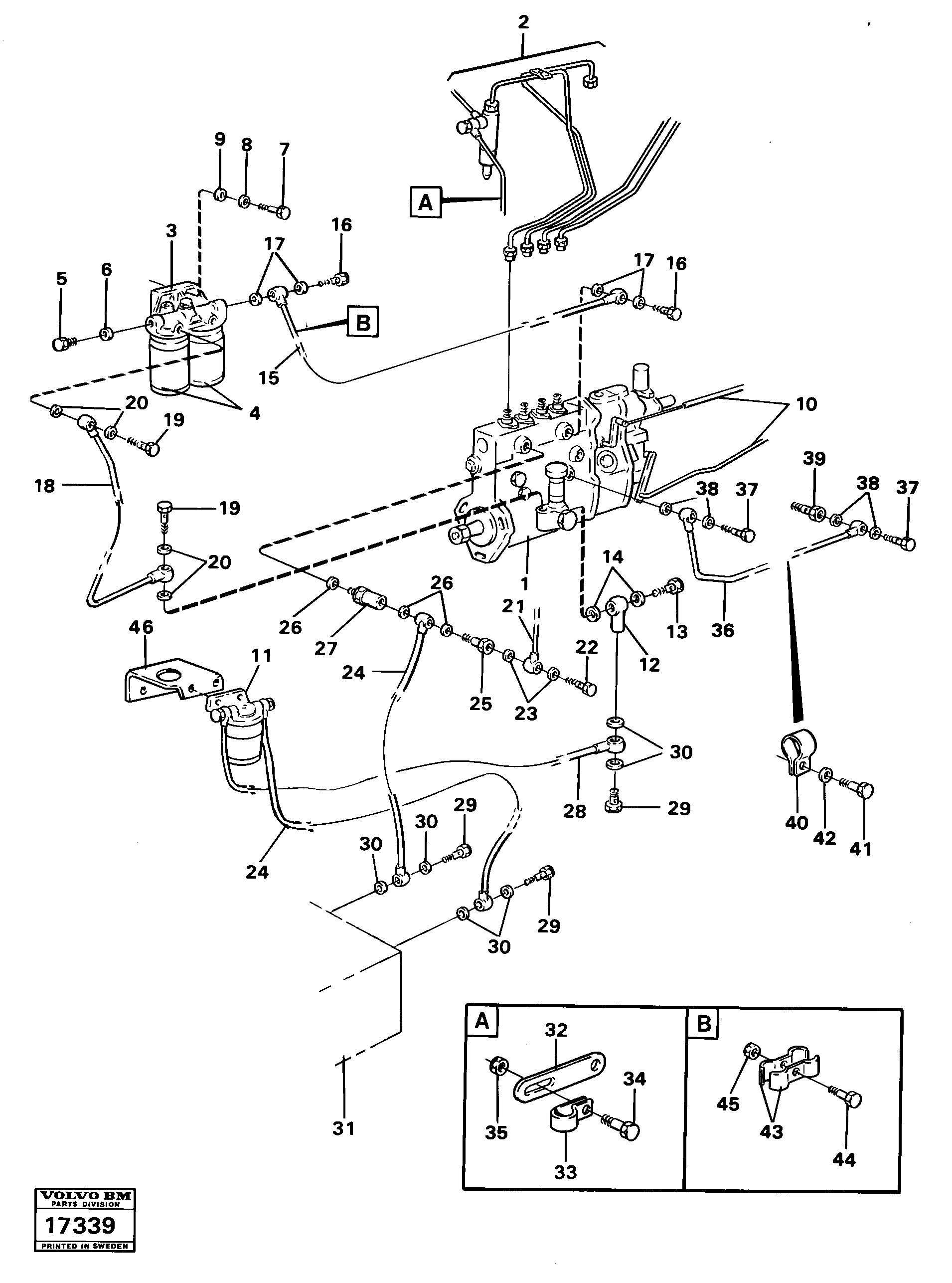
11

VOE 4880463

Сепаратор влагоотделителя

1шт.

11

VOE 4880463

Сепаратор влагоотделителя

1шт.

13

VOE 7025167

Hollow screw

1шт.

13

VOE 7025167

Hollow screw

1шт.

14

VOE 13947621

Plane gasket

1шт.

14

VOE 13947621

Plane gasket

1шт.

15

VOE 4804601

Fuel pipe

1шт.

15

VOE 4804601

Fuel pipe

1шт.

16

VOE 7025167

Hollow screw

1шт.

16

VOE 7025167

Hollow screw

1шт.

17

VOE 13947621

Plane gasket

1шт.

17

VOE 13947621

Plane gasket

1шт.

18

VOE 4804599

Fuel pipe

1шт.

18

VOE 4804599

Fuel pipe

1шт.

19

VOE 7025167

Hollow screw

1шт.

19

VOE 7025167

Hollow screw

1шт.

20

VOE 13947621

Plane gasket

1шт.

20

VOE 13947621

Plane gasket

1шт.

21

VOE 4804603

Fuel pipe

1шт.

21

VOE 4804603

Fuel pipe

1шт.

22

VOE 7074033

Hollow screw

1шт.

22

VOE 7074033

Hollow screw

1шт.

23

VOE 947620

Прокладка

1шт.

23

VOE 947620

Прокладка

1шт.

24

VOE 4804697

Шланг топливный

1шт.

24

VOE 4804697

Fuel hose

1шт.

25

VOE 7016496

Hollow screw

1шт.

25

VOE 7016496

Hollow screw

1шт.

26

VOE 13947621

Plane gasket

1шт.

26

VOE 13947621

Plane gasket

1шт.

27

VOE 479775

Overflow valve

1шт.

27

VOE 479775

Overflow valve

1шт.

28

VOE 4774632

Шланг топливный

1шт.

28

VOE 4774632

Шланг топливный

1шт.

29

VOE 7025167

Hollow screw

1шт.

29

VOE 7025167

Hollow screw

1шт.

3

VOE 1676832

Картер (корпус)

1шт.

3

VOE 1676832

Картер (корпус)

1шт.

30

VOE 13947621

Plane gasket

1шт.

30

VOE 13947621

Plane gasket

1шт.

32

VOE 943955

943955

1шт.

33

VOE 7121563

Зажим

1шт.

33

VOE 7121563

Зажим

1шт.

34

VOE 956094

Cross recessed screw

1шт.

34

VOE 956094

Cross recessed screw

1шт.

35

VOE 13955781

Гайка

1шт.

35

VOE 13955781

Гайка

1шт.

36

VOE 4804757

Oil pipe

1шт.

36

VOE 4804757

Oil pipe

1шт.

37

VOE 7048634

Hollow screw

1шт.

37

VOE 7048634

Hollow screw

1шт.

38

VOE 13947281

Прокладка

1шт.

38

VOE 13947281

Прокладка

1шт.

39

VOE 4804756

Nipple

16207 MO. - 60624

1шт.

39

VOE 4804756

Nipple

16207 MO. - 60624

1шт.

4

VOE 466987

Фильтр топливный

1шт.

4

VOE 466987

Фильтр топливный

1шт.

40

VOE 940374

Зажим

1шт.

40

VOE 940374

Зажим

1шт.

41

VOE 955511

Винт шестигранник

1шт.

41

VOE 955511

Болт

1шт.

42

VOE 955893

Шайба

1шт.

42

VOE 955893

Шайба

1шт.

43

VOE 404279

Зажим

1шт.

43

VOE 404279

Зажим

1шт.

44

VOE 956094

Cross recessed screw

1шт.

44

VOE 956094

Cross recessed screw

1шт.

45

VOE 13955781

Гайка

1шт.

45

VOE 13955781

Гайка

1шт.

5

VOE 960630

Пробка (заглушка)

1шт.

5

VOE 960630

Пробка (заглушка)

1шт.

6

VOE 13947621

Plane gasket

1шт.

6

VOE 13947621

Plane gasket

1шт.

7

VOE 13940162

Болт

1шт.

7

VOE 13940162

Болт

1шт.

8

VOE 13942336

Шайба пружинная

1шт.

8

VOE 13942336

Шайба пружинная

1шт.

9

VOE 13940097

Шайба

1шт.

9

VOE 13940097

Шайба

1шт.

Выбрано товаров: 79