Запчасти Volvo 6300 6300 2133 Inlet and exhaust system

Схема запчастей Volvo 6300 6300 - 2133 Inlet and exhaust system
FIT
1:1
100%

Артикул

Название

Примечание

Количество

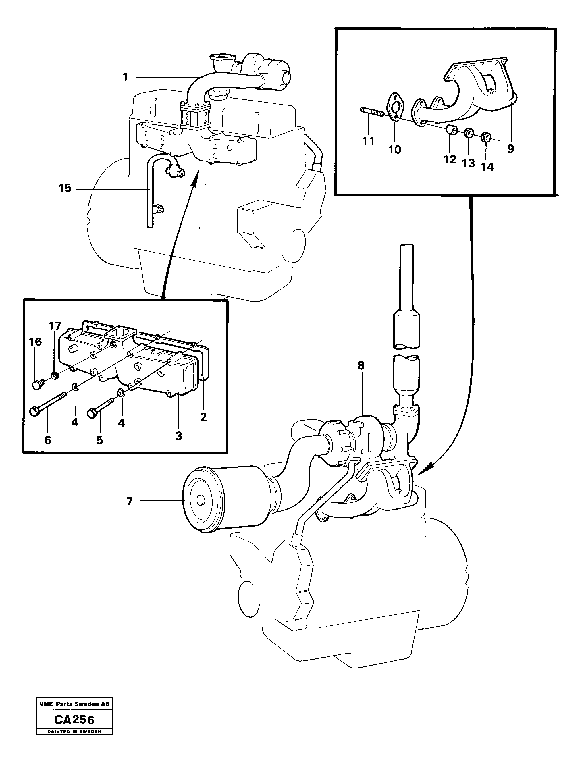
10

VOE 4804249

Прокладка

1шт.

10

VOE 4804249

Прокладка

1шт.

11

VOE 953492

Шпилька

1шт.

12

VOE 422217

Spacer sleeve

1шт.

12

VOE 422217

Spacer sleeve

1шт.

13

VOE 942299

Flange nut

1шт.

13

VOE 942299

Flange nut

1шт.

14

VOE 955835

Гайка

1шт.

14

VOE 955835

Hexagon nut

1шт.

16

VOE 960628

Пробка (заглушка)

ENG 64519 -

1шт.

17

VOE 13947281

Прокладка

ENG 64519 -

1шт.

17

VOE 13947281

Прокладка

ENG 64519 -

1шт.

2

VOE 11030035

Прокладка

1шт.

2

VOE 11030035

Прокладка

1шт.

3

VOE 4804735

Трубка

1шт.

4

VOE 13941907

Шайба пружинная

1шт.

4

VOE 13941907

Шайба

1шт.

5

VOE 13940136

Болт

1шт.

5

VOE 13940136

Болт

1шт.

6

VOE 955530

Винт шестигранник

1шт.

6

VOE 955530

Болт

1шт.

9

VOE 4804795

Exhaust pipe

1шт.

Выбрано товаров: 22