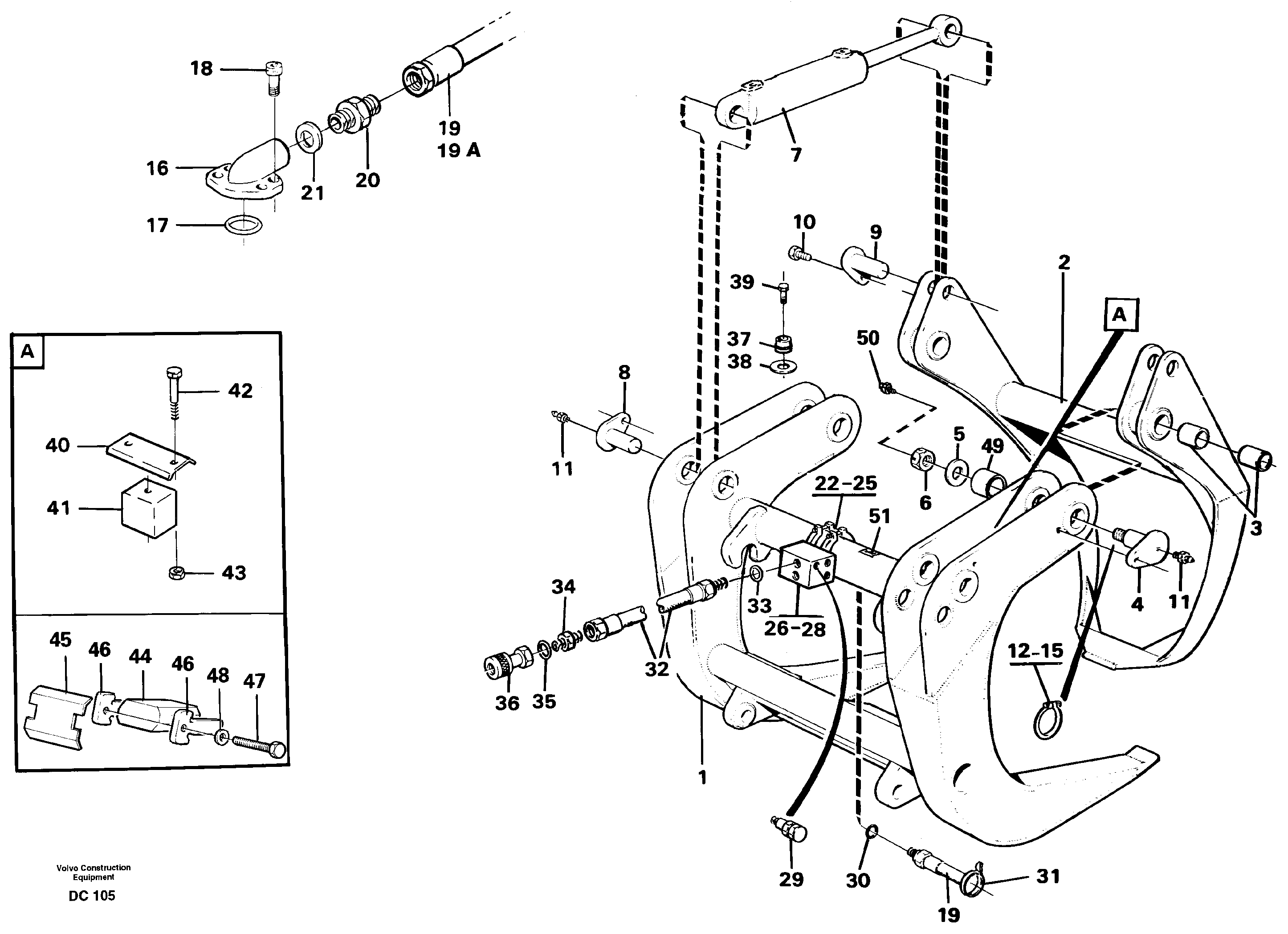
Запчасти Volvo EL70C 32153 Sorting grapple ATTACHMENTS ATTACHMENTS WHEEL LOADERS GEN. - C

Схема запчастей Volvo EL70C - 32153 Sorting grapple ATTACHMENTS ATTACHMENTS WHEEL LOADERS GEN. - C
FIT
1:1
100%

Артикул

Название

Примечание

Количество

VOE 927286

Кольцо уплотнительное (О-кольцо)

ID=30,2

1шт.

VOE 927286

Кольцо уплотнительное (О-кольцо)

ID=30,2

1шт.

VOE 925064

Кольцо уплотнительное (О-кольцо)

ID=32,2

1шт.

VOE 925064

Кольцо уплотнительное (О-кольцо)

ID=32,2

1шт.

VOE 11043021

Втулка (распорная)

L PROD

1шт.

VOE 11043021

Втулка (распорная)

L PROD

1шт.

VOE 11993255

Кольцо уплотнительное (О-кольцо)

INNER

1шт.

VOE 11993255

Кольцо уплотнительное (О-кольцо)

INNER

1шт.

VOE 11993256

Кольцо уплотнительное (О-кольцо)

OUTER

1шт.

VOE 11993256

Кольцо уплотнительное (О-кольцо)

OUTER

1шт.

VOE 11993257

Back-up ring

1шт.

VOE 11993257

Back-up ring

1шт.

VOE 932220

Hose assembly

1шт.

VOE 964114

Кольцо уплотнительное (О-кольцо)

1шт.

VOE 964114

Кольцо уплотнительное (О-кольцо)

1шт.

VOE 955987

Кольцо уплотнительное (О-кольцо)

1шт.

VOE 955987

Кольцо уплотнительное (О-кольцо)

1шт.

VOE 6212561

Back-up ring

1шт.

VOE 6212561

Back-up ring

1шт.

VOE 4784780

Гидроцилиндр

1шт.

1

VOE 4859248

Картер (корпус)

1шт.

10

VOE 13973144

Винт шестигранник

1шт.

10

VOE 13973144

Винт шестигранник

1шт.

11

VOE 784323

Nipple

1шт.

11

VOE 784323

Nipple

1шт.

12

VOE 4824481

Кольцо уплотнительное (О-кольцо)

1шт.

12

VOE 4824481

Кольцо уплотнительное (О-кольцо)

1шт.

13

VOE 955257

Винт шестигранник

1шт.

13

VOE 955257

Винт шестигранник

1шт.

14

VOE 13940090

Шайба

1шт.

14

VOE 13940090

Шайба

1шт.

15

VOE 13963104

Lock nut

1шт.

15

VOE 13963104

Lock nut

1шт.

16

VOE 11156848

Соединитель

1шт.

17

VOE 948698

Кольцо уплотнительное (О-кольцо)

1шт.

18

VOE 959222

Allen Hd Screw

1шт.

19

VOE 931718

Hose assembly

1шт.

19

VOE 931718

Hose assembly

1шт.

20

VOE 13943986

Nipple

1шт.

20

VOE 13943986

Nipple

1шт.

21

VOE 14013069

Sealing washer

1шт.

21

VOE 14013069

Прокладка

1шт.

22

VOE 4858589

Зажим

1шт.

23

VOE 13970962

Винт шестигранник

1шт.

23

VOE 13970962

Винт шестигранник

1шт.

24

VOE 941908

Шайба пружинная

1шт.

24

VOE 941908

Шайба пружинная

1шт.

25

VOE 971071

Hexagon nut

1шт.

25

VOE 971071

Hexagon nut

1шт.

26

VOE 4888229

Oil distributor

1шт.

26

VOE 4888229

Oil distributor

1шт.

27

VOE 13970970

Винт шестигранник

1шт.

27

VOE 13970970

Винт шестигранник

1шт.

28

VOE 940280

Шайба пружинная

1шт.

28

VOE 940280

Шайба пружинная

1шт.

29

VOE 4859420

Overflow valve

1шт.

29

VOE 4859420

Overflow valve

1шт.

3

VOE 4890051

Втулка

1шт.

3

VOE 4890051

Втулка

1шт.

30

VOE 958227

Кольцо уплотнительное (О-кольцо)

1шт.

30

VOE 958227

Кольцо уплотнительное (О-кольцо)

1шт.

31

VOE 4881440

Cable tie

1шт.

31

VOE 4881440

Cable tie

1шт.

32

VOE 13932650

Hose assembly

1шт.

32

VOE 13932650

Hose assembly

1шт.

33

VOE 958228

Кольцо уплотнительное (О-кольцо)

1шт.

33

VOE 958228

Кольцо уплотнительное (О-кольцо)

1шт.

34

VOE 13943988

Nipple

1шт.

34

VOE 13943988

Nipple

1шт.

35

VOE 14013070

Sealing washer

1шт.

35

VOE 14013070

Sealing washer

1шт.

36

VOE 4786201

Snap-on coupling

E PROD

1шт.

36

VOE 4786201

Snap-on coupling

E PROD

1шт.

37

VOE 4885042

Пробка (заглушка)

1шт.

37

VOE 4885042

Пробка (заглушка)

1шт.

38

VOE 4885043

Шайба

1шт.

38

VOE 4885043

Шайба

1шт.

39

VOE 955297

Винт шестигранник

1шт.

39

VOE 955297

Винт шестигранник

1шт.

4

VOE 4858642

Палец

1шт.

42

VOE 13970958

Винт шестигранник

E PROD

1шт.

42

VOE 13970958

Винт шестигранник

E PROD

1шт.

43

VOE 13971083

Lock nut

E PROD

1шт.

43

VOE 13971083

Lock nut

E PROD

1шт.

44

VOE 4859480

Absorber

L PROD

1шт.

44

VOE 4859480

Absorber

L PROD

1шт.

45

VOE 4859481

Зажим

L PROD

1шт.

46

VOE 4859483

Anchorage

L PROD

1шт.

46

VOE 4859483

Anchorage

L PROD

1шт.

47

VOE 13970947

Винт шестигранник

L PROD

1шт.

47

VOE 13970947

Винт шестигранник

L PROD

1шт.

48

VOE 976945

Шайба

L PROD

1шт.

48

VOE 976945

Шайба

L PROD

1шт.

49

VOE 4858716

Вставка

1шт.

49

VOE 4858716

Вставка

1шт.

5

VOE 4809212

Шайба

1шт.

5

VOE 4809212

Шайба

1шт.

50

VOE 914167

Lubricating nipple

1шт.

50

VOE 914167

Lubricating nipple

1шт.

51

VOE 11011926

Decal

1шт.

51

VOE 11011926

Decal

1шт.

6

VOE 13963112

Lock nut

1шт.

6

VOE 13963112

Lock nut

1шт.

7

VOE 4784785

Гидроцилиндр

1шт.

8

VOE 4858587

Палец

1шт.

9

VOE 4805989

Палец

1шт.

Выбрано товаров: 106