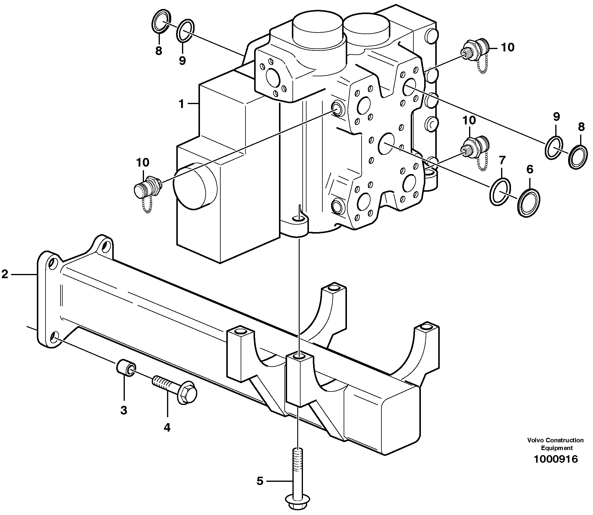
Запчасти Volvo L110E 52503 Control valve with fitting parts L110E S/N 1002 - 2165 SWE, 60001- USA,70201-70257BRA

Схема запчастей Volvo L110E - 52503 Control valve with fitting parts L110E S/N 1002 - 2165 SWE, 60001- USA,70201-70257BRA
FIT
1:1
100%

Артикул

Название

Примечание

Количество

10

VOE 936444

Testing nipple

A1, A2, B1

1шт.

10

VOE 936444

Testing nipple

A1, A2, B1

1шт.

2

VOE 11108705

Attachment

1шт.

2

VOE 11108705

Attachment

1шт.

3

VOE 11025923

Вставка

1шт.

3

VOE 11025923

Вставка

1шт.

4

VOE 13965193

Болт

1шт.

4

VOE 13965193

Screw

1шт.

5

VOE 13965190

Болт

1шт.

5

VOE 13965190

Болт

1шт.

6

VOE 11108798

Пробка (заглушка)

P

1шт.

6

VOE 11108798

Пробка (заглушка)

P

1шт.

7

VOE 990757

Кольцо уплотнительное

1шт.

8

VOE 11172549

Пробка (заглушка)

A1, B1

1шт.

9

VOE 990756

Кольцо уплотнительное

1шт.

Выбрано товаров: 15