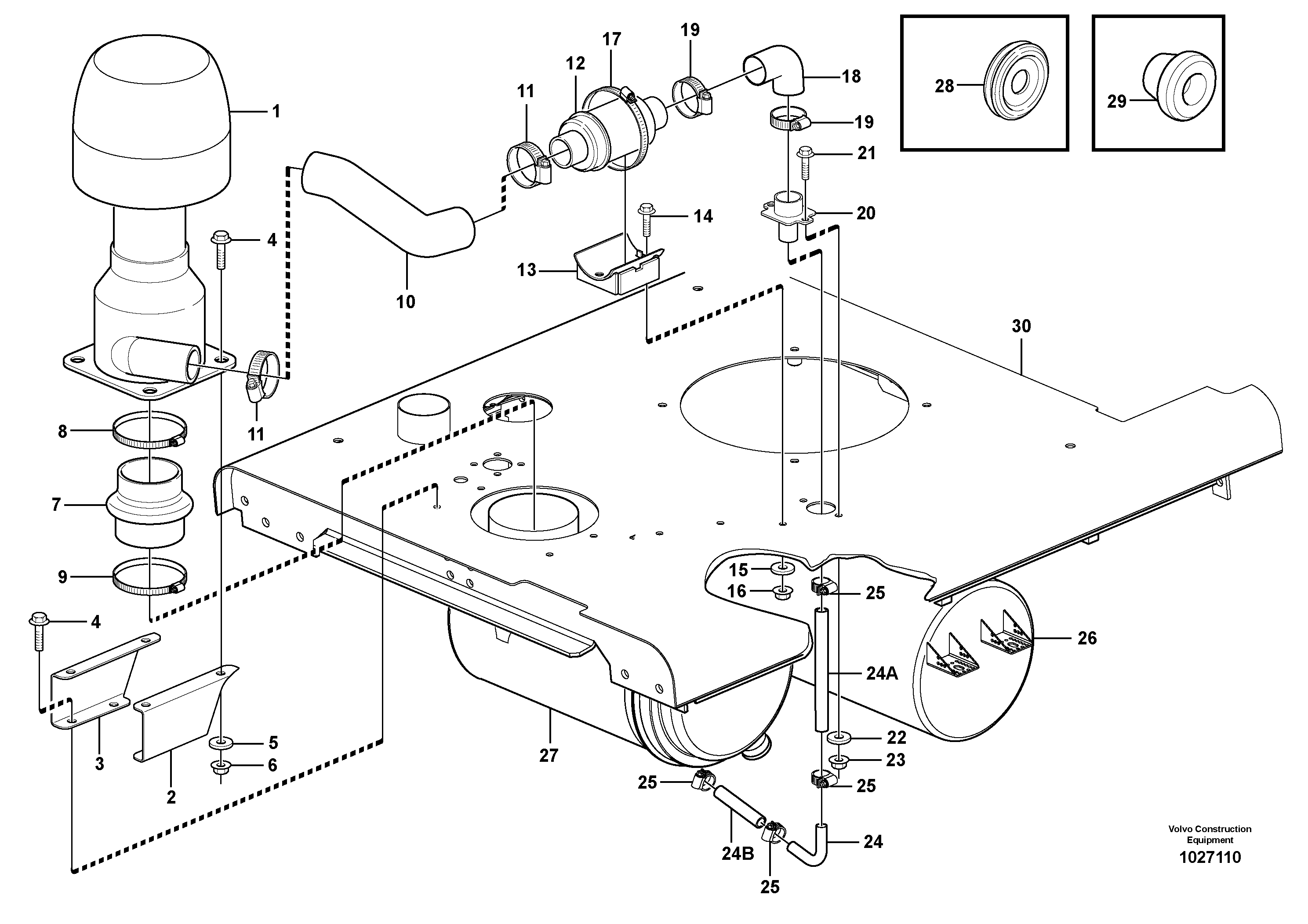
Запчасти Volvo L110E 37699 Pre-cleaner L110E S/N 1002 - 2165 SWE, 60001- USA,70201-70257BRA

Схема запчастей Volvo L110E - 37699 Pre-cleaner L110E S/N 1002 - 2165 SWE, 60001- USA,70201-70257BRA
FIT
1:1
100%

Артикул

Название

Примечание

Количество

VOE 941268

Пробка (заглушка)

OD = 20 MM

1шт.

VOE 941268

Пробка (заглушка)

OD = 20 MM

1шт.

VOE 943920

Пробка (заглушка)

OD = 40 MM

1шт.

VOE 943920

Пробка (заглушка)

OD = 40 MM

1шт.

VOE 11715353

Air cleaner

1шт.

VOE 11715353

Air cleaner

1шт.

1

VOE 11417477

Primary filter

1шт.

1

VOE 11417477

Primary filter

1шт.

10

VOE 11417478

Convolut Tubing

1шт.

11

VOE 943478

Hose clamp

1шт.

11

VOE 943478

Hose clamp

1шт.

12

VOE 11417482

Non-return valve

1шт.

12

VOE 11417482

Клапан обратный

1шт.

13

VOE 11417493

Кронштейн

1шт.

14

VOE 13945444

Болт

1шт.

14

VOE 13945444

Screw

1шт.

15

VOE 13955894

Шайба

1шт.

15

VOE 13955894

Шайба

1шт.

16

VOE 948645

Flange lock nut

1шт.

16

VOE 948645

Flange lock nut

1шт.

17

VOE 943483

Hose clamp

1шт.

17

VOE 943483

Hose clamp

1шт.

18

VOE 11417478

Convolut Tubing

1шт.

19

VOE 943478

Hose clamp

1шт.

19

VOE 943478

Hose clamp

1шт.

2

VOE 11436087

Кронштейн

LH

1шт.

20

VOE 11417489

Адаптер

1шт.

20

VOE 11417489

Адаптер

1шт.

21

VOE 13945444

Болт

1шт.

21

VOE 13945444

Screw

1шт.

22

VOE 13955894

Шайба

1шт.

22

VOE 13955894

Шайба

1шт.

23

VOE 948645

Flange lock nut

1шт.

23

VOE 948645

Flange lock nut

1шт.

24

VOE 11417497

Трубка

1шт.

24A

VOE 952972

Hose

L = 300 MM

1шт.

24A

VOE 952972

Шланг

L = 300 MM

1шт.

24B

VOE 952972

Hose

L = 150 MM

1шт.

24B

VOE 952972

Шланг

L = 150 MM

1шт.

25

VOE 943475

Hose clamp

1шт.

25

VOE 943475

Hose clamp

1шт.

28

VOE 14342769

Rubber sleeve

1шт.

28

VOE 14342769

Rubber sleeve

1шт.

29

VOE 13974682

Пробка (заглушка)

OD = 10 MM

1шт.

29

VOE 13974682

Пробка (заглушка)

OD = 10 MM

1шт.

3

VOE 11436088

Кронштейн

RH

1шт.

30

VOE 11181003

Top plate

1шт.

30

VOE 11181003

Top plate

1шт.

4

VOE 13945444

Болт

1шт.

4

VOE 13945444

Screw

1шт.

5

VOE 13955894

Шайба

1шт.

5

VOE 13955894

Шайба

1шт.

6

VOE 948645

Flange lock nut

1шт.

6

VOE 948645

Flange lock nut

1шт.

7

VOE 11417480

Адаптер

1шт.

7

VOE 11417480

Адаптер

1шт.

8

VOE 943485

Hose clamp

1шт.

8

VOE 943485

Hose clamp

1шт.

9

VOE 943485

Hose clamp

1шт.

9

VOE 943485

Hose clamp

1шт.

Выбрано товаров: 60