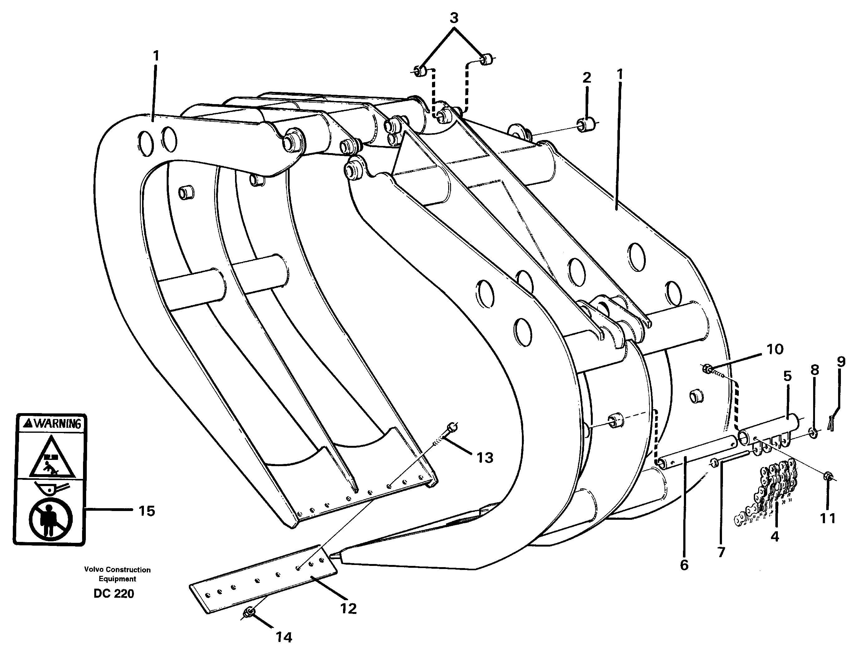
Запчасти Volvo L110E 66588 Grapple ATTACHMENTS ATTACHMENTS WHEEL LOADERS GEN. D - E

Схема запчастей Volvo L110E - 66588 Grapple ATTACHMENTS ATTACHMENTS WHEEL LOADERS GEN. D - E
FIT
1:1
100%

Артикул

Название

Примечание

Количество

VOE 11157637

Chain

1шт.

VOE 11157641

Anchorage

1шт.

VOE 11157635

Anchorage

1шт.

VOE 11012449

Трубка

1шт.

VOE 11157947

Bolt On Edge

1шт.

10

VOE 13965197

Flange screw

1шт.

10

VOE 13965197

Flange screw

1шт.

11

VOE 971099

Flange lock nut

1шт.

11

VOE 971099

Flange lock nut

1шт.

12

VOE 11157944

Bolt On Edge

1шт.

13

VOE 975126

Flange screw

1шт.

14

VOE 969318

Flange lock nut

1шт.

15

VOE 11027566

Warning decal

1шт.

15

VOE 11027566

Warning decal

1шт.

2

VOE 4890051

Втулка

1шт.

2

VOE 4890051

Втулка

1шт.

3

VOE 14210664

Втулка

1шт.

4

VOE 11157665

Chain

1шт.

5

VOE 11157635

Anchorage

1шт.

6

VOE 11081556

Трубка

1шт.

7

VOE 11157636

Вал

1шт.

8

VOE 955905

Шайба

1шт.

8

VOE 955905

Шайба

1шт.

9

VOE 907887

Cotter Pin

1шт.

Выбрано товаров: 24