Запчасти Volvo L110F 14013 Fender, rear L110F

Схема запчастей Volvo L110F - 14013 Fender, rear L110F
FIT
1:1
100%

Артикул

Название

Примечание

Количество

VOE 11400843

Rear fender

1шт.

VOE 11400843

Rear fender

1шт.

VOE 11174778

Fender flare

1шт.

VOE 11174778

Fender flare

1шт.

VOE 11400851

Rear fender

1шт.

VOE 11400851

Rear fender

1шт.

VOE 11174774

Fender flare

1шт.

VOE 11174774

Fender flare

1шт.

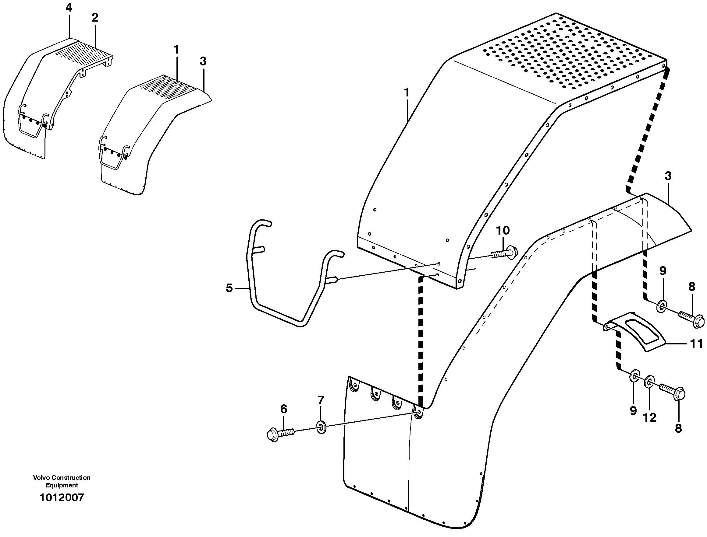
1

VOE 11400842

Rear fender

1шт.

1

VOE 11400842

Rear fender

1шт.

10

VOE 13974682

Пробка (заглушка)

1шт.

10

VOE 13974682

Пробка (заглушка)

1шт.

11

VOE 941266

Пробка (заглушка)

1шт.

11

VOE 941266

Пробка (заглушка)

1шт.

12

VOE 11435550

Gas Spring

1шт.

12

VOE 11435550

Gas Spring

1шт.

2

VOE 11400850

Rear fender

1шт.

2

VOE 11400850

Rear fender

1шт.

3

VOE 11174777

Fender flare

1шт.

3

VOE 11174777

Fender flare

1шт.

4

VOE 11174773

Fender flare

1шт.

4

VOE 11174773

Fender flare

1шт.

5

VOE 11175819

Handle

1шт.

6

VOE 946329

Flange screw

1шт.

6

VOE 946329

Flange screw

1шт.

7

VOE 13960145

Шайба

1шт.

7

VOE 13960145

Шайба

1шт.

8

VOE 946472

Flange screw

1шт.

8

VOE 946472

Flange screw

1шт.

9

VOE 11400605

Backing plate

1шт.

9

VOE 11400605

Backing plate

1шт.

Выбрано товаров: 31