Запчасти Volvo L110F 77690 Гидроцилиндр ATTACHMENTS ATTACHMENTS WHEEL LOADERS GEN. F

Схема запчастей Volvo L110F - 77690 Гидроцилиндр ATTACHMENTS ATTACHMENTS WHEEL LOADERS GEN. F
FIT
1:1
100%

Артикул

Название

Примечание

Количество

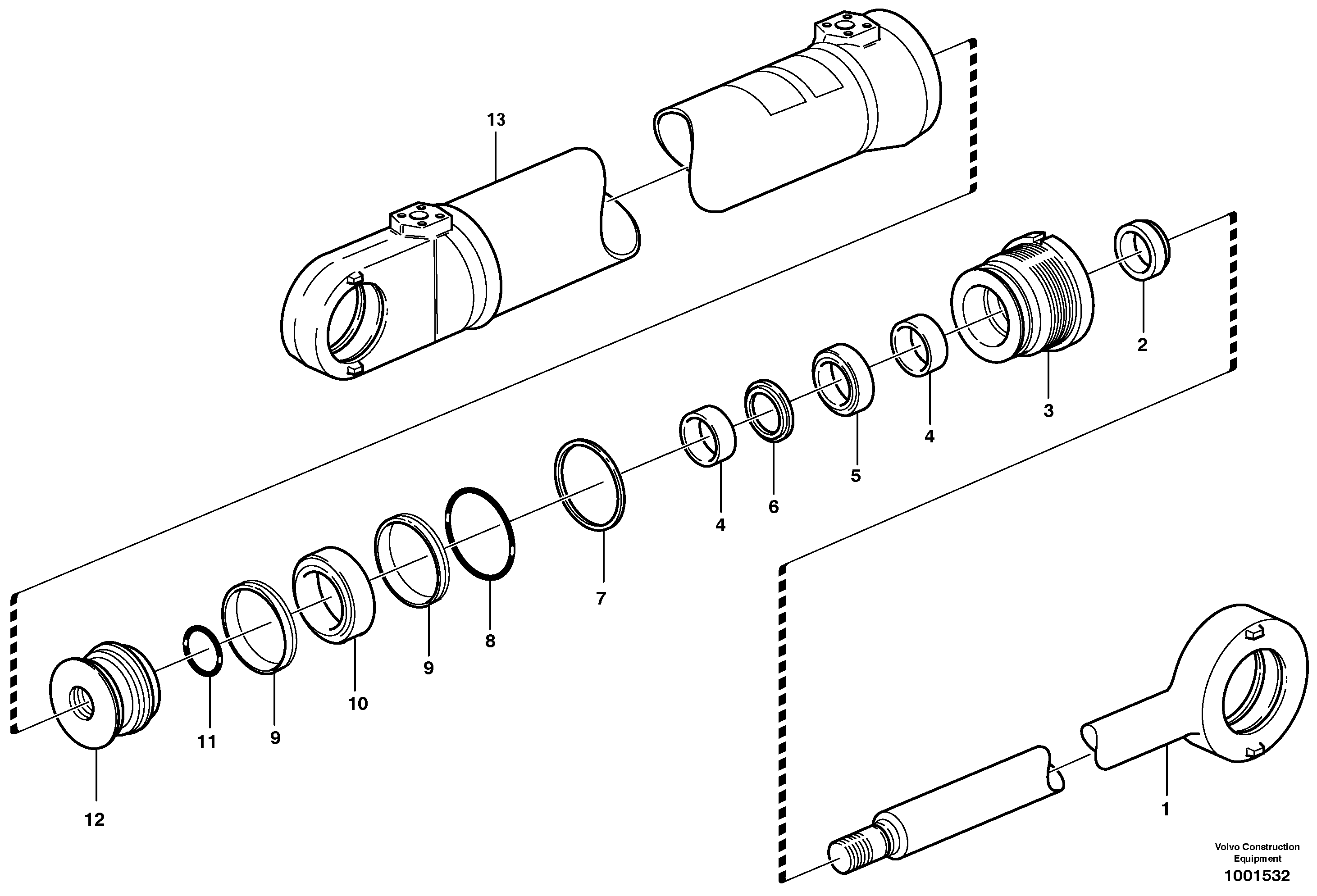
VOE 11156701

Гидроцилиндр

1шт.

VOE 11156701

Гидроцилиндр

1шт.

VOE 11709821

Sealing kit

1шт.

VOE 11709821

Sealing kit

1шт.

VOE 11156699

Гидроцилиндр

1шт.

VOE 11156699

Гидроцилиндр

1шт.

VOE 11709825

Шток поршня

1шт.

VOE 11709825

Шток поршня

1шт.

1

VOE 11709824

Шток поршня

1шт.

1

VOE 11709824

Шток поршня

1шт.

12

VOE 11711513

Поршень

1шт.

12

VOE 11711513

Поршень

1шт.

3

VOE 11709822

Guide

1шт.

3

VOE 11709822

Guide

1шт.

Выбрано товаров: 14