Запчасти Volvo L120 99236 Насос масляный L120 Volvo BM L120

Схема запчастей Volvo L120 - 99236 Насос масляный L120 Volvo BM L120
FIT
1:1
100%

Артикул

Название

Примечание

Количество

VOE 478650

Вал

1шт.

VOE 478650

Промежуточный вал

1шт.

VOE 478650

Pump gear

1шт.

VOE 276152

Ремкомплект

1шт.

VOE 276152

Ремкомплект

1шт.

VOE 276156

Ремкомплект

1шт.

VOE 276156

Ремкомплект

1шт.

VOE 13965184

Flange screw

1шт.

VOE 13965184

Flange screw

1шт.

VOE 478651

Вал приводной (ведущий)

1шт.

VOE 478651

Вал

1шт.

VOE 477547

Насос масляный

ENG - 97292

1шт.

VOE 477548

Промежуточный вал

1шт.

VOE 477548

Вал приводной (ведущий)

1шт.

VOE 477548

Pump gear

1шт.

VOE 864760

Насос масляный

ENG 97293 -

1шт.

VOE 477549

Вал приводной (ведущий)

1шт.

VOE 477549

Промежуточный вал

1шт.

VOE 471733

Oil pump housing

1шт.

VOE 470344

Oil pump housing

1шт.

VOE 275777

Oil pump kit

1шт.

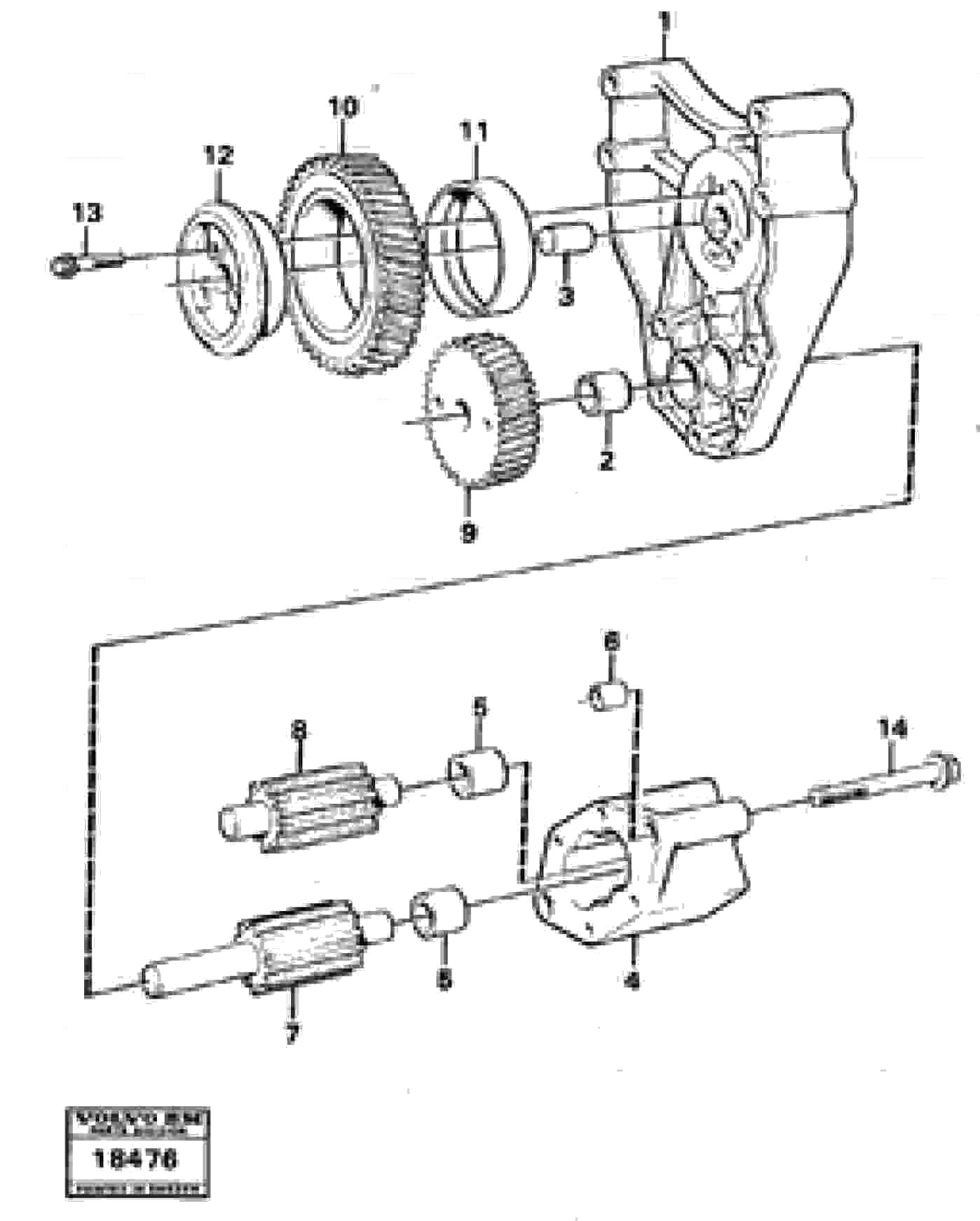
1

VOE 471571

471571

1шт.

10

VOE 471942

Drive Gear

1шт.

11

VOE 471585

Втулка

1шт.

11

VOE 471585

Bushing

1шт.

11

VOE 471585

Промежуточная шестерня

1шт.

12

VOE 420048

Bearing sleeve

1шт.

13

VOE 471586

Screw

1шт.

13

VOE 471586

Болт

1шт.

14

VOE 13965218

Болт

1шт.

2

VOE 470347

Втулка

1шт.

3

VOE 191171

Палец

1шт.

4

VOE 471727

Oil pump housing

1шт.

5

VOE 470347

Втулка

1шт.

6

VOE 401146

Guide sleeve

1шт.

7

VOE 471730

Вал приводной (ведущий)

1шт.

8

VOE 471731

Pump gear

1шт.

8

VOE 471731

Промежуточный вал

1шт.

9

VOE 471941

Drive Gear

1шт.

Выбрано товаров: 39