Запчасти Volvo L120 91672 Range selector valve L120 Volvo BM L120

Схема запчастей Volvo L120 - 91672 Range selector valve L120 Volvo BM L120
FIT
1:1
100%

Артикул

Название

Примечание

Количество

VOE 4871906

Gear changing unit

HT - 15384

1шт.

VOE 944505

Пробка (заглушка)

1шт.

VOE 944505

Пробка (заглушка)

1шт.

VOE 11036589

Gear changing unit

HT 15385 -

1шт.

VOE 11036588

Картер (корпус)

1шт.

VOE 907133

Прокладка

1шт.

VOE 907133

Прокладка

1шт.

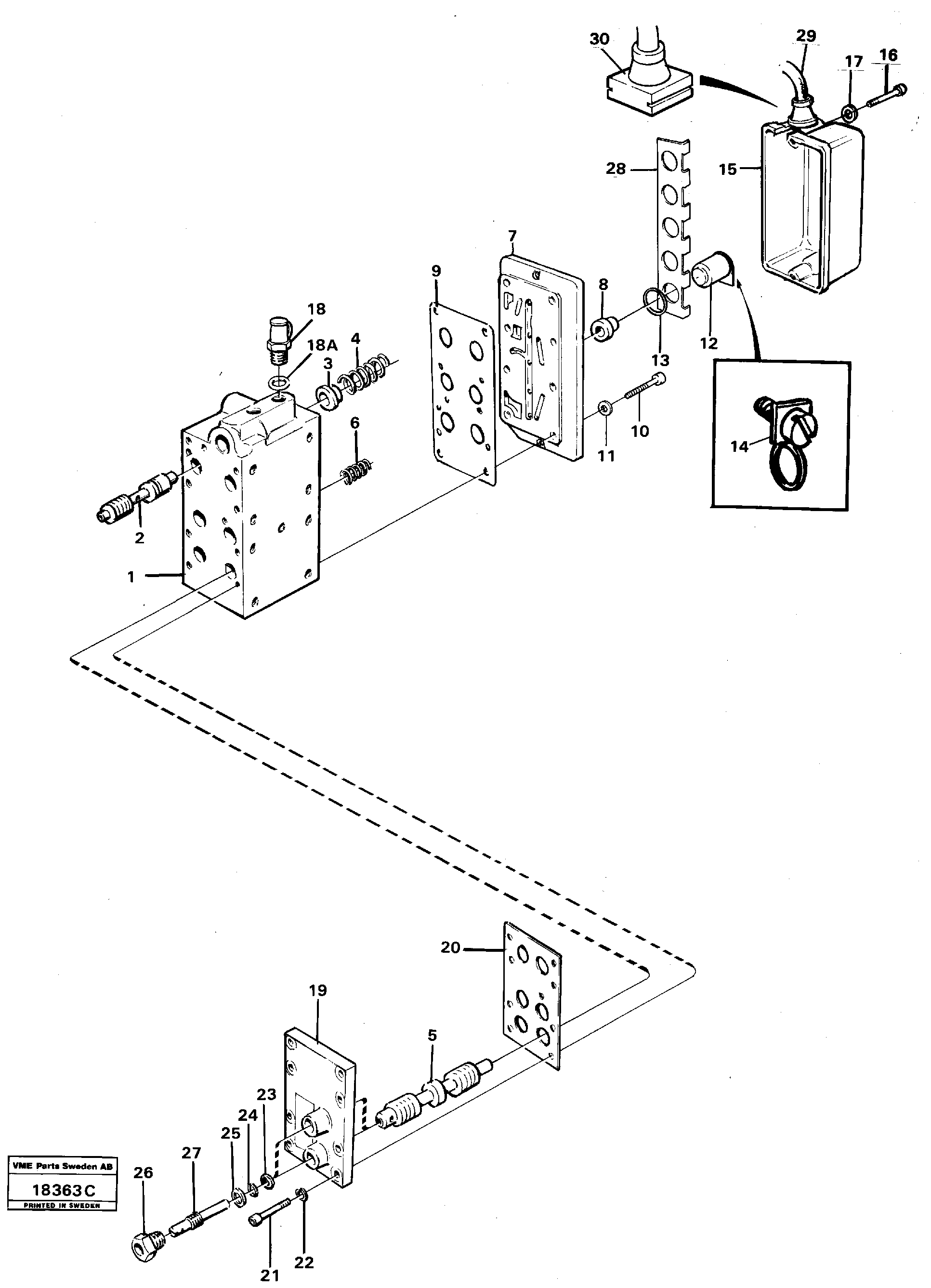
1

VOE 4871605

Картер (корпус)

1шт.

10

VOE 940326

Allen Hd Screw

1шт.

11

VOE 13949607

Шайба

1шт.

11

VOE 13949607

Шайба

1шт.

12

VOE 11992401

Встроенный клапан в сборе

(4880929, 11037303)

1шт.

12

VOE 11992401

Встроенный клапан в сборе

(4880929, 11037303)

1шт.

13

VOE 11996130

Кольцо уплотнительное (О-кольцо)

D = 20: (4795077)

1шт.

13

VOE 11996130

Кольцо уплотнительное (О-кольцо)

D = 20: (4795077)

1шт.

14

VOE 11992523

Зажим

1шт.

14

VOE 11992523

Зажим

1шт.

15

VOE 4720875

Protecting casing

1шт.

15

VOE 4720875

Protecting casing

1шт.

16

VOE 955280

Винт шестигранник

1шт.

16

VOE 955280

Винт шестигранник

1шт.

17

VOE 13949607

Шайба

1шт.

17

VOE 13949607

Шайба

1шт.

18

VOE 930032

Testing nipple

1шт.

18

VOE 930032

Testing nipple

1шт.

18A

VOE 13949574

Кольцо уплотнительное (О-кольцо)

1шт.

18A

VOE 13949574

Кольцо уплотнительное (О-кольцо)

1шт.

19

VOE 4719924

Крышка

1шт.

19

VOE 4719924

Cover

1шт.

2

VOE 4720787

Control plunger

1шт.

2

VOE 4720787

Control plunger

1шт.

20

VOE 11036050

Прокладка

1шт.

20

VOE 11036050

Прокладка

1шт.

21

VOE 940326

Allen Hd Screw

1шт.

22

VOE 13949607

Шайба

1шт.

22

VOE 13949607

Шайба

1шт.

23

VOE 949187

Кольцо уплотнительное (О-кольцо)

1шт.

23

VOE 949187

Кольцо уплотнительное (О-кольцо)

1шт.

24

VOE 13962531

Back-up ring

1шт.

24

VOE 13962531

Back-up ring

1шт.

25

VOE 4719348

Шайба

1шт.

25

VOE 4719348

Шайба

1шт.

26

VOE 4719346

Nipple

1шт.

26

VOE 4719346

Nipple

1шт.

27

VOE 4719347

Болт

1шт.

27

VOE 4719347

Болт

1шт.

28

VOE 11036178

Тарелка клапана

HT 5576 -

1шт.

28

VOE 11036178

Тарелка клапана

HT 5576 -

1шт.

29

VOE 4974493

4974493

1шт.

3

VOE 4719349

Spring guide

1шт.

3

VOE 4719349

Spring guide

1шт.

4

VOE 4871581

Пружина

1шт.

4

VOE 4871581

Пружина

1шт.

5

VOE 11036525

Control plunger

1шт.

5

VOE 11036525

Control plunger

1шт.

6

VOE 4718714

Пружина

1шт.

6

VOE 4718714

Пружина

1шт.

7

VOE 4871872

Valve Plate

1шт.

8

VOE 4720834

Valve seat

1шт.

8

VOE 4720834

Valve seat

1шт.

9

VOE 11036051

Прокладка

1шт.

9

VOE 11036051

Прокладка

1шт.

Выбрано товаров: 62