Запчасти Volvo L120 92767 Valves L120 Volvo BM L120

Схема запчастей Volvo L120 - 92767 Valves L120 Volvo BM L120
FIT
1:1
100%

Артикул

Название

Примечание

Количество

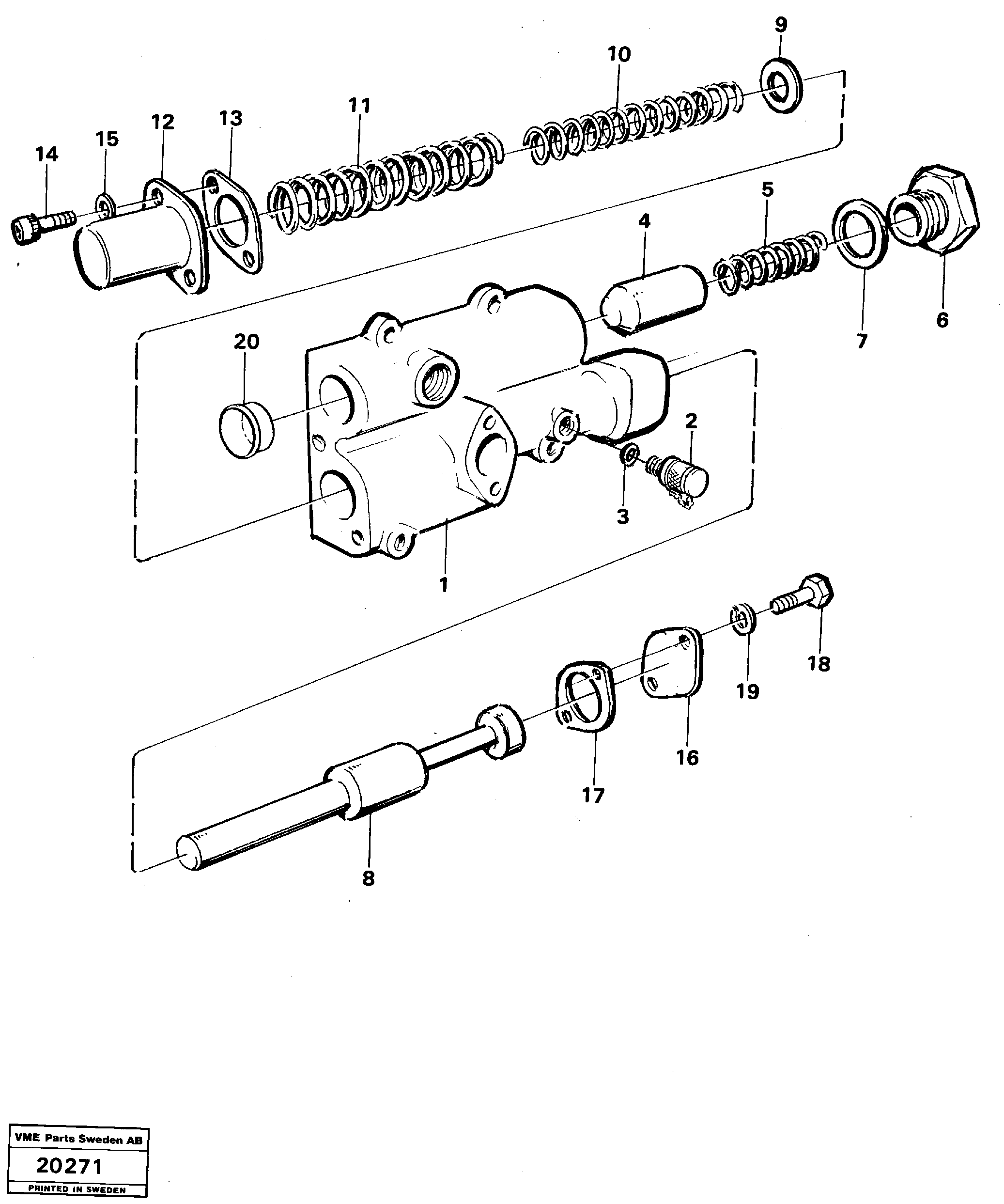
VOE 4720827

Клапан

1шт.

1

VOE 4720828

Valve housing

1шт.

10

VOE 4718068

Пружина

1шт.

11

VOE 4718067

Пружина

1шт.

12

VOE 4718060

Крышка

1шт.

13

VOE 11036043

Прокладка

(4718061)

1шт.

14

VOE 942001

Hex. socket screw

1шт.

14

VOE 942001

Винт шестигранник (торцевой ключ)

1шт.

15

VOE 13941906

Шайба

1шт.

15

VOE 13941906

Шайба

1шт.

16

VOE 4718062

Крышка

1шт.

16

VOE 4718062

Крышка

1шт.

17

VOE 11036049

Прокладка

1шт.

17

VOE 11036049

Прокладка

1шт.

18

VOE 955270

Винт шестигранник

1шт.

18

VOE 955270

Винт шестигранник

1шт.

19

VOE 13941906

Шайба

1шт.

19

VOE 13941906

Шайба

1шт.

2

VOE 930032

Testing nipple

1шт.

2

VOE 930032

Testing nipple

1шт.

3

VOE 13949574

Кольцо уплотнительное (О-кольцо)

1шт.

3

VOE 13949574

Кольцо уплотнительное (О-кольцо)

1шт.

4

VOE 4718071

Поршень

1шт.

5

VOE 4718066

Пружина

1шт.

5

VOE 4718066

Пружина

1шт.

6

VOE 914394

Пробка (заглушка)

1шт.

6

VOE 914394

Пробка (заглушка)

1шт.

7

VOE 13947629

Plane gasket

1шт.

7

VOE 13947629

Plane gasket

1шт.

8

VOE 4718072

Slide

1шт.

9

VOE 4720557

Шайба

1шт.

Выбрано товаров: 31