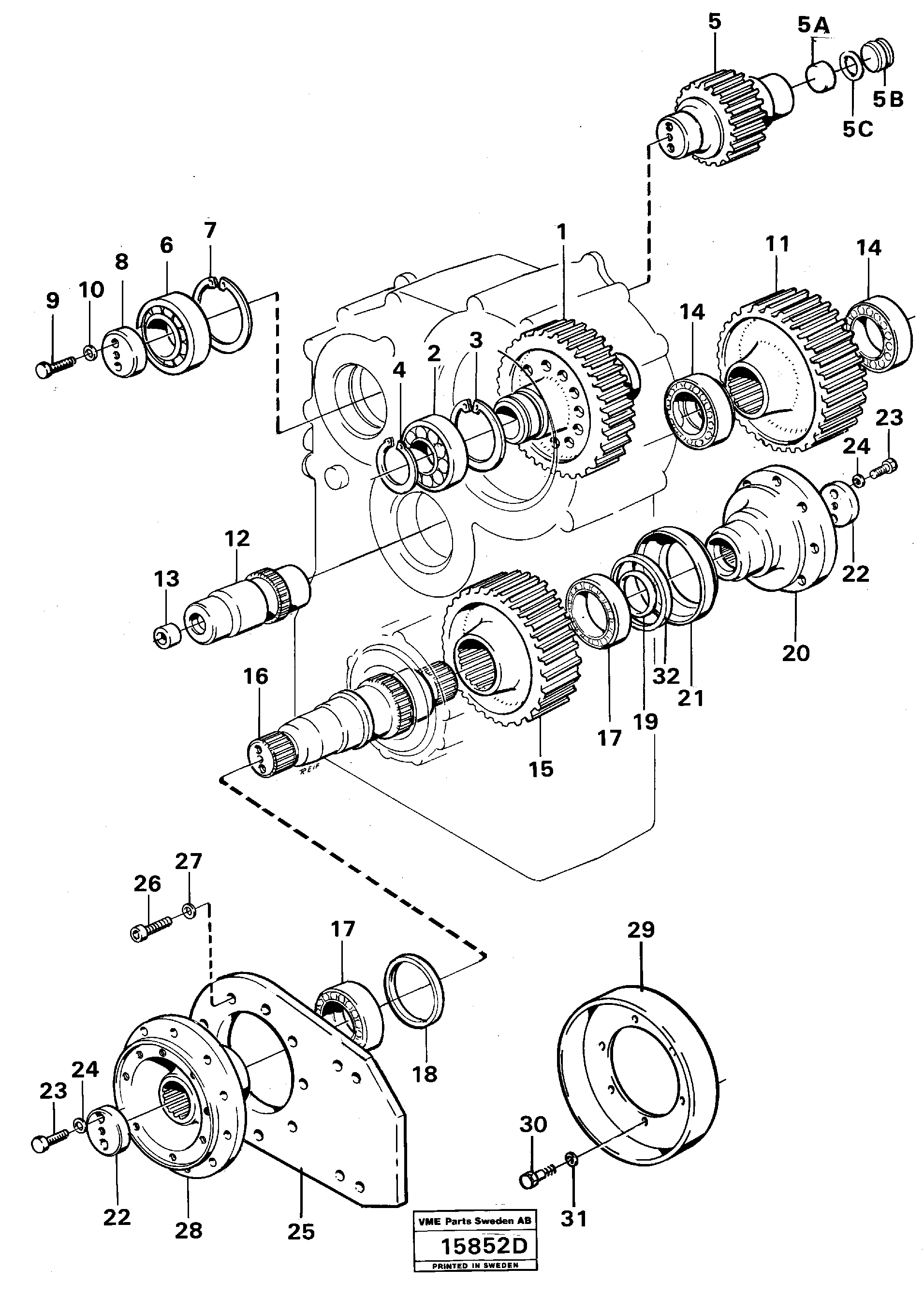
Запчасти Volvo L120 18269 Transfer gearbox gears and shafts L120 Volvo BM L120

Схема запчастей Volvo L120 - 18269 Transfer gearbox gears and shafts L120 Volvo BM L120
FIT
1:1
100%

Артикул

Название

Примечание

Количество

VOE 11036048

Gear

HT 5056 -

1шт.

VOE 11036491

Вал

HT 13277 -

1шт.

1

VOE 4720402

Gear

1шт.

10

VOE 940280

Шайба пружинная

1шт.

10

VOE 940280

Шайба пружинная

1шт.

11

VOE 11036535

Gear

1шт.

12

VOE 4720414

Вал

HT - 13276

1шт.

13

VOE 4719964

Companion flange

HT - 13276

1шт.

13

VOE 4719964

Companion flange

HT - 13276

1шт.

14

VOE 11998212

Подшипник

(7018520, 184450)

1шт.

15

VOE 11036537

Gear

1шт.

16

VOE 4871054

Вал

1шт.

17

VOE 183837

Подшипник

1шт.

17

VOE 183837

Подшипник

1шт.

18

VOE 946574

Кольцо уплотнительное

1шт.

18

VOE 946574

Кольцо уплотнительное

1шт.

19

VOE 925070

Кольцо уплотнительное (О-кольцо)

1шт.

19

VOE 925070

Кольцо уплотнительное (О-кольцо)

1шт.

2

VOE 184451

Подшипник

1шт.

2

VOE 184451

Ball bearing

1шт.

20

VOE 4718656

Companion flange

1шт.

20

VOE 4718656

Companion flange

1шт.

21

VOE 767795

Кольцо

1шт.

21

VOE 767795

Кольцо

1шт.

22

VOE 906912

Шайба

1шт.

22

VOE 906912

Шайба

1шт.

23

VOE 13970971

Винт шестигранник

1шт.

23

VOE 13970971

Винт шестигранник

1шт.

24

VOE 940280

Шайба пружинная

1шт.

24

VOE 940280

Шайба пружинная

1шт.

25

VOE 4720481

4720481

1шт.

26

VOE 13970974

Винт шестигранник

1шт.

26

VOE 13970974

Винт шестигранник

1шт.

27

VOE 940280

Шайба пружинная

1шт.

27

VOE 940280

Шайба пружинная

1шт.

28

VOE 4720535

Companion flange

1шт.

29

VOE 4720647

Protecting plate

1шт.

3

VOE 914550

Retaining ring

1шт.

3

VOE 914550

Кольцо стопорное

1шт.

30

VOE 940326

Allen Hd Screw

1шт.

31

VOE 13941906

Шайба

1шт.

31

VOE 13941906

Шайба

1шт.

32

VOE 968844

Кольцо уплотнительное

1шт.

32

VOE 968844

Кольцо уплотнительное

1шт.

4

VOE 914476

Retaining ring

1шт.

4

VOE 914476

Кольцо стопорное

1шт.

5

VOE 4871995

Gear

HT - 5055

1шт.

5A

VOE 121052

Cap plug

HT - 5055

1шт.

5B

VOE 11036016

Пробка (заглушка)

HT 5056 -

1шт.

5B

VOE 11036016

Пробка (заглушка)

HT 5056 -

1шт.

5C

VOE 949659

Кольцо уплотнительное (О-кольцо)

HT 5056 -

1шт.

5C

VOE 949659

Кольцо уплотнительное (О-кольцо)

HT 5056 -

1шт.

6

VOE 184452

Подшипник

1шт.

7

VOE 914552

Retaining ring

1шт.

7

VOE 914552

Кольцо стопорное

1шт.

8

VOE 906912

Шайба

1шт.

8

VOE 906912

Шайба

1шт.

9

VOE 13970973

Винт шестигранник

1шт.

9

VOE 13970973

Винт шестигранник

1шт.

Выбрано товаров: 59