Запчасти Volvo L120 39937 Links with fitting parts L120 Volvo BM L120

Схема запчастей Volvo L120 - 39937 Links with fitting parts L120 Volvo BM L120
FIT
1:1
100%

Артикул

Название

Примечание

Количество

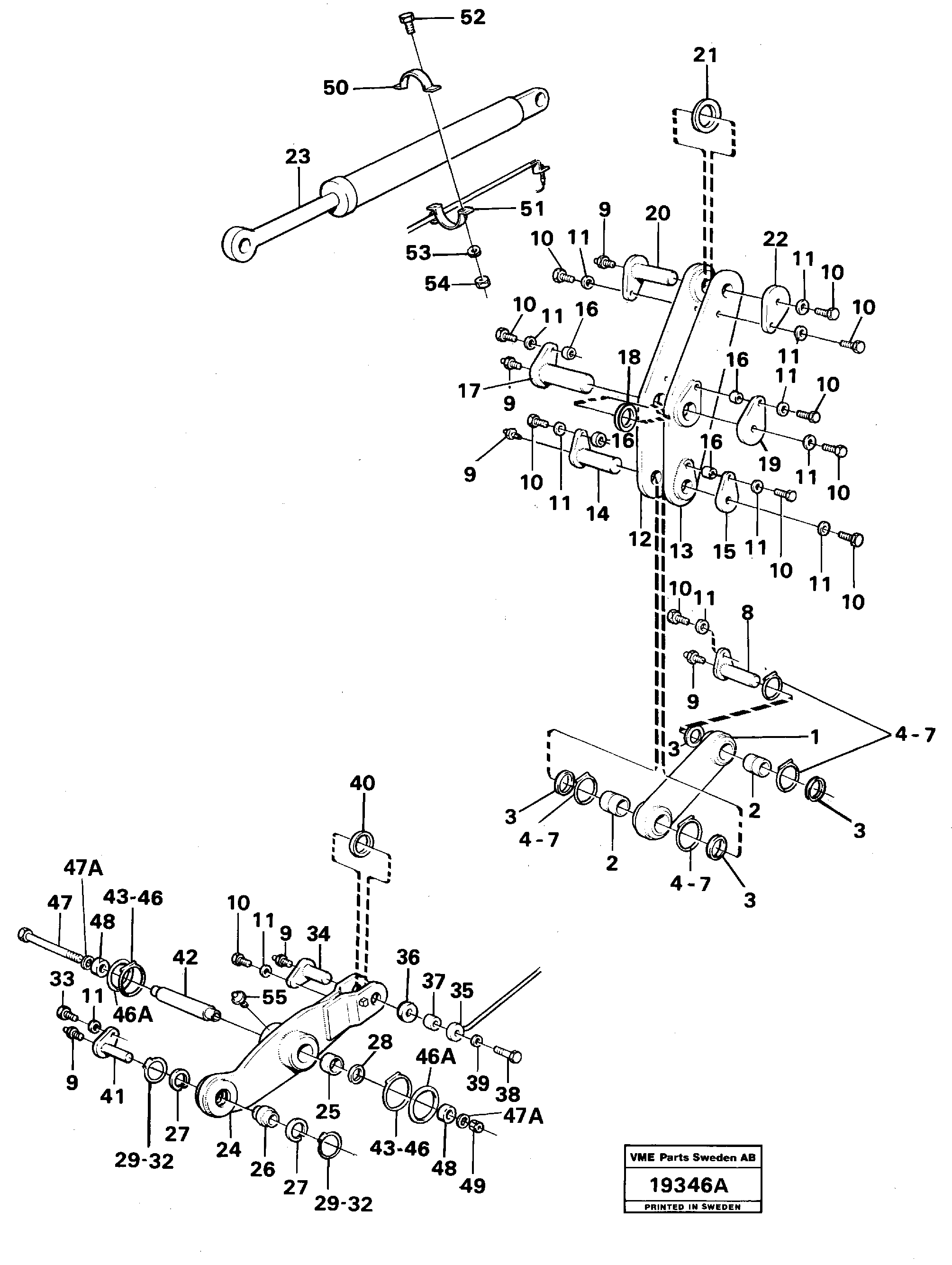
VOE 11018337

11018337

SER NO 5952 -

1шт.

1

VOE 4856834

Тяга поворотная

1шт.

10

VOE 13970970

Винт шестигранник

1шт.

10

VOE 13970970

Винт шестигранник

1шт.

11

VOE 13955897

Шайба

1шт.

11

VOE 13955897

Шайба

1шт.

12

VOE 4856837

Тяга поворотная

RH

1шт.

13

VOE 4856843

Тяга поворотная

LH

1шт.

14

VOE 4761102

4761102

1шт.

15

VOE 4763247

Lock plate

1шт.

16

VOE 4850822

Вставка

1шт.

16

VOE 4850822

Вставка

1шт.

17

VOE 4856852

4856852

1шт.

18

VOE 968027

Кольцо уплотнительное

1шт.

19

VOE 4856924

Lock plate

1шт.

2

VOE 4974176

Втулка

1шт.

20

VOE 4851726

4851726

1шт.

21

VOE 4782564

Link bearing seal

1шт.

21

VOE 4782564

Link bearing seal

1шт.

22

VOE 4763269

Lock plate

1шт.

24

VOE 11020931

Тяга поворотная

SER NO 5952 -

1шт.

24

VOE 4856841

Тяга поворотная

SER NO - 5951

1шт.

25

VOE 4898533

Втулка

1шт.

25

VOE 4898533

Втулка

1шт.

26

VOE 184712

Spherical plain bearing

1шт.

26

VOE 184712

Spherical plain bearing

1шт.

26

VOE 184712

Spherical plain bearing

SER NO - 5951

1шт.

26

VOE 184712

Spherical plain bearing

SER NO - 5951

1шт.

27

VOE 951090

Retaining ring

1шт.

27

VOE 951090

Retaining ring

1шт.

27

VOE 951090

Retaining ring

SER NO - 5951

1шт.

27

VOE 951090

Retaining ring

SER NO - 5951

1шт.

28

VOE 11005014

Scraper

1шт.

29

VOE 4824482

Кольцо уплотнительное (О-кольцо)

1шт.

29

VOE 4824482

Кольцо уплотнительное (О-кольцо)

1шт.

3

VOE 11005013

11005013

1шт.

30

VOE 955259

Винт шестигранник

1шт.

30

VOE 955259

Винт шестигранник

1шт.

31

VOE 13940090

Шайба

1шт.

31

VOE 13940090

Шайба

1шт.

32

VOE 13963104

Lock nut

1шт.

32

VOE 13963104

Lock nut

1шт.

33

VOE 13970969

Винт шестигранник

1шт.

34

VOE 4761320

Палец

SER NO - 5951

1шт.

35

VOE 4928110

Indicator

1шт.

36

VOE 4761459

Шайба

1шт.

37

VOE 4928109

Вставка

1шт.

37

VOE 4928109

Вставка

1шт.

38

VOE 13970974

Винт шестигранник

1шт.

38

VOE 13970974

Винт шестигранник

1шт.

39

VOE 13960145

Шайба

1шт.

39

VOE 13960145

Шайба

1шт.

4

VOE 4824482

Кольцо уплотнительное (О-кольцо)

1шт.

4

VOE 4824482

Кольцо уплотнительное (О-кольцо)

1шт.

40

VOE 4782564

Link bearing seal

1шт.

40

VOE 4782564

Link bearing seal

1шт.

41

VOE 4954088

4954088

1шт.

42

VOE 4856849

4856849

1шт.

43

VOE 4824483

Кольцо уплотнительное (О-кольцо)

SER NO - 6215

1шт.

43

VOE 4824483

Кольцо уплотнительное (О-кольцо)

SER NO - 6215

1шт.

44

VOE 955259

Винт шестигранник

SER NO - 6215

1шт.

44

VOE 955259

Винт шестигранник

SER NO - 6215

1шт.

45

VOE 13940090

Шайба

SER NO - 6215

1шт.

45

VOE 13940090

Шайба

SER NO - 6215

1шт.

46

VOE 13963104

Lock nut

SER NO - 6215

1шт.

46

VOE 13963104

Lock nut

SER NO - 6215

1шт.

46A

VOE 11048019

Кольцо уплотнительное

SER NO 6216 -

1шт.

46A

VOE 11048019

Кольцо уплотнительное

SER NO 6216 -

1шт.

47

VOE 13974302

Винт шестигранник

1шт.

47

VOE 13974302

Винт шестигранник

1шт.

47A

VOE 13946304

Шайба

(946304)

1шт.

47A

VOE 13946304

Шайба

(946304)

1шт.

48

VOE 4851505

Шайба

1шт.

49

VOE 963111

Lock nut

1шт.

49

VOE 963111

Lock nut

1шт.

5

VOE 955259

Винт шестигранник

1шт.

5

VOE 955259

Винт шестигранник

1шт.

50

VOE 4761532

Зажим

1шт.

50

VOE 4761532

Зажим

1шт.

51

VOE 4761928

Тарелка клапана

1шт.

52

VOE 13970948

Винт шестигранник

1шт.

52

VOE 13970948

Винт шестигранник

1шт.

53

VOE 976945

Шайба

1шт.

53

VOE 976945

Шайба

1шт.

54

VOE 13971083

Lock nut

1шт.

54

VOE 13971083

Lock nut

1шт.

55

VOE 914167

Lubricating nipple

1шт.

55

VOE 914167

Lubricating nipple

1шт.

6

VOE 13940090

Шайба

1шт.

6

VOE 13940090

Шайба

1шт.

7

VOE 13963104

Lock nut

1шт.

7

VOE 13963104

Lock nut

1шт.

8

VOE 4761101

4761101

1шт.

9

VOE 784323

Nipple

1шт.

9

VOE 784323

Nipple

1шт.

Выбрано товаров: 95