Запчасти Volvo L120B 36501 Asphalt cutter ATTACHMENTS ATTACHMENTS WHEEL LOADERS GEN. - C

Схема запчастей Volvo L120B - 36501 Asphalt cutter ATTACHMENTS ATTACHMENTS WHEEL LOADERS GEN. - C
FIT
1:1
100%

Артикул

Название

Примечание

Количество

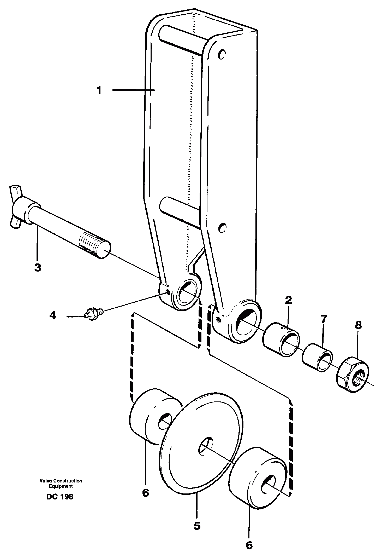
VOE 4887277

Cutter Wheel

1шт.

2

VOE 4886961

Втулка

1шт.

2

VOE 4886961

Втулка

1шт.

3

VOE 4886942

Вал

1шт.

3

VOE 4886942

Вал

1шт.

4

VOE 914160

Lubricating nipple

1шт.

4

VOE 914160

Lubricating nipple

1шт.

5

VOE 4857436

Cutter Wheel

1шт.

6

VOE 4857435

Support wheel

1шт.

6

VOE 4857435

Support wheel

1шт.

7

VOE 4886962

Sleeve

1шт.

7

VOE 4886962

Втулка (распорная)

1шт.

8

VOE 13963112

Lock nut

1шт.

8

VOE 13963112

Lock nut

1шт.

Выбрано товаров: 14