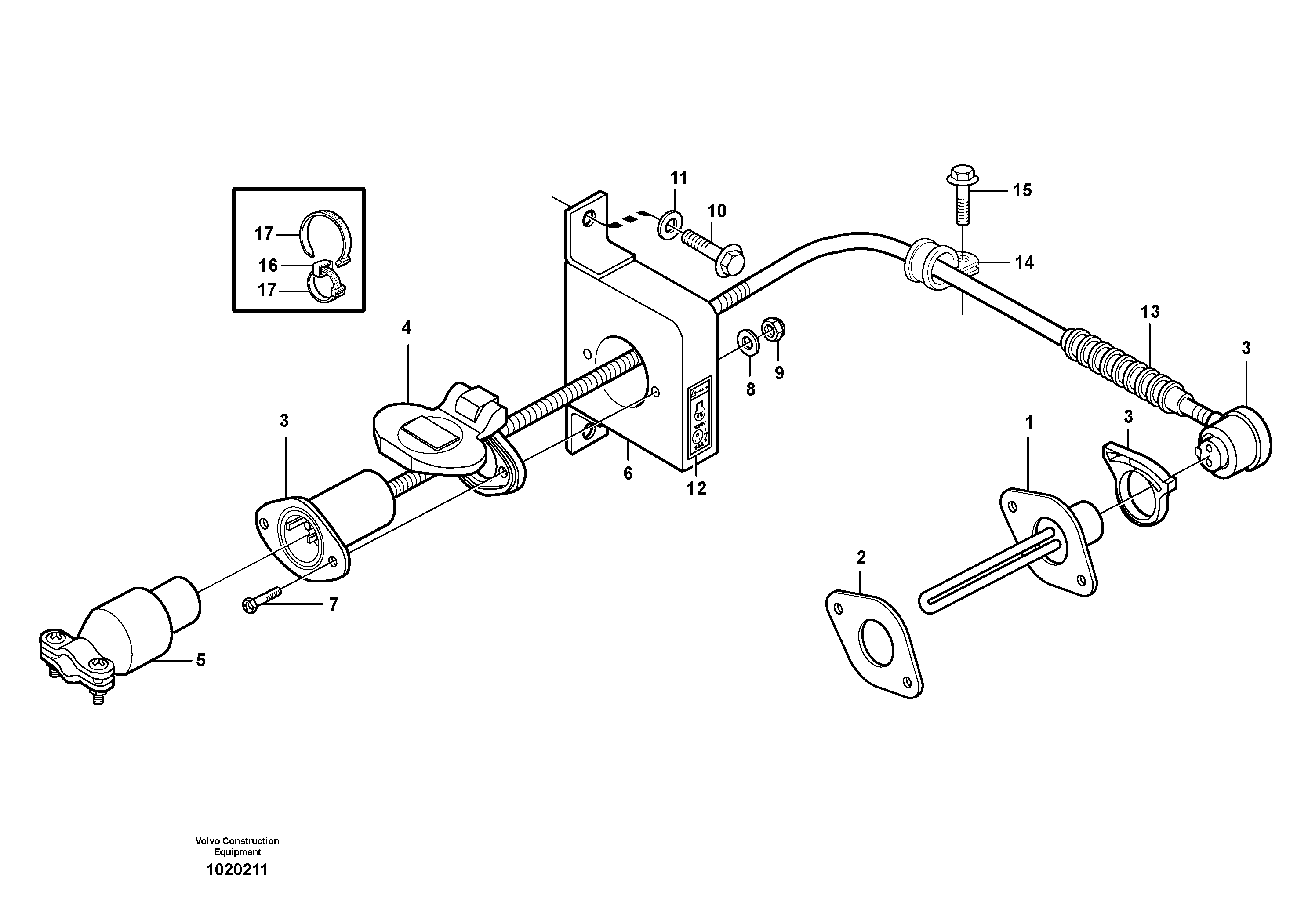
Запчасти Volvo L120E 25444 Engine heater L120E S/N 19804- SWE, 66001- USA, 71401-BRA, 54001-IRN

Схема запчастей Volvo L120E - 25444 Engine heater L120E S/N 19804- SWE, 66001- USA, 71401-BRA, 54001-IRN
FIT
1:1
100%

Артикул

Название

Примечание

Количество

VOE 946440

Flange screw

1шт.

VOE 946440

Flange screw

1шт.

1

VOE 11170745

Heater

120V/1250W

1шт.

1

VOE 11170745

Heater

120V/1250W

1шт.

10

VOE 946440

Flange screw

1шт.

10

VOE 946440

Flange screw

1шт.

11

VOE 13960141

Шайба

1шт.

11

VOE 13960141

Шайба

1шт.

12

VOE 11302220

Decal

1шт.

12

VOE 11302220

Decal

1шт.

13

VOE 979236

Шланг

L = 2500 MM

1шт.

13

VOE 979236

Шланг

L = 2500 MM

1шт.

14

VOE 980614

Зажим

1шт.

14

VOE 980614

Зажим

1шт.

15

VOE 13946173

Screw

1шт.

15

VOE 13946173

Болт

1шт.

16

VOE 11003221

Mounting ring

1шт.

16

VOE 11003221

Mounting ring

1шт.

17

VOE 4881440

Cable tie

1шт.

17

VOE 4881440

Cable tie

1шт.

2

VOE 11099238

Прокладка

1шт.

2

VOE 11099238

Прокладка

1шт.

3

VOE 11141656

Cable

L = 2500 MM

1шт.

3

VOE 11141656

Cable

L = 2500 MM

1шт.

4

VOE 11109685

Крышка

1шт.

4

VOE 11109685

Крышка

1шт.

5

VOE 11046803

Receptacle housing

1шт.

5

VOE 11046803

Receptacle housing

1шт.

6

VOE 11109591

11109591

1шт.

7

VOE 969556

Винт шестигранник (торцевой ключ)

1шт.

7

VOE 969556

Винт шестигранник (торцевой ключ)

1шт.

8

VOE 955891

Шайба

1шт.

8

VOE 955891

Шайба

1шт.

9

VOE 955779

Hexagon nut

1шт.

9

VOE 955779

Hexagon nut

1шт.

Выбрано товаров: 35