Запчасти Volvo L120E 19833 Фильтр топливный L120E S/N 19804- SWE, 66001- USA, 71401-BRA, 54001-IRN

Схема запчастей Volvo L120E - 19833 Фильтр топливный L120E S/N 19804- SWE, 66001- USA, 71401-BRA, 54001-IRN
FIT
1:1
100%

Артикул

Название

Примечание

Количество

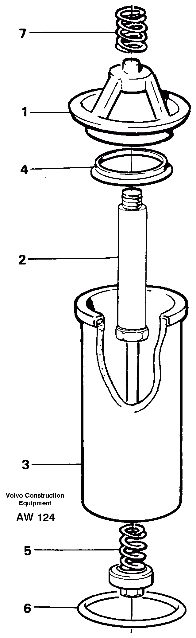
VOE 11445024

Filter insert

1шт.

VOE 11445024

Filter insert

1шт.

VOE 11715947

Втулка (распорная)

1шт.

VOE 11715947

Втулка (распорная)

1шт.

3

VOE 11445025

Filter cartridge

1шт.

3

VOE 11445025

Filter cartridge

1шт.

4

VOE 11994043

Кольцо уплотнительное

1шт.

4

VOE 11994043

Кольцо уплотнительное

1шт.

5

VOE 11993070

Комплект пружин

1шт.

5

VOE 11993070

Комплект пружин

1шт.

6

VOE 6210360

Кольцо уплотнительное (О-кольцо)

1шт.

6

VOE 6210360

Кольцо уплотнительное (О-кольцо)

1шт.

7

VOE 6635976

Пружина

1шт.

7

VOE 6635976

Пружина

1шт.

Выбрано товаров: 14