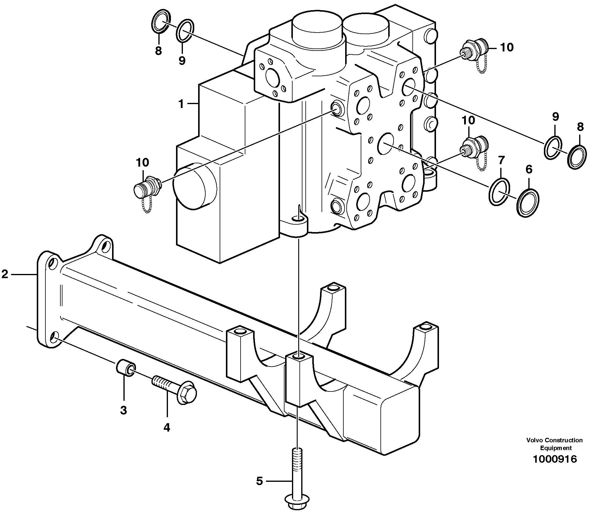
Запчасти Volvo L120E 53428 Control valve with fitting parts L120E S/N 16001 - 19668 SWE, 64001- USA, 70701-BRA

Схема запчастей Volvo L120E - 53428 Control valve with fitting parts L120E S/N 16001 - 19668 SWE, 64001- USA, 70701-BRA
FIT
1:1
100%

Артикул

Название

Примечание

Количество

VOE 990756

Кольцо уплотнительное

SER NO 17224 -

1шт.

10

VOE 936444

Testing nipple

A1, A2, B1

1шт.

10

VOE 936444

Testing nipple

A1, A2, B1

1шт.

2

VOE 11108705

Attachment

1шт.

2

VOE 11108705

Attachment

1шт.

3

VOE 11025923

Вставка

1шт.

3

VOE 11025923

Вставка

1шт.

4

VOE 13965193

Болт

1шт.

4

VOE 13965193

Screw

1шт.

5

VOE 13965190

Болт

1шт.

5

VOE 13965190

Болт

1шт.

6

VOE 11108798

Пробка (заглушка)

P

1шт.

6

VOE 11108798

Пробка (заглушка)

P

1шт.

7

VOE 990757

Кольцо уплотнительное

1шт.

8

VOE 11172549

Пробка (заглушка)

A1, B1

1шт.

9

VOE 13948700

Кольцо уплотнительное (О-кольцо)

SER NO - 17223

1шт.

9

VOE 13948700

Кольцо уплотнительное (О-кольцо)

SER NO - 17223

1шт.

Выбрано товаров: 17