Запчасти Volvo L120F 24653 Coverplates L120F

Схема запчастей Volvo L120F - 24653 Coverplates L120F
FIT
1:1
100%

Артикул

Название

Примечание

Количество

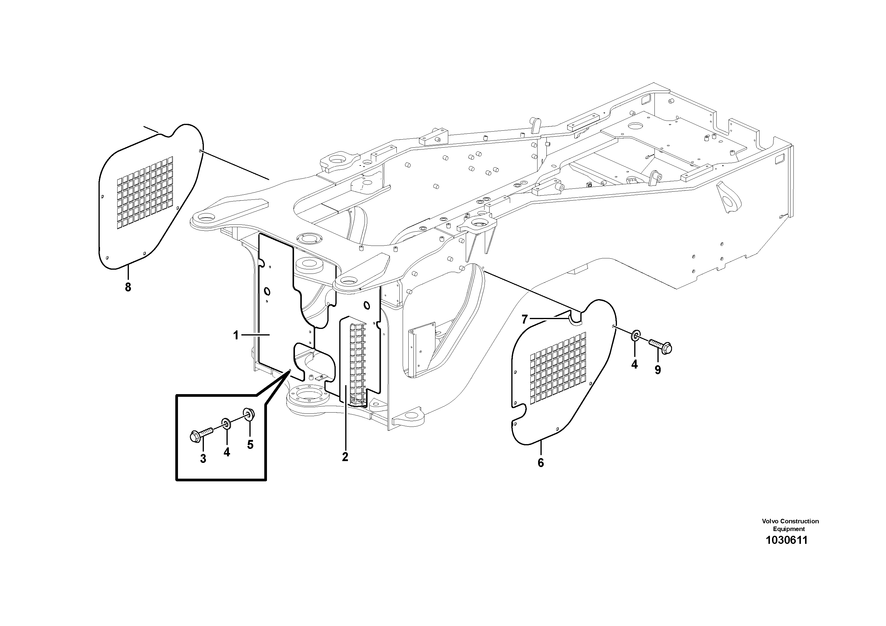
VOE 11432429

Ptct Plate

1шт.

VOE 11432425

Ptct Plate

1шт.

1

VOE 15029402

Ptct Plate

1шт.

2

VOE 11413785

Protecting plate

1шт.

2

VOE 11413785

Protecting plate

1шт.

3

VOE 13965185

Flange screw

1шт.

3

VOE 13965185

Болт

1шт.

4

VOE 13960143

Шайба

1шт.

4

VOE 13960143

Шайба

1шт.

5

VOE 13971095

Flange nut

1шт.

5

VOE 13971095

Flange nut

1шт.

6

VOE 11432447

Ptct Plate

1шт.

7

VOE 4786031

Framework moulding

L = 99 MM

1шт.

7

VOE 4786031

Framework moulding

L = 99 MM

1шт.

8

VOE 11432446

Ptct Plate

1шт.

9

VOE 946329

Flange screw

1шт.

9

VOE 946329

Flange screw

1шт.

Выбрано товаров: 17