Запчасти Volvo L150 32327 Water pump L150/L150C VOLVO BM VOLVO BM L150/L150C SER NO - 2767/- 60708

Схема запчастей Volvo L150 - 32327 Water pump L150/L150C VOLVO BM VOLVO BM L150/L150C SER NO - 2767/- 60708
FIT
1:1
100%

Артикул

Название

Примечание

Количество

VOE 11031751

Водяной насос

1шт.

VOE 11031751

Водяной насос

1шт.

VOE 11031687

Вал

1шт.

VOE 11701443

Ремкомплект

(11997563)

1шт.

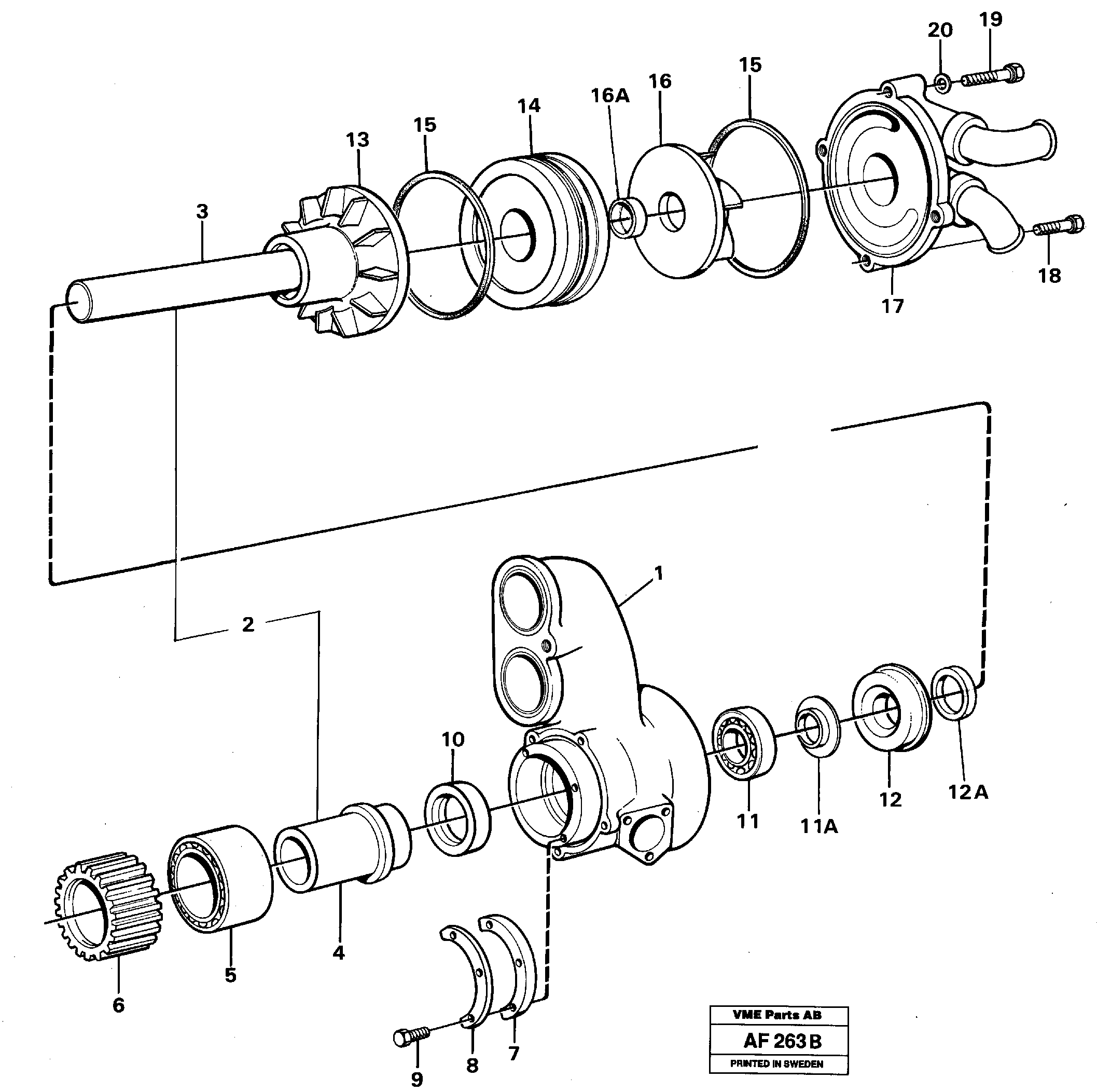
1

VOE 1545262

Картер (корпус)

1шт.

10

VOE 958811

Кольцо уплотнительное

1шт.

10

VOE 958811

Кольцо уплотнительное

1шт.

11

VOE 1660609

Ball Bearing

1шт.

11

VOE 1660609

Ball Bearing

1шт.

11A

VOE 7070913

Deflector

1шт.

11A

VOE 7070913

Deflector

1шт.

12

VOE 1545283

Кольцо уплотнительное

1шт.

12

VOE 1545283

Кольцо уплотнительное

1шт.

12A

VOE 1676432

Кольцо уплотнительное

1шт.

12A

VOE 1676432

Кольцо уплотнительное

1шт.

13

VOE 8121826

Impeller

1шт.

13

VOE 8121826

Impeller

1шт.

14

VOE 11031124

Pump housing

1шт.

15

VOE 925262

Кольцо уплотнительное (О-кольцо)

1шт.

15

VOE 925262

Кольцо уплотнительное (О-кольцо)

1шт.

16

VOE 11031132

Impeller

1шт.

16A

VOE 424723

Кольцо уплотнительное

1шт.

17

VOE 11031127

Pump Housing

1шт.

18

VOE 955515

Болт

L = 38 MM

1шт.

18

VOE 955515

Винт шестигранник

L = 38 MM

1шт.

19

VOE 940180

Болт

L = 57 MM

1шт.

2

VOE 11031688

Вал

1шт.

20

VOE 13941906

Шайба

(941906)

1шт.

20

VOE 13941906

Шайба

(941906)

1шт.

3

VOE 11031122

Вал

1шт.

4

VOE 468247

Вал

1шт.

4

VOE 468247

Вал

1шт.

5

VOE 181286

Ball Bearing

1шт.

5

VOE 181286

Ball Bearing

1шт.

6

VOE 470265

Gear

1шт.

6

VOE 470265

Gear

1шт.

7

VOE 1545358

Striker Plate

1шт.

7

VOE 1545358

Striker Plate

1шт.

8

VOE 1545359

Striker Plate

1шт.

8

VOE 1545359

Striker Plate

1шт.

9

VOE 940100

Винт шестигранник

1шт.

9

VOE 940100

Винт шестигранник

1шт.

Выбрано товаров: 42