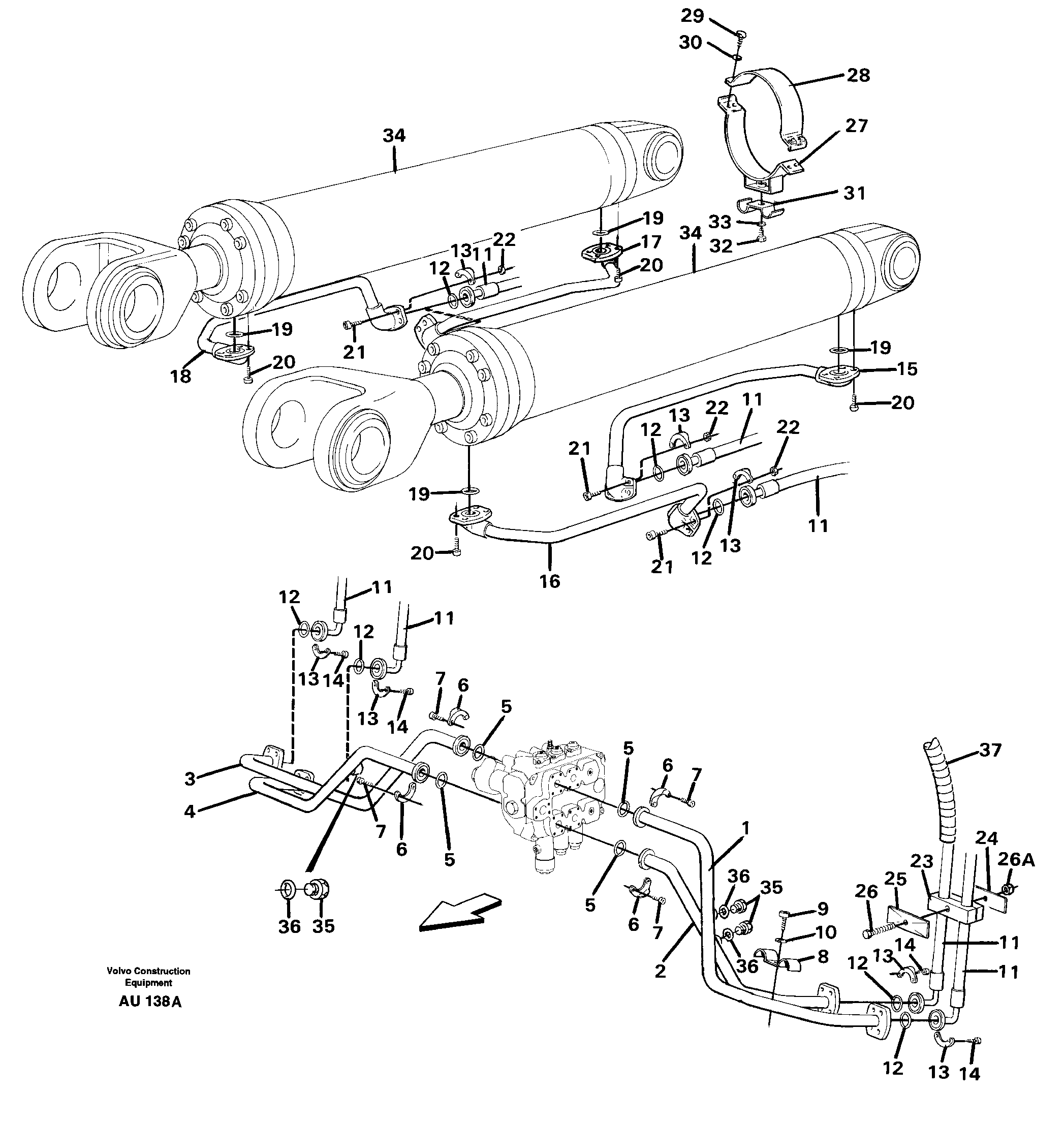
Запчасти Volvo L150C 48377 Hydraulic system, lift function L150C S/N 2768-SWE, 60701-USA

Схема запчастей Volvo L150C - 48377 Hydraulic system, lift function L150C S/N 2768-SWE, 60701-USA
FIT
1:1
100%

Артикул

Название

Примечание

Количество

VOE 959250

Allen Hd Screw

L = 90 MM

1шт.

VOE 13933682

Hose assembly

OD = 1 1/4"

1шт.

VOE 13949238

Кольцо уплотнительное (О-кольцо)

ID = 37,69 MM

1шт.

VOE 13949238

Кольцо уплотнительное (О-кольцо)

ID = 37,69 MM

1шт.

VOE 935594

Flange half

Hole / h?l M12

1шт.

VOE 935594

Flange half

Hole / h?l M12

1шт.

VOE 13970970

Винт шестигранник

M12

1шт.

VOE 13970970

Винт шестигранник

M12

1шт.

1

VOE 11075180

Feed line

LH

1шт.

10

VOE 13960143

Шайба

(VOE 960143)

1шт.

10

VOE 13960143

Шайба

(VOE 960143)

1шт.

11

VOE 13933446

Hose assembly

OD = 1"

1шт.

12

VOE 13948700

Кольцо уплотнительное (О-кольцо)

ID = 32,93 MM

1шт.

12

VOE 13948700

Кольцо уплотнительное (О-кольцо)

ID = 32,93 MM

1шт.

13

VOE 927947

Flange half

Hole / h?l M10

1шт.

13

VOE 927947

Flange half

Hole / h?l M10

1шт.

14

VOE 13970948

Винт шестигранник

M10

1шт.

14

VOE 13970948

Винт шестигранник

M10

1шт.

15

VOE 11025516

Feed line

LH

1шт.

16

VOE 11025517

Feed line

LH

1шт.

17

VOE 11025518

Feed line

RH

1шт.

18

VOE 11025519

Feed line

RH

1шт.

19

VOE 13948700

Кольцо уплотнительное (О-кольцо)

(VOE 948700)

1шт.

19

VOE 13948700

Кольцо уплотнительное (О-кольцо)

(VOE 948700)

1шт.

2

VOE 11093462

Feed line

LH

1шт.

20

VOE 959239

Allen Hd Screw

1шт.

21

VOE 959241

Винт шестигранник (торцевой ключ)

1шт.

22

VOE 971071

Hexagon nut

1шт.

22

VOE 971071

Hexagon nut

1шт.

23

VOE 11093477

Зажим

1шт.

24

VOE 4880657

Weld plate

1шт.

25

VOE 4880586

Шайба

1шт.

25

VOE 4880586

Шайба

1шт.

26

VOE 13940129

Болт

(VOE 940129)

1шт.

26

VOE 13940129

Болт

(VOE 940129)

1шт.

26A

VOE 946036

Lock nut

1шт.

26A

VOE 946036

Lock nut

1шт.

27

VOE 11025528

Зажим

1шт.

28

VOE 11025526

Зажим

1шт.

29

VOE 940142

Винт шестигранник

1шт.

29

VOE 940142

Винт шестигранник

1шт.

3

VOE 11075184

Feed line

RH

1шт.

30

VOE 13960141

Шайба

1шт.

30

VOE 13960141

Шайба

1шт.

31

VOE 11093479

Зажим

1шт.

32

VOE 13970957

Винт шестигранник

(VOE 970957)

1шт.

32

VOE 13970957

Винт шестигранник

(VOE 970957)

1шт.

33

VOE 13960143

Шайба

(VOE 960143)

1шт.

33

VOE 13960143

Шайба

(VOE 960143)

1шт.

35

VOE 926373

Пробка (заглушка)

1шт.

36

VOE 958228

Кольцо уплотнительное (О-кольцо)

1шт.

36

VOE 958228

Кольцо уплотнительное (О-кольцо)

1шт.

37

VOE 4880647

Sheath

L = 600 MM

1шт.

4

VOE 11093466

Feed line

RH

1шт.

5

VOE 13948700

Кольцо уплотнительное (О-кольцо)

(VOE 948700)

1шт.

5

VOE 13948700

Кольцо уплотнительное (О-кольцо)

(VOE 948700)

1шт.

6

VOE 927947

Flange half

1шт.

6

VOE 927947

Flange half

1шт.

7

VOE 959239

Allen Hd Screw

L = 30 MM

1шт.

8

VOE 11093478

Зажим

1шт.

9

VOE 13970956

Винт шестигранник

(VOE 970956)

1шт.

9

VOE 13970956

Винт шестигранник

(VOE 970956)

1шт.

Выбрано товаров: 62