Запчасти Volvo L150C 33997 Fork tines ATTACHMENTS ATTACHMENTS WHEEL LOADERS GEN. - C

Схема запчастей Volvo L150C - 33997 Fork tines ATTACHMENTS ATTACHMENTS WHEEL LOADERS GEN. - C
FIT
1:1
100%

Артикул

Название

Примечание

Количество

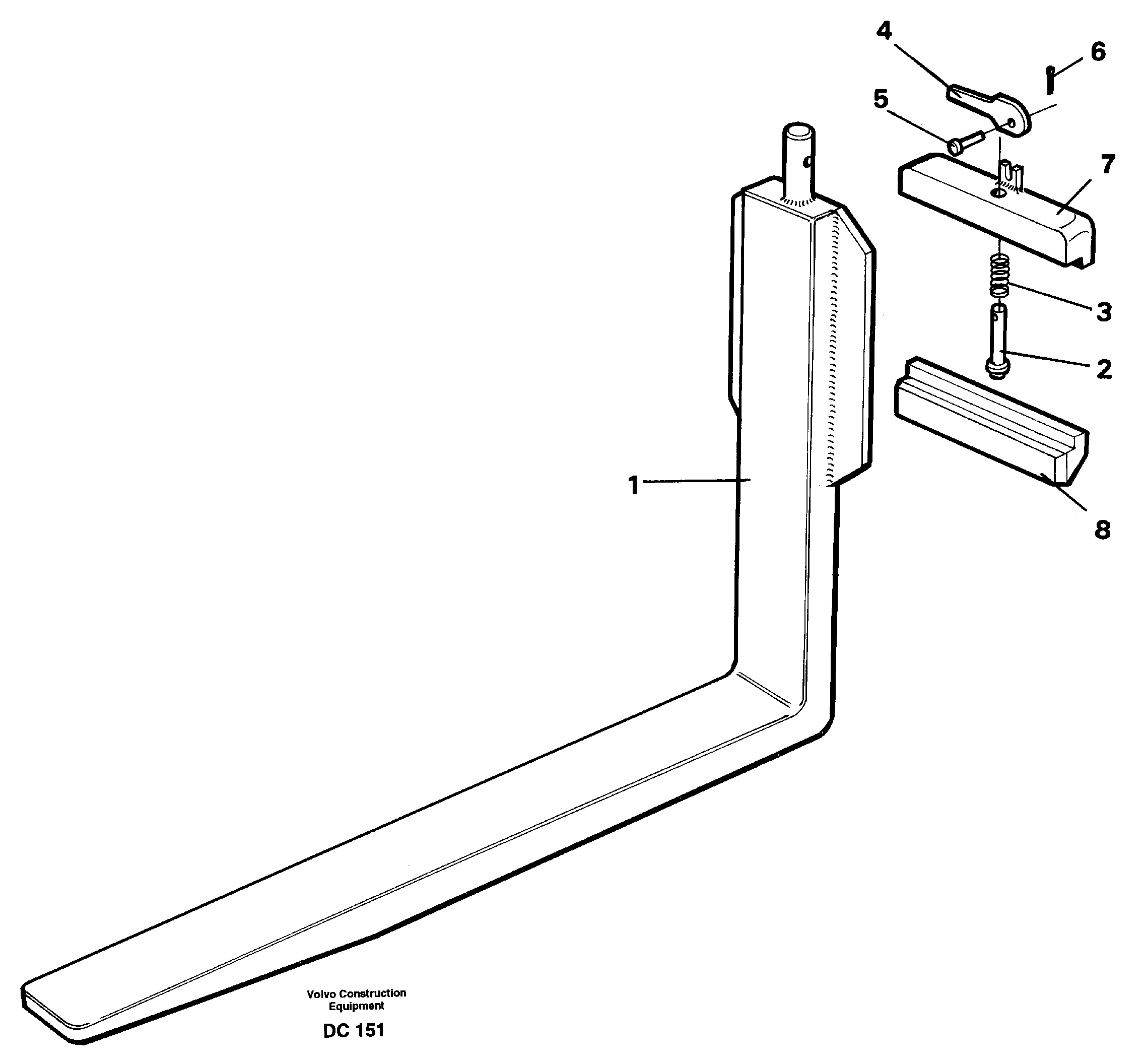
2

VOE 11010637

11010637

1шт.

3

VOE 11010636

Пружина

1шт.

4

VOE 11010638

Eccentric lock

1шт.

5

VOE 4808130

4808130

1шт.

6

VOE 907834

Cotter Pin

1шт.

7

VOE 4808363

Attachment

1шт.

8

VOE 4888107

Anchorage

1шт.

8

VOE 4888107

Anchorage

1шт.

Выбрано товаров: 8