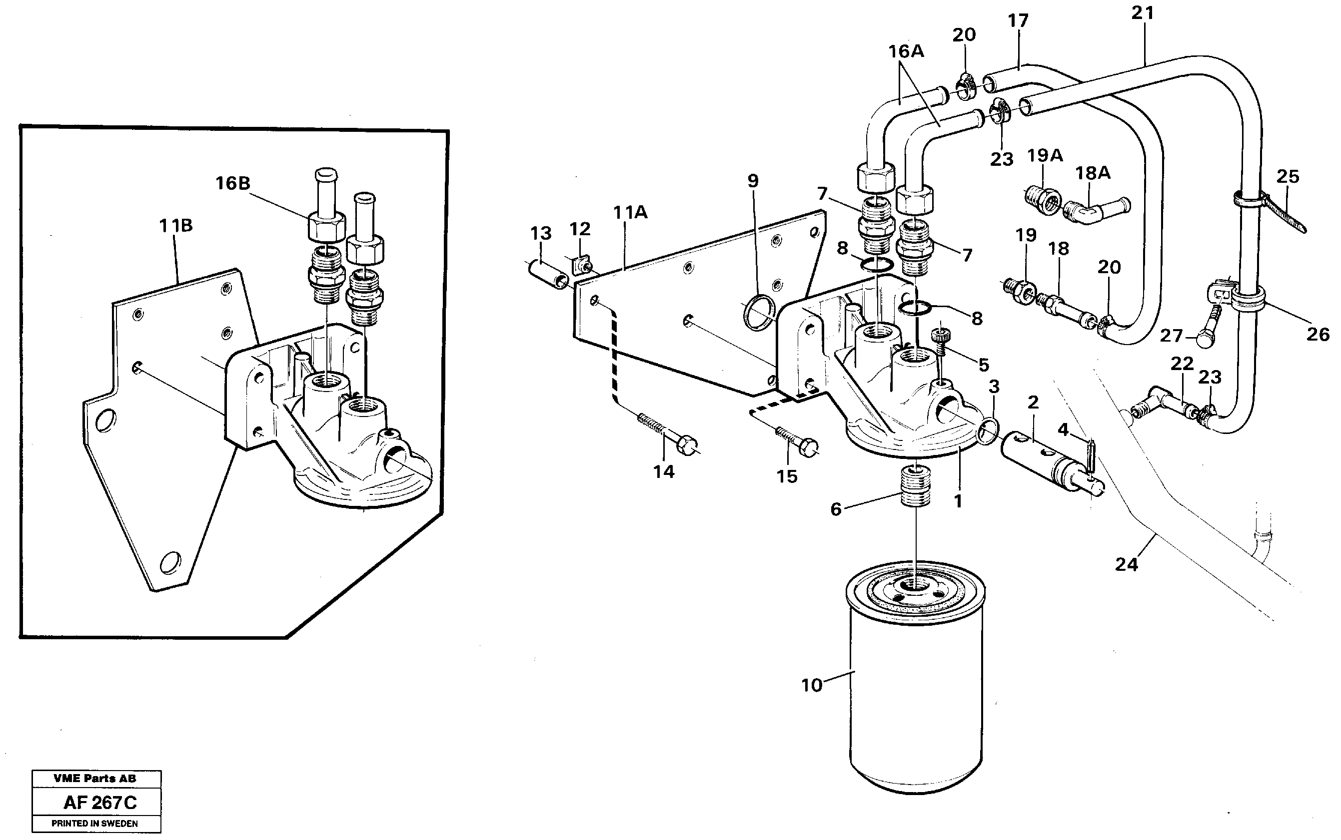
Запчасти Volvo L150C 58798 Coolant filter L150/L150C VOLVO BM VOLVO BM L150/L150C SER NO - 2767/- 60708

Схема запчастей Volvo L150C - 58798 Coolant filter L150/L150C VOLVO BM VOLVO BM L150/L150C SER NO - 2767/- 60708
FIT
1:1
100%

Артикул

Название

Примечание

Количество

VOE 942810

Зажим

1шт.

VOE 942810

Зажим

1шт.

VOE 11993236

Кронштейн

1шт.

VOE 930456

Spacer ring

SER NO 1085 -

1шт.

VOE 930456

Spacer ring

SER NO 1085 -

1шт.

VOE 955533

Болт

SER NO 1085 -

1шт.

VOE 955533

Винт шестигранник

SER NO 1085 -

1шт.

VOE 943367

Шланг

L = 350 MM

1шт.

VOE 943367

Шланг

L = 350 MM

1шт.

VOE 942758

Nipple

1шт.

VOE 942758

Nipple

1шт.

VOE 942919

Nipple

SER NO - 1265

1шт.

VOE 942919

Nipple

SER NO - 1265

1шт.

VOE 479954

Nipple

SER NO 1266 -

1шт.

VOE 479954

Nipple

SER NO 1266 -

1шт.

VOE 479954

Nipple

1шт.

VOE 479954

Nipple

1шт.

VOE 943367

Шланг

L = 1130 MM

1шт.

VOE 943367

Шланг

L = 1130 MM

1шт.

VOE 943367

Шланг

L = 1150 MM

1шт.

VOE 943367

Шланг

L = 1150 MM

1шт.

VOE 940132

Винт шестигранник

SER NO 1085 -

1шт.

VOE 940132

Винт шестигранник

SER NO 1085 -

1шт.

VOE 940132

Винт шестигранник

1шт.

VOE 940132

Винт шестигранник

1шт.

VOE 943367

Шланг

L = 330 MM

1шт.

VOE 943367

Шланг

L = 330 MM

1шт.

1

VOE 1661683

Кронштейн

1шт.

1

VOE 1661683

Кронштейн

1шт.

10

VOE 1699830

Coolant filter

1шт.

10

VOE 1699830

Coolant filter

1шт.

11A

VOE 11033325

11033325

1шт.

11B

VOE 11031737

11031737

1шт.

12

VOE 961614

Weld nut

1шт.

12

VOE 961614

Weld nut

1шт.

13

VOE 930456

Spacer ring

SER NO - 1084, (930456)

1шт.

13

VOE 930456

Spacer ring

SER NO - 1084, (930456)

1шт.

14

VOE 13955527

Болт

SER NO - 1084

1шт.

14

VOE 13955527

Болт

SER NO - 1084

1шт.

15

VOE 13955298

Болт

SER NO - 1084

1шт.

15

VOE 13955298

Болт

SER NO - 1084

1шт.

16A

VOE 11033093

Pipe elbow

1шт.

16A

VOE 11033093

Pipe elbow

1шт.

16B

VOE 11031758

Трубка

1шт.

17

VOE 943367

Шланг

L = 380 MM

1шт.

17

VOE 943367

Шланг

L = 380 MM

1шт.

18

VOE 942722

Nipple

SER NO - 1051

1шт.

18

VOE 942722

Nipple

SER NO - 1051

1шт.

18A

VOE 942758

Nipple

SER NO 1052 -

1шт.

18A

VOE 942758

Nipple

SER NO 1052 -

1шт.

19

VOE 942919

Nipple

SER NO - 1051

1шт.

19

VOE 942919

Nipple

SER NO - 1051

1шт.

19A

VOE 479954

Nipple

SER NO 1052 -

1шт.

19A

VOE 479954

Nipple

SER NO 1052 -

1шт.

2

VOE 1661686

Spindle

1шт.

2

VOE 1661686

Spindle

1шт.

20

VOE 943470

Hose clamp

1шт.

20

VOE 943470

Hose clamp

1шт.

21

VOE 943367

Шланг

L = 750 MM

1шт.

21

VOE 943367

Шланг

L = 750 MM

1шт.

22

VOE 942758

Nipple

1шт.

22

VOE 942758

Nipple

1шт.

23

VOE 943470

Hose clamp

1шт.

23

VOE 943470

Hose clamp

1шт.

25

VOE 4881438

Cable tie

1шт.

25

VOE 4881438

Cable tie

1шт.

26

VOE 942810

Зажим

SER NO 1085 -

1шт.

26

VOE 942810

Зажим

SER NO 1085 -

1шт.

27

VOE 13940114

Болт

1шт.

27

VOE 13940114

Болт

1шт.

3

VOE 968725

Кольцо уплотнительное (О-кольцо)

1шт.

3

VOE 968725

Кольцо уплотнительное (О-кольцо)

1шт.

4

VOE 951968

Spring pin

1шт.

4

VOE 951968

Spring pin

1шт.

5

VOE 961236

Allen Hd Screw

1шт.

6

VOE 1676554

Nipple

1шт.

6

VOE 1676554

Nipple

1шт.

7

VOE 941754

Nipple

1шт.

7

VOE 941754

Nipple

1шт.

8

VOE 957178

Gasket

1шт.

8

VOE 957178

Прокладка

1шт.

9

VOE 469846

Кольцо уплотнительное

1шт.

9

VOE 469846

Кольцо уплотнительное

1шт.

Выбрано товаров: 83