Запчасти Volvo L150C 45566 Windscreen washer L150/L150C VOLVO BM VOLVO BM L150/L150C SER NO - 2767/- 60708

Схема запчастей Volvo L150C - 45566 Windscreen washer L150/L150C VOLVO BM VOLVO BM L150/L150C SER NO - 2767/- 60708
FIT
1:1
100%

Артикул

Название

Примечание

Количество

VOE 941269

Пробка (заглушка)

SER NO - 1942

1шт.

VOE 941269

Пробка (заглушка)

SER NO - 1942

1шт.

VOE 941262

Уплотнительная втулка

SER NO 1943 -

1шт.

VOE 941262

Уплотнительная втулка

SER NO 1943 -

1шт.

VOE 960139

Шайба

SER NO 2564 -

1шт.

VOE 960139

Шайба

SER NO 2564 -

1шт.

VOE 13949278

Flange lock nut

SER NO 2564 -

1шт.

VOE 13949278

Flange lock nut

SER NO 2564 -

1шт.

VOE 13955272

Болт

SER NO 2564 -

1шт.

VOE 13955272

Болт

SER NO 2564 -

1шт.

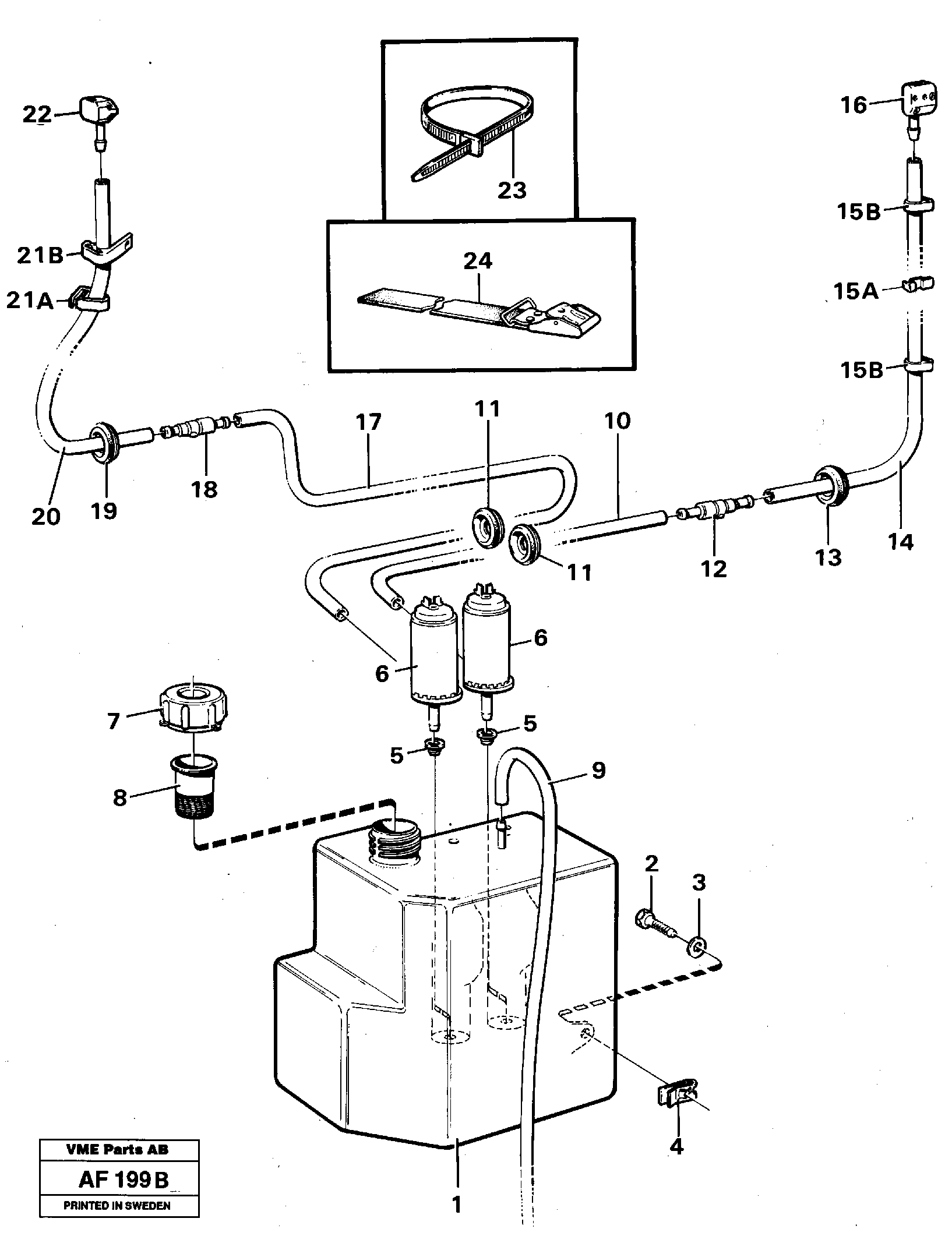
1

VOE 11006939

Reservoir

1шт.

10

VOE 1304841

Шланг

L = 2600 MM

1шт.

10

VOE 1304841

Шланг

L = 2600 MM

1шт.

11

VOE 941262

Уплотнительная втулка

1шт.

11

VOE 941262

Уплотнительная втулка

1шт.

12

VOE 667352

Non-return valve

1шт.

12

VOE 667352

Клапан обратный

1шт.

13

VOE 941262

Уплотнительная втулка

1шт.

13

VOE 941262

Уплотнительная втулка

1шт.

14

VOE 943727

Шланг

L = 700 MM

1шт.

14

VOE 943727

Шланг

L = 700 MM

1шт.

15A

VOE 4803208

Зажим

1шт.

15A

VOE 4803208

Зажим

1шт.

15B

VOE 192248

Тарелка клапана

SER NO 1416 -

1шт.

15B

VOE 192248

Тарелка клапана

SER NO 1416 -

1шт.

16

VOE 4803206

Nozzle

1шт.

16

VOE 4803206

Nozzle

1шт.

17

VOE 1304841

Шланг

L = 3400 MM

1шт.

17

VOE 1304841

Шланг

L = 3400 MM

1шт.

18

VOE 667352

Non-return valve

1шт.

18

VOE 667352

Клапан обратный

1шт.

19

VOE 941262

Уплотнительная втулка

SER NO - 1942

1шт.

19

VOE 941262

Уплотнительная втулка

SER NO - 1942

1шт.

2

VOE 190364

Винт шестигранник

SER NO - 2563

1шт.

2

VOE 190364

Винт шестигранник

SER NO - 2563

1шт.

20

VOE 943727

Шланг

L = 450 MM

1шт.

20

VOE 943727

Шланг

L = 450 MM

1шт.

21A

VOE 1580822

Зажим

1шт.

21A

VOE 1580822

Зажим

1шт.

21B

VOE 192248

Тарелка клапана

SER NO 1416 -

1шт.

21B

VOE 192248

Тарелка клапана

SER NO 1416 -

1шт.

22

VOE 1580247

Washer nozzle

1шт.

22

VOE 1580247

Washer nozzle

1шт.

23

VOE 4881438

Cable tie

1шт.

23

VOE 4881438

Cable tie

1шт.

24

VOE 11104606

Retaining strap

1шт.

24

VOE 11104606

Retaining strap

1шт.

3

VOE 13960147

Шайба

SER NO - 2563

1шт.

3

VOE 13960147

Шайба

SER NO - 2563

1шт.

4

VOE 946418

Spring nut

SER NO - 2563

1шт.

4

VOE 946418

Spring nut

SER NO - 2563

1шт.

5

VOE 1258140

Sealing sleeve

1шт.

6

VOE 4803571

Washer pump

1шт.

7

VOE 4965040

Крышка

1шт.

7

VOE 4965040

Крышка

1шт.

8

VOE 1577712

1577712

1шт.

9

VOE 1304841

Шланг

L = 500 MM

1шт.

9

VOE 1304841

Шланг

L = 500 MM

1шт.

Выбрано товаров: 58