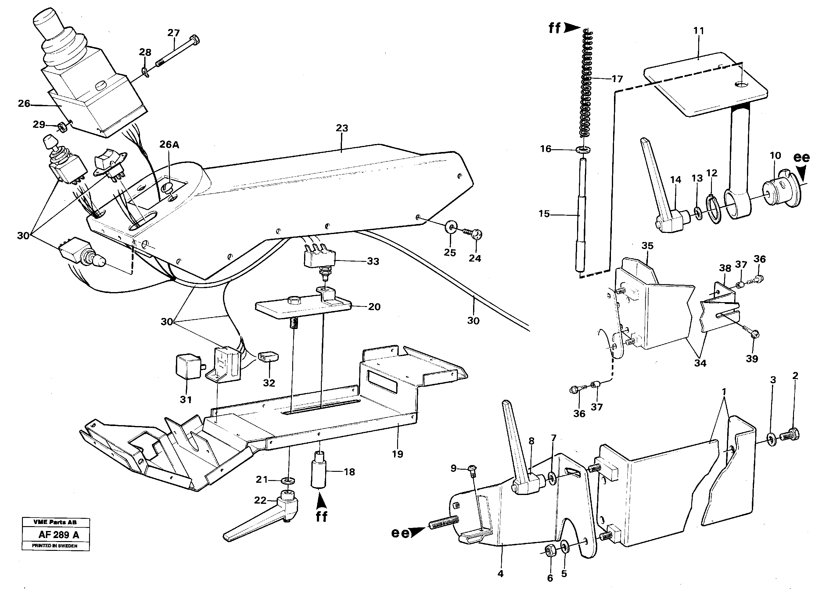
Запчасти Volvo L150C 40521 CDC - steering, plate details L150/L150C VOLVO BM VOLVO BM L150/L150C SER NO - 2767/- 60708

Схема запчастей Volvo L150C - 40521 CDC - steering, plate details L150/L150C VOLVO BM VOLVO BM L150/L150C SER NO - 2767/- 60708
FIT
1:1
100%

Артикул

Название

Примечание

Количество

VOE 11007748

Крышка

1шт.

VOE 11007761

Рукоять

1шт.

VOE 11091091

Ступица

1шт.

VOE 11007754

Ступица

1шт.

VOE 11007756

11007756

1шт.

VOE 11091090

Пластина

1шт.

VOE 11007751

11007751

1шт.

VOE 972006

Винт шестигранник (торцевой ключ)

1шт.

1

VOE 11004134

11004134

1шт.

10

VOE 11007757

Вал

(11004158)

1шт.

11

VOE 11004144

Ступица

1шт.

12

VOE 914462

Retaining ring

1шт.

12

VOE 914462

Кольцо стопорное

1шт.

13

VOE 955892

Шайба

1шт.

13

VOE 955892

Шайба

1шт.

14

VOE 11104695

Lock lever

1шт.

14

VOE 11104695

Lock lever

1шт.

15

VOE 11004156

11004156

1шт.

16

VOE 13955894

Шайба

1шт.

16

VOE 13955894

Шайба

1шт.

17

VOE 659603

Пружина

1шт.

17

VOE 659603

Пружина

1шт.

18

VOE 11004157

Втулка (распорная)

1шт.

19

VOE 11004149

11004149

1шт.

2

VOE 13955294

Болт

(955294)

1шт.

2

VOE 13955294

Болт

(955294)

1шт.

20

VOE 11004153

Bridge

1шт.

21

VOE 13955894

Шайба

1шт.

21

VOE 13955894

Шайба

1шт.

22

VOE 11104695

Lock lever

1шт.

22

VOE 11104695

Lock lever

1шт.

23

VOE 11004148

Крышка

1шт.

24

VOE 944704

Cross recessed screw

1шт.

24

VOE 944704

Cross recessed screw

1шт.

25

VOE 11004663

Шайба

1шт.

26

VOE 11004080

Control lever

1шт.

26

VOE 11004080

Control lever

1шт.

26A

VOE 11007720

Пробка (заглушка)

1шт.

27

VOE 955253

Винт шестигранник

1шт.

28

VOE 941905

Шайба пружинная

1шт.

28

VOE 941905

Шайба пружинная

1шт.

29

VOE 955780

Hexagon nut

1шт.

29

VOE 955780

Hexagon nut

1шт.

3

VOE 13955894

Шайба

1шт.

3

VOE 13955894

Шайба

1шт.

34

VOE 11007384

Anchorage

1шт.

35

VOE 11007365

11007365

1шт.

36

VOE 969436

Болт

(969603)

1шт.

36

VOE 969436

Винт шестигранник (торцевой ключ)

(969603)

1шт.

37

VOE 930429

Spacer ring

1шт.

37

VOE 930429

Spacer ring

1шт.

38

VOE 11007385

Anchorage

1шт.

38

VOE 11007385

Anchorage

1шт.

39

VOE 13971380

Винт шестигранник (торцевой ключ)

(971380)

1шт.

39

VOE 13971380

Болт

(971380)

1шт.

4

VOE 11025755

Рукоять

1шт.

5

VOE 13955894

Шайба

1шт.

5

VOE 13955894

Шайба

1шт.

6

VOE 946036

Lock nut

1шт.

6

VOE 946036

Lock nut

1шт.

7

VOE 13955894

Шайба

1шт.

7

VOE 13955894

Шайба

1шт.

8

VOE 11104695

Lock lever

1шт.

8

VOE 11104695

Lock lever

1шт.

9

VOE 947360

Болт

1шт.

9

VOE 947360

Cross recessed screw

1шт.

Выбрано товаров: 66