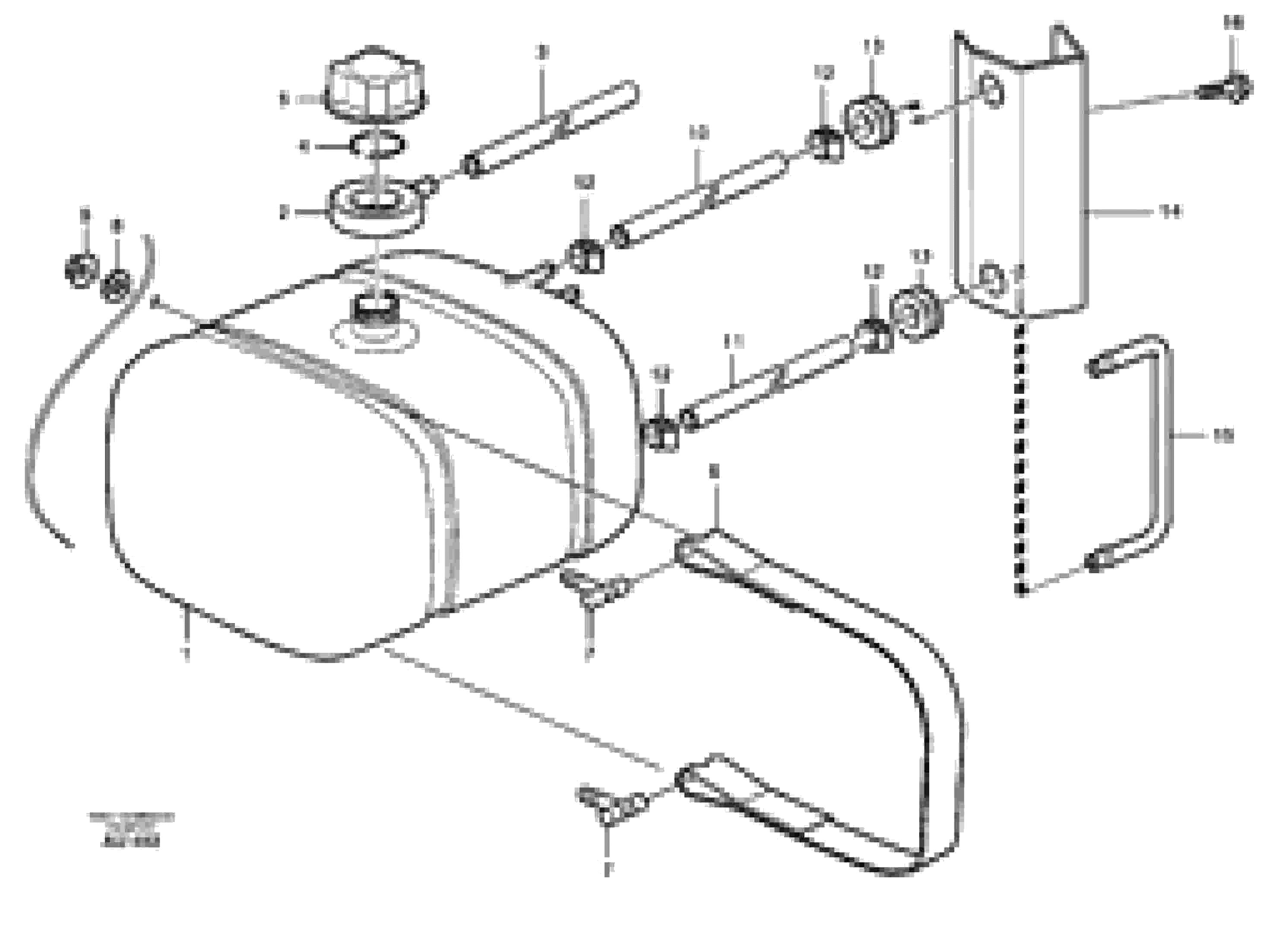
Запчасти Volvo L150C 89436 Expansion tank with fitting parts L150C S/N 2768-SWE, 60701-USA

Схема запчастей Volvo L150C - 89436 Expansion tank with fitting parts L150C S/N 2768-SWE, 60701-USA
FIT
1:1
100%

Артикул

Название

Примечание

Количество

1

VOE 11033336

Бак (бачок) расширительный

1шт.

10

VOE 11025584

Rubber hose

L = 300 MM

1шт.

11

VOE 11025584

Rubber hose

L = 300 MM

1шт.

12

VOE 943470

Hose clamp

1шт.

12

VOE 943470

Hose clamp

1шт.

13

VOE 941267

Пробка (заглушка)

1шт.

13

VOE 941267

Пробка (заглушка)

1шт.

14

VOE 11130086

11130086

1шт.

15

VOE 11025334

Level Inspection Glass

1шт.

16

VOE 13946544

Болт

(VOE 946544)

1шт.

16

VOE 13946544

Screw

(VOE 946544)

1шт.

2

VOE 3828863

Rubber collar

1шт.

3

VOE 13980211

Шланг

L = 2000 MM

1шт.

4

VOE 11033727

Lock ring

1шт.

5

VOE 1542591

Cap

(VOE 11033168)

1шт.

5

VOE 1542591

Cap

(VOE 11033168)

1шт.

6

VOE 11075152

Tensioning band

1шт.

7

VOE 11025992

Палец

1шт.

8

VOE 13960141

Шайба

1шт.

8

VOE 13960141

Шайба

1шт.

9

VOE 13945408

Гайка

(VOE 945408)

1шт.

9

VOE 13945408

Гайка

(VOE 945408)

1шт.

Выбрано товаров: 22