Запчасти Volvo L150C 92934 Differential lock, hydraulic line L150C S/N 2768-SWE, 60701-USA

Схема запчастей Volvo L150C - 92934 Differential lock, hydraulic line L150C S/N 2768-SWE, 60701-USA
FIT
1:1
100%

Артикул

Название

Примечание

Количество

VOE 13933686

Nipple

SER NO 4331 -

1шт.

VOE 13933686

Nipple

SER NO 4331 -

1шт.

VOE 955990

Кольцо уплотнительное (О-кольцо)

1шт.

VOE 955990

Кольцо уплотнительное (О-кольцо)

1шт.

VOE 11993636

Magnet

1шт.

VOE 11993636

Magnet

1шт.

VOE 11993637

Sealing kit

1шт.

VOE 11993637

Sealing kit

1шт.

VOE 11079357

Hose assembly

1шт.

VOE 11079357

Hose assembly

1шт.

VOE 13932917

Hose assembly

SER NO 4355 -. L=750MM

1шт.

VOE 13932917

Hose assembly

SER NO 4355 -. L=750MM

1шт.

VOE 931209

Кольцо уплотнительное (О-кольцо)

1шт.

VOE 931209

Кольцо уплотнительное (О-кольцо)

1шт.

VOE 931216

Back-up ring

1шт.

VOE 931216

Back-up ring

1шт.

VOE 4881722

Кольцо уплотнительное (О-кольцо)

1шт.

VOE 4881722

Кольцо уплотнительное (О-кольцо)

1шт.

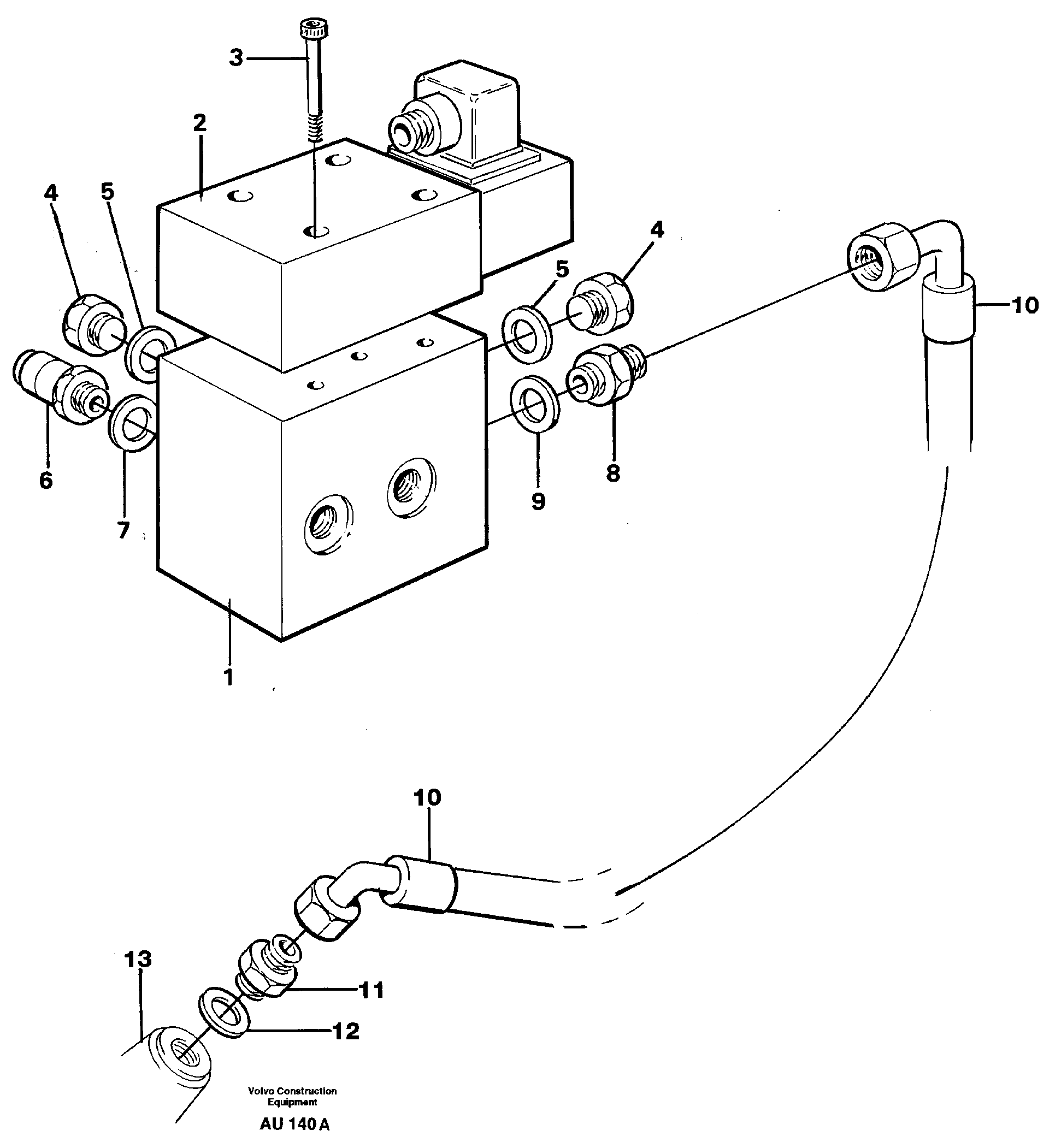
1

VOE 4974291

Connection block

1шт.

1

VOE 4974291

Connection block

1шт.

10

VOE 13933017

Hose assembly

SER NO - 4354 L=700 MM

1шт.

11

VOE 941754

Nipple

1шт.

11

VOE 941754

Nipple

1шт.

12

VOE 13945653

Plane gasket

1шт.

12

VOE 13945653

Plane gasket

1шт.

2

VOE 11003548

Встроенный клапан в сборе

MA9

1шт.

2

VOE 11003548

Встроенный клапан в сборе

MA9

1шт.

3

VOE 959193

Hex. socket screw

1шт.

3

VOE 959193

Винт шестигранник (торцевой ключ)

1шт.

4

VOE 914390

Пробка (заглушка)

1шт.

4

VOE 914390

Пробка (заглушка)

1шт.

5

VOE 14013067

Sealing washer

1шт.

5

VOE 14013067

Sealing washer

1шт.

6

VOE 930032

Testing nipple

SER NO - 4330

1шт.

6

VOE 930032

Testing nipple

SER NO - 4330

1шт.

7

VOE 13947621

Plane gasket

SER NO - 4330

1шт.

7

VOE 13947621

Plane gasket

SER NO - 4330

1шт.

8

VOE 13944524

Nipple

1шт.

8

VOE 13944524

Nipple

1шт.

9

VOE 14013067

Sealing washer

1шт.

9

VOE 14013067

Sealing washer

1шт.

Выбрано товаров: 41