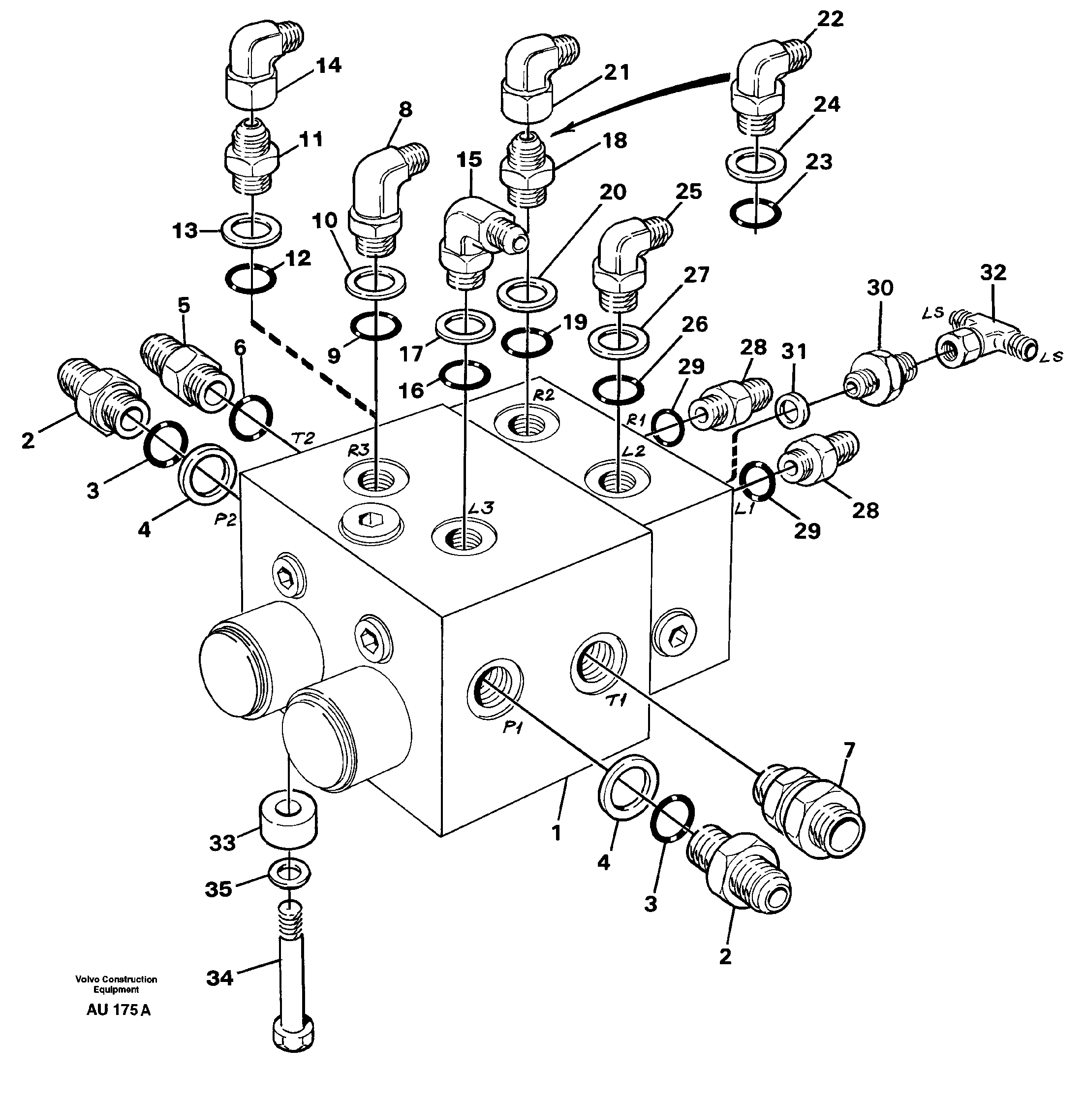
Запчасти Volvo L150C 6413 Shift valve with fitting parts L150C S/N 2768-SWE, 60701-USA

Схема запчастей Volvo L150C - 6413 Shift valve with fitting parts L150C S/N 2768-SWE, 60701-USA
FIT
1:1
100%

Артикул

Название

Примечание

Количество

VOE 931218

Back-up ring

1шт.

VOE 931218

Back-up ring

1шт.

VOE 11105182

Check valve

SER NO 4116 -

1шт.

VOE 11105182

Клапан обратный

SER NO 4116 -

1шт.

VOE 4821883

T-nipple

SER NO 4116 -

1шт.

VOE 4821883

T-nipple

SER NO 4116 -

1шт.

VOE 13965187

Flange screw

1шт.

VOE 13965187

Болт

1шт.

VOE 931219

Back-up ring

1шт.

VOE 931219

Back-up ring

1шт.

10

VOE 931218

Back-up ring

1шт.

10

VOE 931218

Back-up ring

1шт.

11

VOE 931227

Nipple

1шт.

11

VOE 931227

Nipple

1шт.

12

VOE 931211

Кольцо уплотнительное (О-кольцо)

1шт.

12

VOE 931211

Кольцо уплотнительное (О-кольцо)

1шт.

13

VOE 931218

Back-up ring

1шт.

13

VOE 931218

Back-up ring

1шт.

14

VOE 4821880

L-connection

1шт.

14

VOE 4821880

L-connection

1шт.

15

VOE 931234

Nipple

1шт.

15

VOE 931234

Nipple

1шт.

16

VOE 931211

Кольцо уплотнительное (О-кольцо)

1шт.

16

VOE 931211

Кольцо уплотнительное (О-кольцо)

1шт.

17

VOE 931218

Back-up ring

1шт.

17

VOE 931218

Back-up ring

1шт.

18

VOE 931227

Nipple

1шт.

18

VOE 931227

Nipple

1шт.

19

VOE 931211

Кольцо уплотнительное (О-кольцо)

1шт.

19

VOE 931211

Кольцо уплотнительное (О-кольцо)

1шт.

2

VOE 931228

Nipple

1шт.

2

VOE 931228

Nipple

1шт.

20

VOE 931218

Back-up ring

1шт.

20

VOE 931218

Back-up ring

1шт.

21

VOE 4821880

L-connection

1шт.

21

VOE 4821880

L-connection

1шт.

22

VOE 931234

Nipple

1шт.

22

VOE 931234

Nipple

1шт.

23

VOE 931211

Кольцо уплотнительное (О-кольцо)

1шт.

23

VOE 931211

Кольцо уплотнительное (О-кольцо)

1шт.

24

VOE 931218

Back-up ring

1шт.

24

VOE 931218

Back-up ring

1шт.

25

VOE 931234

Nipple

1шт.

25

VOE 931234

Nipple

1шт.

26

VOE 931211

Кольцо уплотнительное (О-кольцо)

1шт.

26

VOE 931211

Кольцо уплотнительное (О-кольцо)

1шт.

27

VOE 931218

Back-up ring

1шт.

27

VOE 931218

Back-up ring

1шт.

28

VOE 4880281

Nipple

1шт.

28

VOE 4880281

Nipple

1шт.

29

VOE 931211

Кольцо уплотнительное (О-кольцо)

1шт.

29

VOE 931211

Кольцо уплотнительное (О-кольцо)

1шт.

3

VOE 931212

Кольцо уплотнительное (О-кольцо)

1шт.

3

VOE 931212

Кольцо уплотнительное (О-кольцо)

1шт.

30

VOE 11019433

Клапан обратный

SER NO - 4115

1шт.

31

VOE 14013067

Sealing washer

1шт.

31

VOE 14013067

Sealing washer

1шт.

32

VOE 4931463

Clutch

SER NO - 4115

1шт.

33

VOE 4861316

Spacer Ring

1шт.

33

VOE 4861316

Spacer Ring

1шт.

34

VOE 13970954

Винт шестигранник

1шт.

34

VOE 13970954

Винт шестигранник

1шт.

35

VOE 13960143

Шайба

(VOE 960143)

1шт.

35

VOE 13960143

Шайба

(VOE 960143)

1шт.

4

VOE 931219

Back-up ring

1шт.

4

VOE 931219

Back-up ring

1шт.

5

VOE 4880429

Nipple

1шт.

5

VOE 4880429

Nipple

1шт.

6

VOE 931212

Кольцо уплотнительное (О-кольцо)

1шт.

6

VOE 931212

Кольцо уплотнительное (О-кольцо)

1шт.

7

VOE 11093326

Клапан обратный

1шт.

8

VOE 931234

Nipple

1шт.

8

VOE 931234

Nipple

1шт.

9

VOE 931211

Кольцо уплотнительное (О-кольцо)

1шт.

9

VOE 931211

Кольцо уплотнительное (О-кольцо)

1шт.

Выбрано товаров: 75