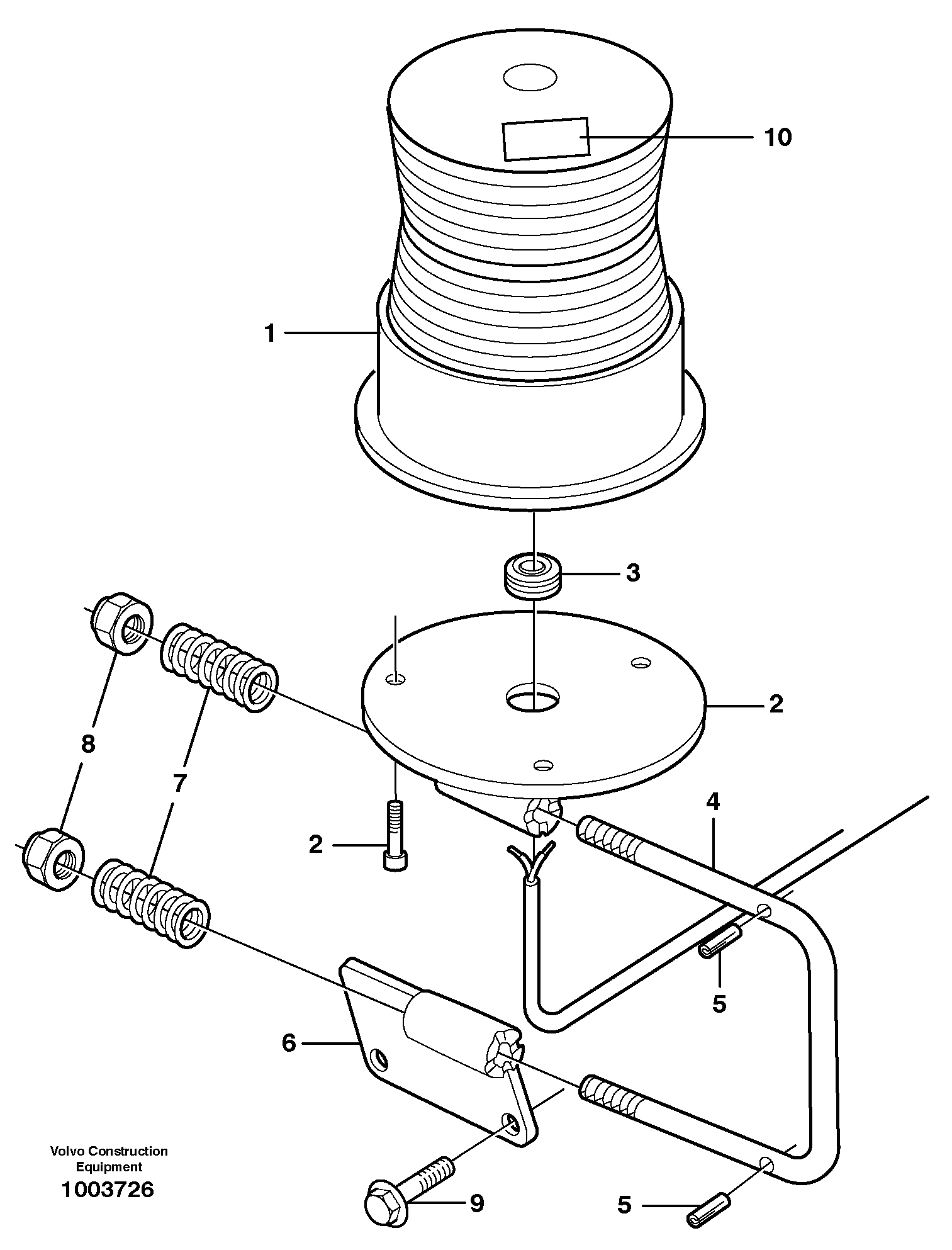
Запчасти Volvo L150E 55481 Revolving warning light L150E S/N 6005 - 7549 S/N 63001 - 63085

Схема запчастей Volvo L150E - 55481 Revolving warning light L150E S/N 6005 - 7549 S/N 63001 - 63085
FIT
1:1
100%

Артикул

Название

Примечание

Количество

VOE 11164585

Release mechanism

1шт.

VOE 11164585

Release mechanism

1шт.

1

VOE 11170087

Rotating beacon

1шт.

1

VOE 11170087

Rotating beacon

1шт.

10

VOE 11104111

Decal

1шт.

10

VOE 11104111

Decal

1шт.

2

VOE 11164581

Attachment

1шт.

3

VOE 941267

Пробка (заглушка)

1шт.

3

VOE 941267

Пробка (заглушка)

1шт.

4

VOE 4763793

Stay

1шт.

4

VOE 4763793

Опора

1шт.

5

VOE 13961647

Палец

1шт.

6

VOE 11104570

Опора

1шт.

6

VOE 11104570

Attachment

1шт.

7

VOE 4935756

Пружина

1шт.

7

VOE 4935756

Пружина

1шт.

8

VOE 13963110

Lock nut

1шт.

8

VOE 13963110

Lock nut

1шт.

9

VOE 946671

Flange screw

1шт.

9

VOE 946671

Flange screw

1шт.

Выбрано товаров: 20