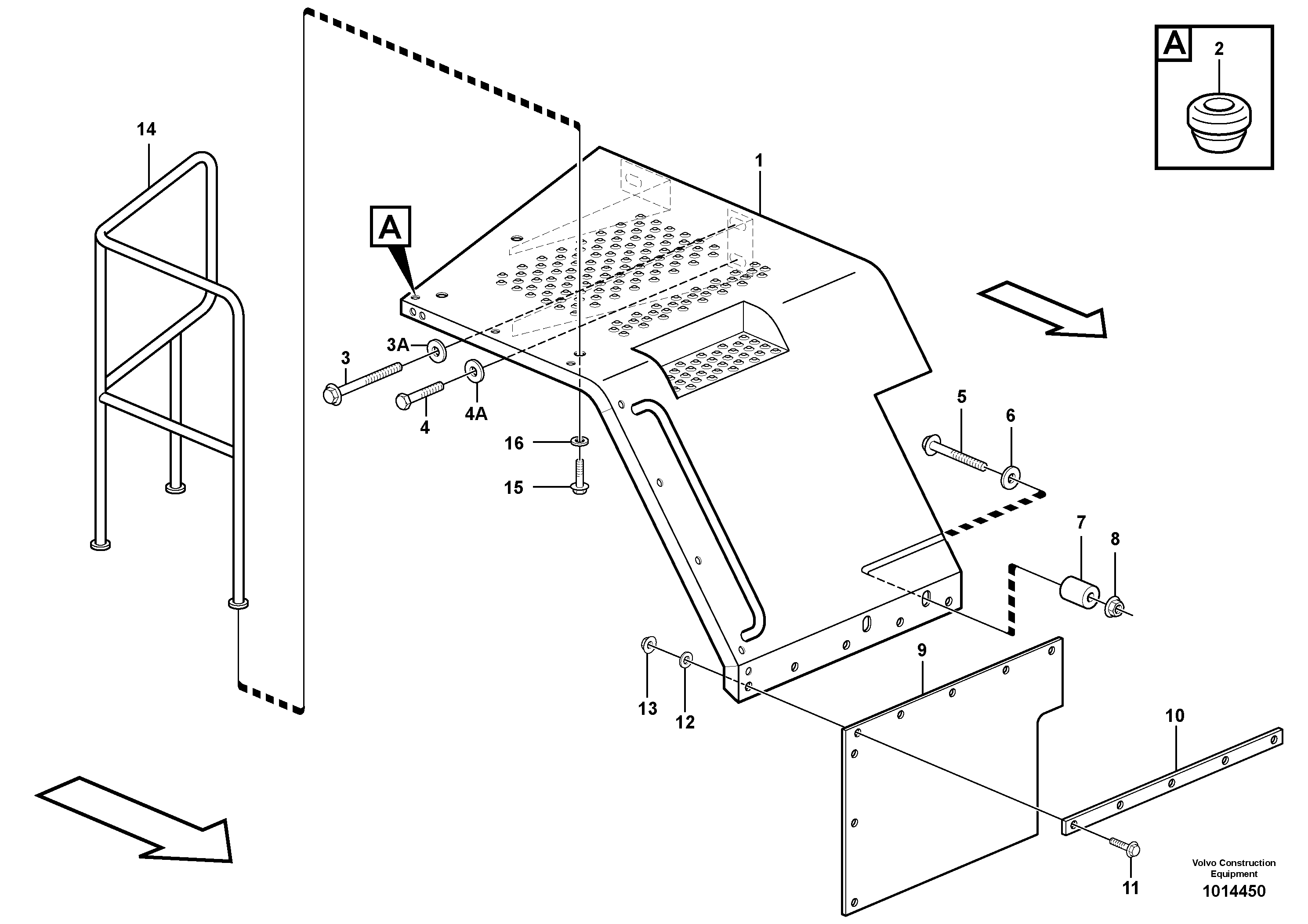
Запчасти Volvo L150E 58394 Fender, rear L150E S/N 6005 - 7549 S/N 63001 - 63085

Схема запчастей Volvo L150E - 58394 Fender, rear L150E S/N 6005 - 7549 S/N 63001 - 63085
FIT
1:1
100%

Артикул

Название

Примечание

Количество

VOE 11148732

Перила

RH

1шт.

VOE 11148730

Rear fender

RH

1шт.

1

VOE 11148729

Rear fender

LH

1шт.

10

VOE 11148740

Attaching Plate

1шт.

11

VOE 946671

Flange screw

1шт.

11

VOE 946671

Flange screw

1шт.

12

VOE 11117464

Шайба

1шт.

12

VOE 11117464

Шайба

1шт.

13

VOE 948645

Flange lock nut

1шт.

13

VOE 948645

Flange lock nut

1шт.

14

VOE 11148731

Перила

LH

1шт.

15

VOE 13965192

Screw

1шт.

15

VOE 13965192

Болт

1шт.

16

VOE 13960145

Шайба

1шт.

16

VOE 13960145

Шайба

1шт.

2

VOE 13974682

Пробка (заглушка)

1шт.

2

VOE 13974682

Пробка (заглушка)

1шт.

3

VOE 13946474

Flange screw

L = 120 MM

1шт.

3A

VOE 13960145

Шайба

1шт.

3A

VOE 13960145

Шайба

1шт.

4

VOE 13965194

Screw

L = 60 MM

1шт.

4

VOE 13965194

Болт

L = 60 MM

1шт.

4B

VOE 13960145

Шайба

1шт.

4B

VOE 13960145

Шайба

1шт.

5

VOE 965195

Flange screw

1шт.

5

VOE 965195

Flange screw

1шт.

6

VOE 13960145

Шайба

1шт.

6

VOE 13960145

Шайба

1шт.

7

VOE 11163123

Вставка

1шт.

8

VOE 971099

Flange lock nut

1шт.

8

VOE 971099

Flange lock nut

1шт.

9

VOE 11148739

Mudflap

1шт.

Выбрано товаров: 32