Запчасти Volvo L150E 14463 Cab mounting block L150E S/N 8001 -

Схема запчастей Volvo L150E - 14463 Cab mounting block L150E S/N 8001 -
FIT
1:1
100%

Артикул

Название

Примечание

Количество

VOE 11164461

Болт

1шт.

VOE 955905

Шайба

1шт.

VOE 955905

Шайба

1шт.

VOE 11164472

Гайка

1шт.

VOE 11164890

Cab suspension

1шт.

VOE 11164891

Cab suspension

1шт.

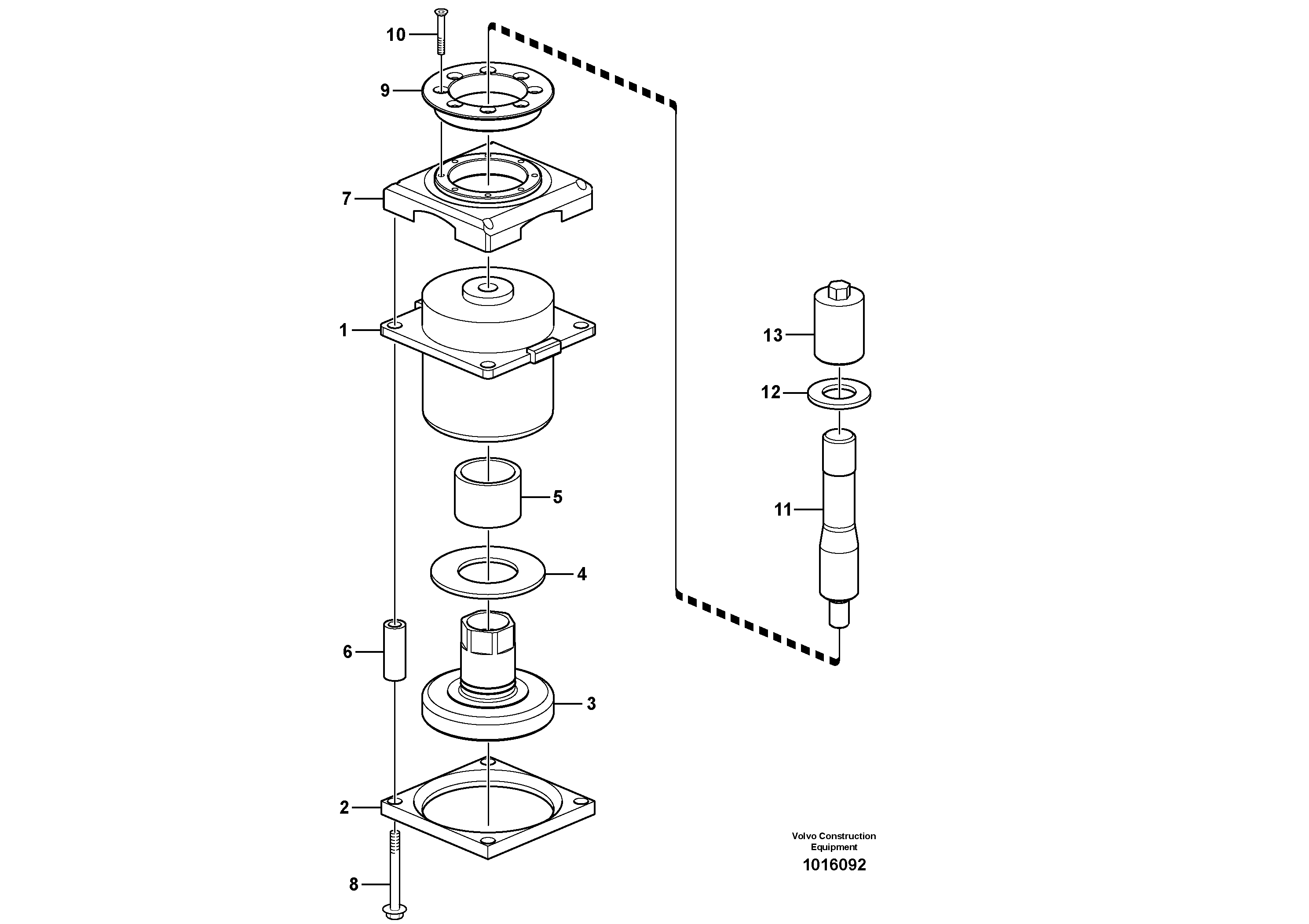
1

VOE 11164432

Cab suspension

1шт.

1

VOE 11164432

Cab suspension

1шт.

10

VOE 969740

Болт

1шт.

11

VOE 11164460

Болт

1шт.

12

VOE 13960149

Шайба

1шт.

12

VOE 13960149

Шайба

1шт.

13

VOE 11164478

Гайка

1шт.

2

VOE 11164476

Support washer

1шт.

3

VOE 11164459

Шайба

1шт.

4

VOE 11164473

Rubber washer

1шт.

5

VOE 11164474

Rubber sleeve

1шт.

6

VOE 11164463

Втулка (распорная)

1шт.

7

VOE 11164646

Адаптер

1шт.

8

VOE 967639

Винт шестигранник (торцевой ключ)

1шт.

8

VOE 967639

Болт

1шт.

9

VOE 11164647

Lock ring

1шт.

Выбрано товаров: 22