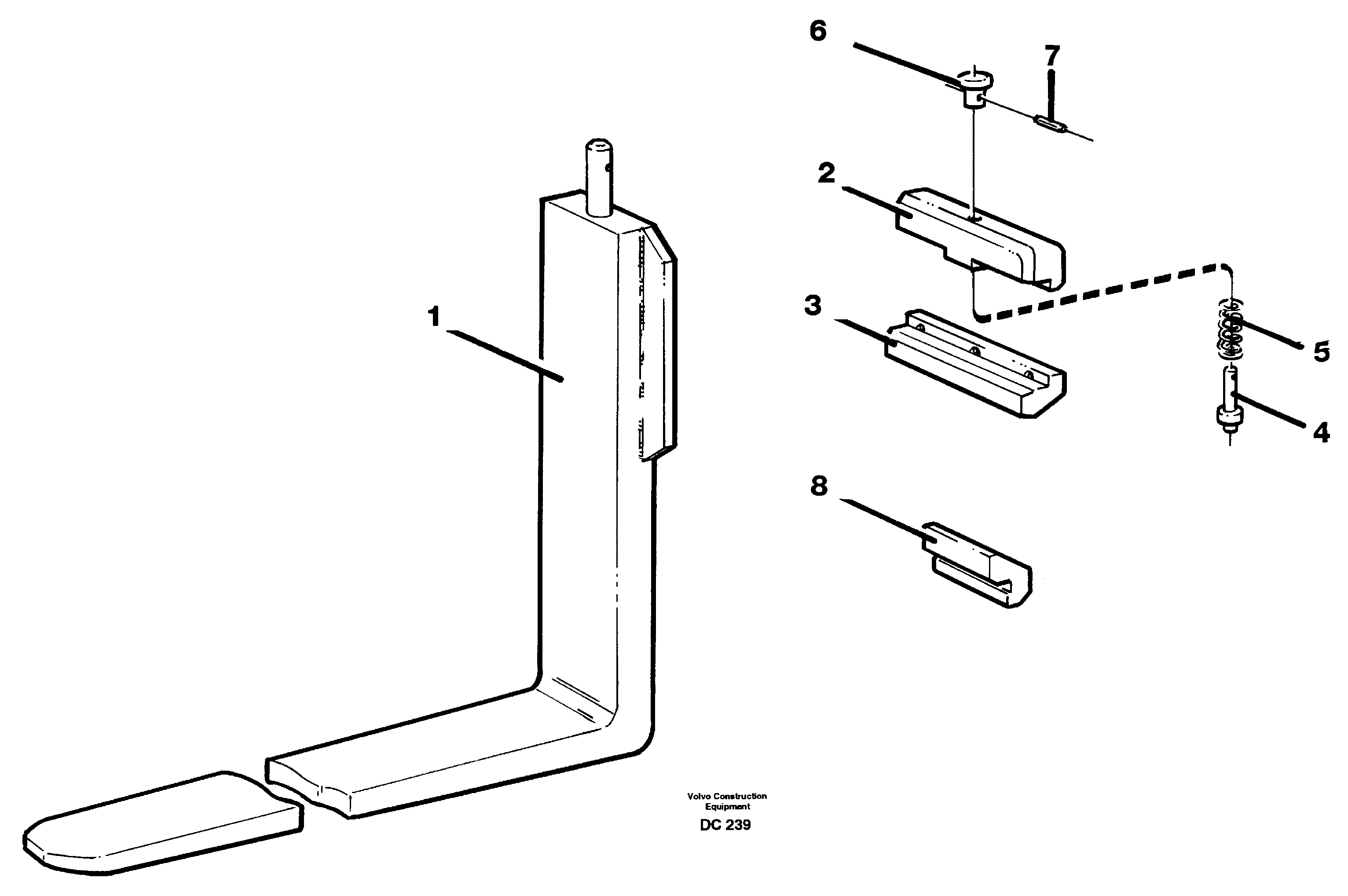
Запчасти Volvo L150E 5200 Fork tines ATTACHMENTS ATTACHMENTS WHEEL LOADERS GEN. D - E

Схема запчастей Volvo L150E - 5200 Fork tines ATTACHMENTS ATTACHMENTS WHEEL LOADERS GEN. D - E
FIT
1:1
100%

Артикул

Название

Примечание

Количество

2

VOE 11111791

Anchorage

1шт.

2

VOE 11111791

Anchorage

1шт.

3

VOE 4888107

Anchorage

1шт.

3

VOE 4888107

Anchorage

1шт.

4

VOE 11142727

Lock Pin

1шт.

5

VOE 11142728

Пружина

1шт.

5

VOE 11142728

Пружина

1шт.

6

VOE 11111317

Knob

1шт.

6

VOE 11111317

Knob

1шт.

7

VOE 13951981

Spring pin

1шт.

7

VOE 13951981

Spring pin

1шт.

8

VOE 11010016

Anchorage

1шт.

8

VOE 11010016

Anchorage

1шт.

Выбрано товаров: 13