Запчасти Volvo L150E 5125 Гидроцилиндр ATTACHMENTS ATTACHMENTS WHEEL LOADERS GEN. D - E

Схема запчастей Volvo L150E - 5125 Гидроцилиндр ATTACHMENTS ATTACHMENTS WHEEL LOADERS GEN. D - E
FIT
1:1
100%

Артикул

Название

Примечание

Количество

VOE 11045352

Гидроцилиндр

1шт.

VOE 11704250

Sealing kit

1шт.

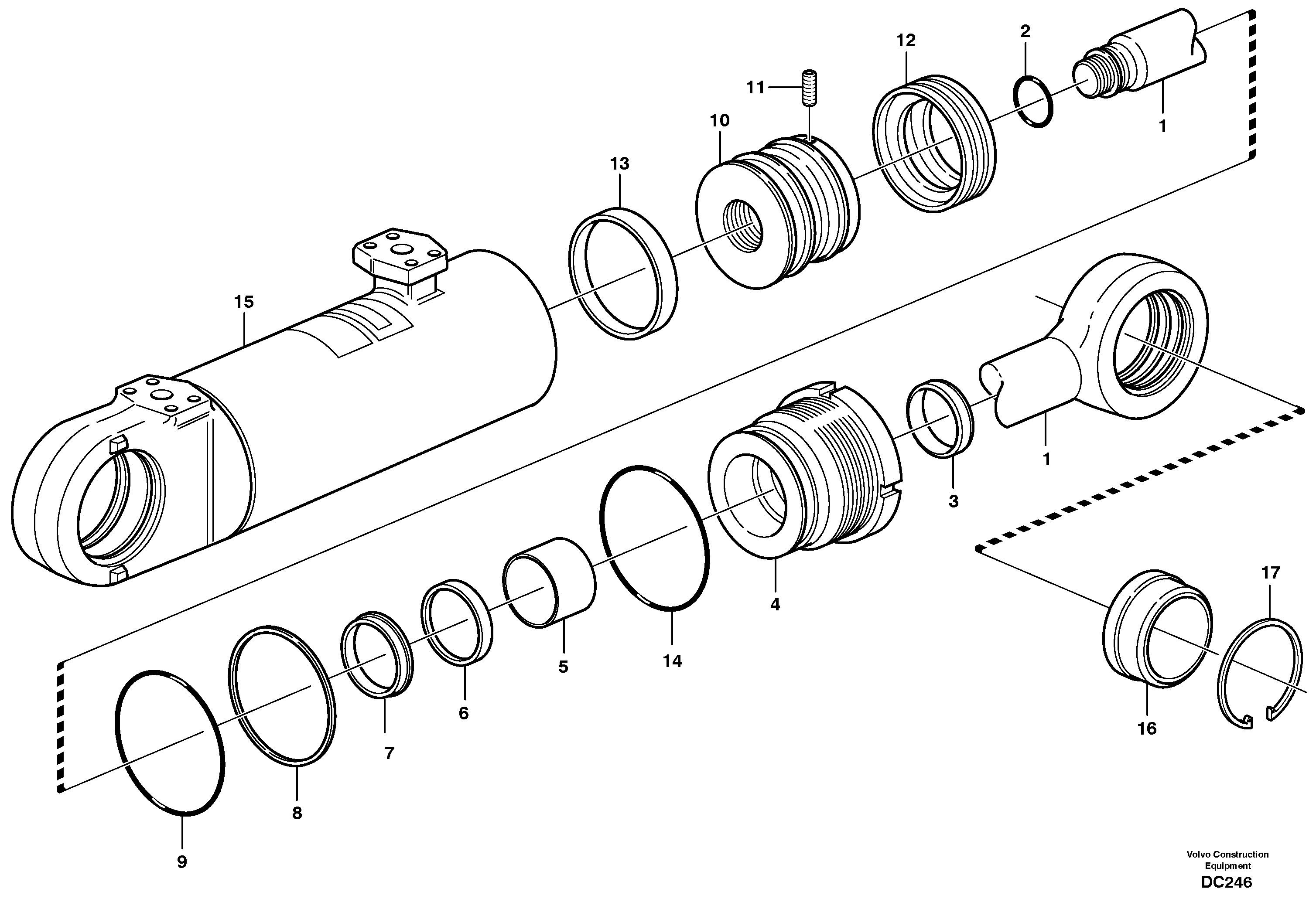
1

VOE 11704167

Шток поршня

1шт.

10

VOE 11704173

Поршень

1шт.

11

VOE 11704170

Lock screw

1шт.

12

VOE 11704172

Piston seal

1шт.

13

VOE 11704174

Guide ring

1шт.

14

VOE 11704161

Кольцо уплотнительное (О-кольцо)

1шт.

15

VOE 11704169

Cylinder tube

1шт.

16

VOE 184179

Spherical plain bearing

1шт.

16

VOE 184179

Spherical plain bearing

1шт.

17

VOE 11704157

Retaining ring

1шт.

2

VOE 11704171

Кольцо уплотнительное (О-кольцо)

1шт.

3

VOE 11704159

Scraper

1шт.

4

VOE 11704160

Стакан штока поршня (направляющая)

1шт.

5

VOE 11704162

Guide ring

1шт.

6

VOE 11704163

Уплотнение штока поршня

1шт.

7

VOE 11704164

Lock ring

1шт.

8

VOE 11704165

Back-up ring

1шт.

9

VOE 11704166

Кольцо уплотнительное (О-кольцо)

1шт.

Выбрано товаров: 20